YouTube博主瑞典女孩Simone Giertz已经等不及马斯克发布特斯拉的皮卡车,把后备箱和车顶顶的后部切掉:
Giertz将Model 3改装成了一个皮卡车,她称之为“Truckla”。
Simone Giertz现在不用着急了,特斯拉的SUV真的来了,它就是Model Y。外界一直疯传Model Y采用单件铸造法制造Model Y车型,在一度的猜测之中,Model Y 也成了个特斯拉有史以来内外认知最割裂的一款产品。
早年,美国工程咨询公司 Munro & Associates CEO Sandy Munro 耗时 6600 个工时,逆向拆解了两台 Model 3。同时,这家公司老工程师和他的团队分别拆解了特斯拉Model3、宝马i3、雪佛兰Bolt,并做了比较,发现了特斯拉Model3的致命设计缺陷:车身、重量,以及搭配的隔板设计时都没有考虑可制造性,Model 3 的白车身存在严重的过度设计。
特斯拉的初衷是,通过各个部位结构件的加强设计来提升 Model 3 的被动安全性。2018 年 4 月,Elon 接受 CBS 采访,首次承认了 Model 3 的制造复杂度让全自动化产线难堪重任,人在制造环节的作用被低估了。Elon 没说的是,因为白车身制造的复杂度,Model 3 白车身负责人已经被他解雇了。
无疑,Model Y肯定要突破Model 3 的设计。
日前,特斯拉CEO埃隆-马斯克(Elon Musk)在大肆宣传即将在德国制造的特斯拉Model Y时声称,这将是“汽车车身工程的一场革命”。马斯克表示,特斯拉成功地将Model 3中的70个零件整合成了Model Y中的2个零件,这一重大改进只是一个开始。
特斯拉计划在其整个电动车产品线中更广泛地使用其新的超大型铸造技术。2019年提交的一份专利申请显示了特斯拉用于制造Model Y的这种新型铸造机。现在,马斯克表示,即将在柏林Gigafactory制造的Model Y汽车将更广泛地使用这项技术。
特斯拉的全新专利:用于车架和相关方法的多方向一体式铸造机。通过这个一体式铸造机,Model Y 的车身将由 70 个零件减少到 1 个,大大减少了将所有零件组装在一起的资本支出。
用特斯拉的话来说,通常情况下,白车身是通过分别使用多台压铸机来制造出车身的不同部件。比如,工厂中的一种压铸机可能专用于某个部件。当这些部件都生产出来后,需要由工人或机器人将他们焊接在一起,从而形成一整个白车身。
而这些单独的部件也将带来问题,比如说,压铸的机器负责一个部件,那么多个部件就要使用到多个机器。这样一来,在制造的过程中将产生更多的资金成本和时间成本。所以特斯拉发明了这一专利,可以减少制造相关的成本,包括但不限于工厂运营成本、工具成本(设备数量)、时间成本、人工成本。分为两大块的话,还是减少时间成本和资金成本。
该专利描述的是一台多向铸造机,其可用于铸造一体式车身,更具体地说,是用于制造电动车的一体式车身。车身的多个部分可以一体化制造,不需要进一步的组装和焊接。总的来说,这可以减少车身的零件数量和操作步骤。
简单来说,就是将大大小小的车架零件集成到一起,形成一体的大模块,比如说,直接浇铸一个车身的整个侧面。然后通过自动化组装这几个大模块,再进行焊接,成为了一个整白车身。这样一来减少中间的环节,进一步加快效率。

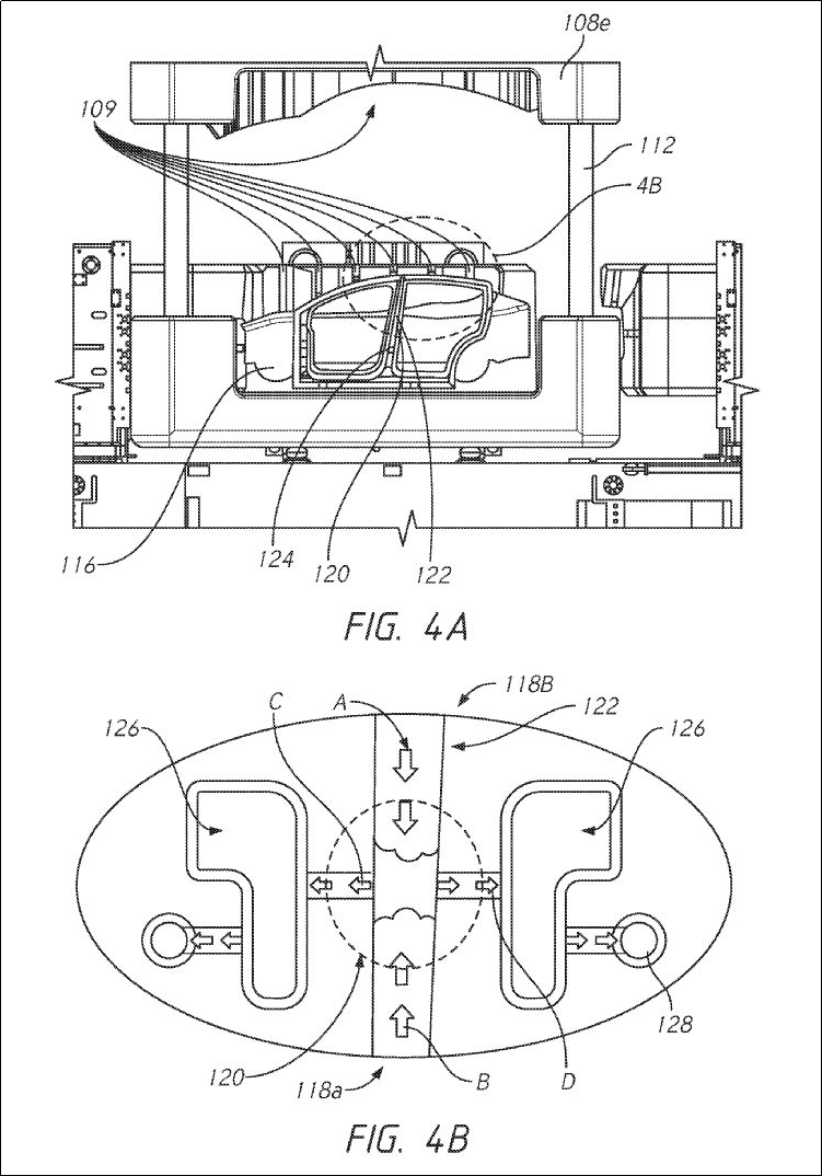
然后具体看一下专利图,专利中描述的操作步骤比较复杂。但简单点来说,就是先将车身拆分为几个大模块分别制造,这几个大模块由图中上、左、右、前、后的机器来完成,我们暂且将这几个机器比喻为 5 个工人。
5 个工人把这几大模块制造完成后,将模块们拼合在一起,从而得到一个白车身半成品。接着再通过少量的焊接,将他们连接起来,就成了一个完整的白车身。
至于这5 个工人是如何制造白车身的各大模块,专利中表示将使用浇铸的方法。也就是说,这五个工人各有一个模具,通过将熔化的金属注入模具中,从而得到白车身的各个模块,然后进行拼合。
据报道,2020年8月5日,特斯拉的巨型 Model Y 铸造机在加利福尼亚州的弗里蒙特工厂首次现身。
据特斯拉8月13日的消息,弗里蒙特工厂马上就会启动世界上最大的一体式铸造机,这个monster可以大幅度简化Model Y的制造过程,让大规模量产的特斯拉成本再度降低。
传统的汽车厂商建造四大车间--冲压、焊接、涂装和总装,通常要花费数年时间,而马斯克在遇到产能瓶颈时,直接搭了个棚子就开搞了。
这顶临时帐篷,就是特斯拉的生产线。马斯克亲自驻守特斯拉弗莱蒙特工厂,24小时督战,喝拉撒都在里面,让特斯拉的周产能快速飙升至5000辆。
在加州弗里蒙特工厂制造的Model Y,其特点是在尾部有大量的铸造部件,这得益于其对大型铸造件的工艺突破。马斯克表示,特斯拉成功地将Model 3中的70个零件整合成了Model Y中的2个零件。
Model Y车身的轮拱内侧以及车身横梁的蜂窝状结构与凯迪拉克的CT6车身上蜂窝结构很相似,应该为铸造工艺。
当有了大型铸造机时,车身零部件将更为减少。车身框架通过这台巨大的铸造机可以直接整体成型,达到“70合1”的效果(特斯拉技术宣传)。车身制造工艺转为铸件设计后,将大幅缩减组装机器人的设计和支出,这样一来,就可以更快地进行批量的自动化生产。
过去三年里,特斯拉为强推自动化付出了超 20 亿美元沉没投入,公司一度命悬一线的代价;Model 3 刚刚站稳全球市场,特斯拉立刻卷土重来?甚至考虑到专利申请的时间,特斯拉似乎是一边填旧坑,一边挖新坑。
不管怎么说,其它车企听到这个消息后不知道感受如何。。。
[1]新智元:特斯拉启动史上最大单体铸造机,Model Y将一体成型不怕撞车!
[2]42号车库:Model Y 提前交付背后:特斯拉克服最后一块短板
[3]42号车库:特斯拉 Model Y:你所不知道的一切
[4]界面新闻:马斯克称,在德国生产的Model Y将采用“突破性的车身工艺”
[5]电动星球News:特斯拉Model Y的制造成本可能比想像中的还低
[6]懂车老王:Model Y铸造车身是噱头还是有用的东西?
[7]南波湾字幕组:工程师团队拆解特斯拉Model3 发现致命缺陷
文章来源:数控编程网