油浸变压器油枕的结构和原理





油枕是用于变压器的一种储油装置,其作用是当变压器由于负荷增大,油温升高,油箱内油膨胀,这时过多的油就会流入油枕。反之温度降低时,油枕内的油会再流入油箱,起到自动调整油面的作用,也就是油枕起储油和补油作用,能保证油箱内充满油。同时由于装备了油枕,使变压器与空气的接触面减小,且从空气中吸收的水分、灰尘和氧化后的油垢都沉积在油枕底部的沉积器中,从而大大减缓变压器油的劣化速度。

油浸变压器油枕的结构和原理的图1
图1 主变油枕

油枕的结构:油枕的主体是用钢板焊接成的圆筒形的容器,其容积大约为油箱容积的10%。油枕水平安装在油箱的顶部,里面的油通过气体继电器的连通管道与变压器油箱连通,使油面能够随着温度的变化而自由地升降。正常情况时,油枕内的最低油面应高过高压套管的升高座,对于装有连通型结构的套管,油枕内的最低油面应高过套管的顶部。在油枕的侧面装有玻璃油位计(或油位表),能随时观察到油枕内油位的变化情况。
变压器油枕有三种形式:波纹式、胶囊式、隔膜式。
1、胶囊式油枕,里面用橡胶胶囊将变压器油与外部大气隔开,并给变压器油提供热胀冷缩的空间。
2、隔膜式油枕,用橡胶隔膜将变压器油与外部大气隔开,并给变压器油提供热胀冷缩的空间。
3、波纹式油枕,用金属波纹片组成的金属膨胀器将变压器油与外部大气隔开,并给变压器油提供热胀冷缩的空间。波纹式油枕分为内油式和外油式两种,内油式性能较好,但体积较大。
胶囊式油枕
在油枕内装设一个耐油的尼龙橡胶隔膜袋,隔膜袋内侧经过吸湿器(呼吸器)与大气相通,外侧与绝缘油接触。当变压器油箱内的油温升高而膨胀时,油枕内的油面也上升,隔膜袋向外排气。反之,油枕内的油面下降时,隔膜袋从外面吸气,自动平衡袋子内外侧的压力。在油枕的吸气和排气过程中绝缘油与大气不直接接触。此外,取消了油枕与防爆筒之间的联管,使防爆筒的油面高度降低到油枕最低油位,(或取消防爆筒,改为压力释放器)。这样,在油枕底部装设的一个耐油橡胶薄膜制成的压油袋,把油枕与油标显示的油隔开,压油袋经常承受向外的压力,防止大气渗进油箱,油箱就成为完全密封了。隔膜式密封油枕的结构,除此之外与普通油枕的结构基本相同。如果隔膜袋发生裂痕,那么密封式油枕便成为一般的油枕运行了。
油浸变压器油枕的结构和原理的图2
 图2 胶囊式油枕
油浸变压器油枕的结构和原理的图3
图3 胶囊式油枕呼气
油浸变压器油枕的结构和原理的图4
图4 胶囊式油枕吸气
油浸变压器油枕的结构和原理的图5
图5 胶囊式油枕实物
油浸变压器油枕的结构和原理的图6
图6 油位计
油浸变压器油枕的结构和原理的图7
图7 管式油位计

油浸变压器油枕的结构和原理的图8
图8 管式油位计实物

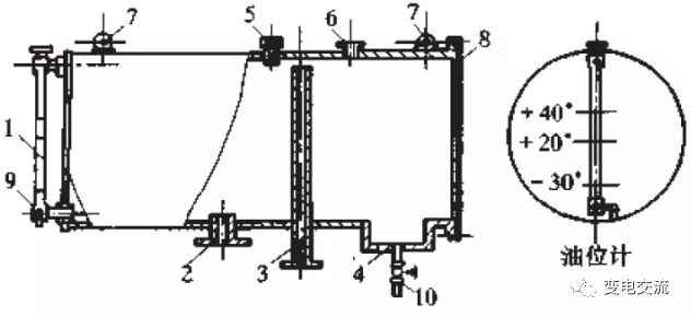
油浸变压器油枕的结构和原理的图9
1-油位计;2-气体继电器连通导管的法兰;3-吸湿器连通管;4-集污盒;
5-注油孔;6-与防爆管连通的法兰;7-吊环;8-端盖;9、10-阀门
油位的标志位置一般温度为-30℃时,高度为储油柜直径的0.15D; +20℃时为0.45D,+40℃时为0.55D。
图9 油位计读数
隔膜式油枕
隔膜式油枕为两个半园柱体组成,柜内有一个半圆式薄膜,薄膜周边固定在柜沿上,薄膜浮在油面上,随着油面的变动而浮动,使油面与大气分开。
油浸变压器油枕的结构和原理的图10
图10 隔膜式油枕

油浸变压器油枕的结构和原理的图11
图11 隔膜式油枕呼气

油浸变压器油枕的结构和原理的图12
图12 隔膜式油枕吸气
对于隔膜式油枕,可安装磁力式油表,油表连杆机构的滚轮在薄膜上不受任何阻力,能自由、灵活地伸长与缩短。磁力表上部有接线盒,内部有开关,当油枕的油面出现最高或最低位置时,开关自动闭合,发出报警信号。
油浸变压器油枕的结构和原理的图13
图13磁力式油表
油浸变压器油枕的结构和原理的图14
图14 油位曲线

波纹式油枕
采用先进的不锈钢波纹管补偿技术,代替老式油枕中的胶囊,实现对变压器绝缘油体积补偿和与外界隔离,防止吸湿氧化绝缘油。升温体积膨胀时,波纹管被压缩,移向固定端;油位过高时,波纹管压缩到一定程度报警;绝缘油降温体积收缩时,波纹管在大气作用下自行伸长。波纹式油枕又可分为外油式和内油式两种。
油浸变压器油枕的结构和原理的图15
图15 波纹式油枕
油浸变压器油枕的结构和原理的图16
图16 波纹式油枕呼气

油浸变压器油枕的结构和原理的图17
图17 波纹式油枕吸气
油浸变压器油枕的结构和原理的图18
图18 外油式波纹油枕
油浸变压器油枕的结构和原理的图19
图19 外油式波纹油枕

来源:电圈360
登录后免费查看全文
立即登录
App下载
技术邻APP
工程师必备
  • 项目客服
  • 培训客服
  • 平台客服

TOP

1