来源:汽车半导体情报局
不过最近几十年来,它已被用作电子材料,最初用于发光二极管(LED),最近又被用于电力电子设备,包括肖特基势垒二极管(SBD),结型场效应晶体管(JFET)和MOSFET晶体管。由于SiC MOSFET具有取代现有的硅超级结(SJ)晶体管和集成栅双极晶体管(IGBT)技术的潜力,因此受到了特别的关注。
多年之前碳化硅的半导体器件潜力已为人所知。在1962年Lloyde Wallace获得了专利(US3254280A),这是一种碳化硅单极晶体管器件。它本质上是一个结型场效应晶体管。图1显示了Lloyde 1962年专利的图。在P型SiC主体中形成N型沟道区域。源极/漏极触点形成到N型沟道。栅极结构位于源极和漏极之间,并且相应的栅电极位于SiC衬底的底侧。目前,UnitedSiC正在生产基于碳化硅的JFET ,尽管它们是为了提高性能而基于垂直设计,其中源极和栅极位于SiC裸片的顶部,而漏极位于背面。

图1从US3254280A(碳化硅单极晶体管)
1989年,北卡罗来纳州立大学(NCSU)的B. Jayant Baliga首次描述了将SiC用于电力电子设备的好处1。Baliga在通用电气期间发明了IGB。他现在是NCSU的杰出大学教授。他得出了一个称为BHFFOM的品质因数,该品质因数表明可以通过使用具有更大迁移率和更高临界击穿场的半导体(例如SiC甚至钻石)来减少功率损耗。在这段时间出现了一系列与碳化硅的电力半导体应用相关的专利。
当时的主要发明者之一是约翰·帕尔默(John Palmour),他于1987年在北卡罗莱纳州的三角研究园共同创立了Cree。现在他是电源和射频技术的首席技术官。Cree一直是SiC功率器件技术的主要驱动力之一。当他还在NCSU时,还是一名研究生,他在1987年申请了一项重要专利,该专利导致了SiC基MOSFET晶体管的发明。
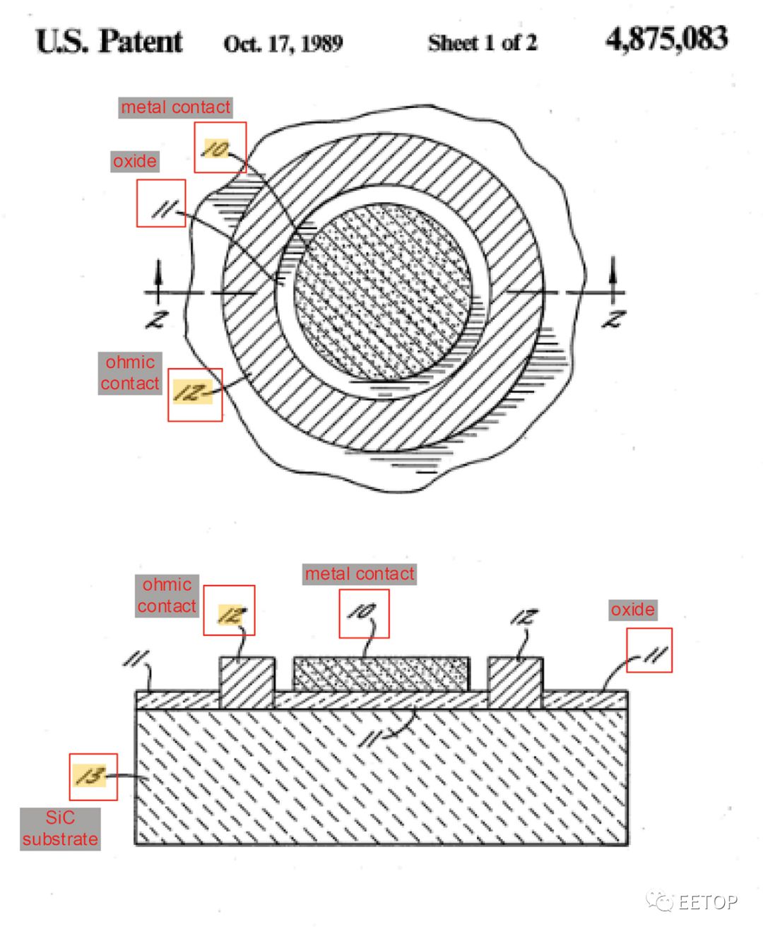
该开创性专利(US4875083A)涉及在SiC衬底上形成MOS电容器结构。
现摘录1987年此项专利发表的简介,描述了当时SiC的发展状况:
碳化硅一直是半导体器件的候选材料。长期以来,碳化硅一直被认为具有独特的特性,这使得它具有比其他常用半导体材料如硅(Si)、砷化镓(GaAs)和磷化铟(InP)形成的半导体器件更优越的特性。碳化硅具有宽的带隙、高的熔点、低的介电常数、高的击穿场强、高的导热系数和高的饱和电子漂移速度。这些特性使碳化硅制成的器件有可能在更高的温度、更近的距离、更高的功率级别以及其他一些由其他半导体材料制成的器件根本无法工作的情况下工作。
尽管具有这些已知的特性,但由碳化硅制成的高质量商用设备尚未问世。碳化硅是一种非常难处理的材料,它可以在150多种不同的多型中结晶。因此,在半导体材料上制造电子器件所需的单个多型或特定多型碳化硅薄膜的大型单晶仍然是一个难以实现的目标。
但是,最近,该领域已经取得了许多进展,这首次使在碳化硅上生产商业品质的电子设备成为可能。
然而,最近在这一领域取得了一些进展,使商用优质碳化硅电子器件的生产首次成为可能。
本专利图1和图2展示了所述MOS电容器的结构,如下图2所示。该电容器是由一个圆形欧姆接触到掺杂的碳化硅衬底与中心圆形金属接触在一层氧化物。由于底层SiC中的载流子损耗,电容随外加电压的变化而变化。MOS电容结构是形成MOSFET晶体管的关键。

图2: 来自US4875083A(在碳化硅上形成的金属绝缘体-半导体电容器)
奇怪的是,在SiC衬底上,一个描述简单的平面MOSFET晶体管的装置专利似乎并不存在。很可能,这个概念在当时会被认为是显而易见的,不需要申请专利。还有一些专利描述在碳化硅衬底上制造MOSFET晶体管的方法,描述了基本结构简单MOSFET结构的变化。例如,Yoshihisa Fujii,Akira Suzuki和Katsuki Furukawa 在1990年提交US5170231A,描述了一种具有不对称源/漏电导率的SiC MOSFET。此后不久,1992年,约翰·帕尔默(John Palmour)申请了开创性专利(US5506421A),描述了垂直沟槽栅极SiC MOSFET的结构。该申请是在1996年批准的,现在已经超过20年了,因此该专利已经过期,所描述的概念现在已经进入公有领域。但是,在此专利之后有许多与SiC MOSFET相关的专利仍然有效。例如,搜索显示Cree拥有700多项与SiC MOSFET技术相关的有效专利。
US5506421A所示的垂直沟道SiC MOSFET的结构如下图3所示。该专利声称垂直功率MOSFET具有低导通电阻和高温范围,形成于碳化硅衬底的C面,类似于N型。在衬底上方形成N-漂移层,然后是P-沟道层。沟槽栅极穿透P-沟道层,并且形成N +源极区。金属源电极和漏电极分别位于管芯的顶部和底部。这种沟槽架构有时称为UMOS(U形栅极),以区别于平面DMOS(漂移MOS)设计。

图3 US5506421A(功率MOSFET在碳化硅)
到了2011年, Cree推出了市场上第一个SiC功率MOSFET,即CMF20120D器件。CMF20120D是垂直N沟道增强型SiC MOSFET。图4显示了CMF20120D器件中的平面晶体管栅极的横截面SEM显微照片。在此SEM显微照片中描绘了N +源和P型身体植入物。

图4 Cree CMF20120D碳化硅平面MOSFET横截面
自2010年以来,碳化硅功率MOSFET市场显著扩大,现在每年超过2亿美元。随着SiC在汽车、光伏、铁路等多个市场取代硅技术,许多新的参与者已经进入市场,有望实现两位数的复合年增长率。通常,SiC 功率MOSFET的工作电压为1200或1700 V,旨在取代IGBT技术。最近发布了650 V SiC MOSFET器件,其目标可能是与硅超级结和基于GaN的技术竞争。
看来Cree仍继续专注于平面SiC MOSFET技术。但是,包括英飞凌和罗姆在内的其他厂商在采用沟槽或UMOS技术。相比之下,意法半导体(STMicroelectronics)也专注于平面SiC MOSFET技术。图5显示了在罗姆 SCT3022AL 650 V SiCN沟道MOSFET 上发现的沟槽栅极的横截面SEM显微照片。
图5与US5506421A的权利要求1的比较表明,罗姆 SCT3022AL使用了John Palmour精沟槽SiC MOSFET专利中的许多功能。例如,SEM图像显示沟槽,绝缘层和栅电极的存在。

图5 Rohm SCT3022AL 650 V SiC MOSFET横截面
碳化硅是一种颠覆性的技术,随着在各种关键电力电子市场上它正在取代硅基技术的地位,正开始受到市场的关注。。自20世纪80年代中期以来,关键发明家所做的创新工作使这成为可能。据预测,到2025年,SiC电力电子市场规模将超过10亿美元,并且可能会更早。
尽管与器件相关的 SiC 材料研究自上世纪 70 年代以来一直在进行,但 SiC 在功率器件中使用的可能是由 Baliga 在 1989 年正式提出的。Baliga 的品质因数为有抱负的材料和器件科学家继续推进 SiC 晶体发展和器件处理技术提供了额外的动力。在 20 世纪 80 年代末,为提高 SiC 基板和六角碳化硅外延的质量,世界各地的科研院校都付出了巨大的努力,如日本的京都大学和工业技术院、俄罗斯的约飞研究所、欧洲的埃朗根和林雪平大学、美国的纽约大学石溪分校、卡内基梅隆大学、和普渡大学等等。技术改进在 90 年代大部分时间里都在持续,直到 Infineon
(英飞凌)
于 2001 年以碳化硅肖特基二极管的形式推出了第一款商业化器件。
在他们发布产品之后的几年里,碳化硅肖特基二极管经历了源于材料质量和器件架构的现场故障。为提高基板和外延的质量,取得了快速而又巨大的进步;同时,采用了一种可以更有效地分布峰值电场的被称为“势垒肖特基结
(JBS)
”的二极管构架。2006年,JBS 二极管演化为现在被称为合并的 p-n 肖特基
(MPS)
结构,这种结构保持了最优的场分布,但也通过合并真正的少数载流子注入实现了增强的缓冲能力。今天,碳化硅二极管是那么的可靠,以至于它们比硅功率二极管显示出更有利的 FIT 率。
第一款向市场投放的碳化硅功率晶体管是在 2008 年以 1200 伏结场效应晶体管
(JFET)
的形式出现的。SemiSouth 实验室遵循了 JFET 的方法,因为当时,双极结晶体管
(BJT)
和 MOSFET 替代器件存在着被认为无法克服的障碍。虽然 BJT 有令人印象深刻的每活跃区域电流的数据,但这种器件有三大缺点:其一,开关 BJT 器件所需的高电流被许多习惯于使用像 MOSFET 或 IGBT 等电压控制器件的设计者所反对。其二,BJT 的驱动电流是在一个具有巨大内建电势的基射结上传导的,从而导致巨大的功率损耗。其三,由于 BJT 的双极动作,它特别容易受到一种被称为双极退化的器件消磨现象的影响。
图 1:(a) 正极,VGS = +25 V,和 (b) 负极,VGS = -10 V,对从三个不同的晶片批次中抽取的 77 个
器件在 175°C 下进行 2300 小时的高温栅极偏置(HTGB)压力测试 。观察到在阈值上可忽略不计的偏差。
另一方面,JFET 的应用由于它是一种常开器件的事实而受到阻碍,这会吓跑许多电力电子设计师和安规工程师。当然可以围绕这个方面进行设计,但是简单性和设计精致是工程世界中被低估的美德。SemiSouth 也有一种常关的 JFET 器件,但事实证明这种器件很难进行批量生产。今天,USCi 公司提供了一种采用共源共栅配置的与低电压硅 MOSFET 一同封装的常开 SiCJFET 器件,成为了许多应用的一种精致的解决方案。尽管如此,由于 MOSFET 在控制上与 硅 IGBT 的相似性,但是具有前述的在性能和系统效益方面优势,MOSFET 一直是碳化硅功率器件的‘圣杯’。
SiCMOSFET 有它的一些问题,其中大部分与栅氧化层直接相关。1978 年,科罗拉多州立大学的研究人员测量出了纯 SiC 和生长的 SiO2之间的一个混乱的过渡区域,这是第一次观察到的麻烦预兆。这样的过渡区域被认为具有抑制载流子移动并导致阈值电压不稳定的高密度的界面状态和氧化物陷阱;这在后来被大量的研究出版物证明的确如此。20 世纪 80 年代末和 90 年代,SiC 研究领域的许多人对 SiC-SiO2 系统中的各种界面状态的性质进行了进一步的研究。
20 世纪 90 年代末和 21 世纪初期的研究使得对界面状态
(密度缩写为 Dit)
来源的理解以及减少这些来源并减轻它们的负面影响有了显著的提高。举几个值得注意的发现,研究观察到湿润环境中的氧化
(即,使用水作为氧化剂而不是干燥的氧气)
将 Dit 降低两到三个数量级。此外,研究发现使用离轴基板将 Dit 降低至少一个数量级。最后一项也非常重要,一氧化碳中后氧化退火
(一种通常成为氮化的方法)
的效果在 1997 年首先由 Li 及其同事发现,可以将 Dit 降低到非常低的水平。这一发现随后又被六七个其他小组确认,Pantelides 的一篇论文很好地对这一系列研究工作进行了总结。当然,如果不去强调单晶生长和晶圆研究界所做的重大贡献将是非常过份的疏忽,之前我们只有纯粹的莱氏片晶,他们为我们带来了的几乎没有设备损伤性微管的 150 毫米晶圆。
由于有希望的供应商正在忙于推进商业化,在接下来的几年中关于 SiC MOSFET 的研究进展有所减缓。然而,为了进一步提高钳位电压稳定性以及过程增强和筛选以确保可靠的栅极氧化物和器件鉴定的完成,为最终的改进已做好了准备。实质上,SiC 研究界离发现圣杯越来越近了。
在过去的两年里,市售的 1200V SiC MOSFET 在质量方面走过了很长的一段路。沟道迁移率已经提高到适当的水平;大多数主流工业设计的氧化物寿命达到了可接受的水平;阈值电压变得越来越稳定。从商业角度来看同样重要的是,多家供应商已经迎来了这些里程碑,下一节将对其重要性进行论述。在这里,我们将 证实今天的 SiCMOSFET 质量的要求,包括长期可靠性、参数稳定性和器件耐用性。
采用加速的时间依赖性介质击穿
(TDDB)
技术,NIST 的研究人员预测出 Monolith Semiconductor 公司的 MOS 技术的氧化物寿命超过 100 年,即使实在高于 200 摄氏度的结温下也是如此。NIST 的研究工作使用了在氧化物上外加电场
(大于 9 MV/cm)
和结温
(高达 300 °C)
的寿命加速因数;作为参考,在实际应用中的氧化物电场约为 4 MV/cm
(相当于 VGS = 20 V),
并且工作中的结温通常低于 175 摄氏度。值得注意的是,虽然在硅 MOS 中常见温度依赖性的加速因数,但是在使用 Monolith Semiconductor 公司的器件进行研究之前,NIST尚未看到 SiC MOS 有这种情况。然后,阈值电压稳定性也得到了令人信服的证明,如图 1 所示。在 175 摄氏度结温和低于负
(VGS = -10 V)
和正
(VGS = 25 V)
栅极电压的条件下进行了高温栅偏置测试
(HTGB)
。根据 JEDEC 标准,对三个不同晶圆批次的 77 只器件进行了测试,并没有观察到显著的变化。
证明长期稳定性的另一个参数集是 MOSFET 的阻断电压和断态漏电。图 2 显示的是高温反向偏置
(HTRB)
测试数据。在 VDS = 960 V 和 Tj = 175 C 的条件下,超过八十个样品被施加 1000 小时应力,后应力测量结果显示漏极漏电和阻断电压上没有变化。关于器件的耐用性,图 3 和图 4 所示的初步测量结果显示出至少 5 微秒的
短路耐受时间和 1 焦的雪崩能量。
图 2:在 VDS = 960 V 和 Tj = 175 °C 的条件下 82 个样品施加 1000 小时应力后的高温反向偏置测试数据,表明在 (a)VDS = 1200 V 时的漏极泄漏和(b)ID = 250 μA 时的阻断电压无变化。
虽然我们无法证明其他制造商产品的长期可靠性或耐用性,但是我们可以说,根据我们对市售的 SiC MOSFET 的评估,如今市场上似乎有多家供应商能够供应生产水平量的 SiC MOSFET。这些器件似乎具有可接受的可靠性和参数稳定性,这必定会激励主流的商业应用。
图 3:在 600V 直流链路和 VGS = 20V 的条件下对 1200V、80 mΩSiC MOSFET 进行的短路测试,表明耐受时间至少为 5 μs。
图 4:对 1200V、80 mΩ SiC MOSFET进行的雪崩耐久性测试,表明 Ipeak = 12.6 A 和 L = 20 mH的器件安全吸收的能量为 1.4 焦。
除了质量的改善外,近几年来,商业化进程取得了巨大的进步。除了创造有利于供应商和用户的竞争格局之外,有多家 SiC MOSFET 供应商可以满足对第二供应商的担忧。如前所述,鉴于器件的漫长演进过程,多家 SiC MOSFET 供应商拥有足够可靠的器件的事实是一次巨大的进步。经许可转自 Yole Développement 的《2016 功率 SiC》报告的图 5,显示出截至 2016 年 7 月各供应商的 SiC MOSFET 活动。Wolfspeed、ROHM、ST Microelectronics 和 Microsemi 均推出了市售的零部件;业界很快能够看到来自 Littelfuse 和英飞凌的产品。
多晶片功率模块也是 SiC 领域客户和供应商之间的一个热门话题。图 6,同样转自 Yole’sDéveloppement 2016 年的报告,显示了 SiC 模块开发活动的状态。我们相信,对分离封装的 SiC MOSFET 仍然存在大量的机会,因为控制和功率电路的最佳布局实践可以很容易地将分离解决方案的适用性扩展到几十千瓦。更高的功率水平和简化系统设计的动机将推动 SiC 模块的开发工作,但是从封装、控制电路和周围的功率组件中优化寄生电感的重要性不能被夸大。
当谈到 SiC MOSFET 商业前景时最后一点不可回避的问题是价格。我们关于价格侵蚀的看法是有利的,主要是我们的方法的两个方面:首先,我们的器件是在一个汽车级的硅 CMOS 工厂中制造的;其次,这种工艺采用的是 150 毫米晶圆。在另一项研究工作中我们更详细地解释了这一点,然而,可以简单地说,利用现有的硅 CMOS 工厂的核心优势是缺乏资本支出和优化经营费用
(这两者都会被传递到最终客户)
。
此外,采用 150 毫米晶圆进行制造产出的器件要比 100 毫米晶圆多出两倍,这大大影响了每个模具的成本。根据在 Digi-Key 公司进行的一项市售 SiC MOSFET 调查,图 7 中给出了一些关于价格的预示。例如,自从六年前在 Digi-Key 公司的首次公告,TO-247 封装的 1200V、80 mΩ器件的价格下降了超过百分之八十,即使 SiC MOSFET 仍然比类似的硅 IGBT 贵两到三倍。在今天的价格水平上,相比较硅 IGBT,设计人员已经看到了使用 SiC MOSFET 所带来的巨大的系统层面的价格效益,而且我们预计,随着 150 毫米晶圆的规模经济形成,SiC MOSFET 的价格将会继续下降。
图 5:不同供应商的 SiC MOSFET 开发活动的状况【13,经许可转载】。
图 6:SiC 功率模块开发活动的状况【13,经许可转载】。蓝色圆圈表示只有 SiC 器件的模块,而橙色圆圈表示使用硅晶体管和 SiC 二极管的模块。
图 7:在 Digi-Key 公司【www.digikey.com】看到的关于市售 SiC MOSFET 的价格调查。
SiC产业链分为三大环节:
上游的SiC晶片和外延→中间的功率器件的制造
(包含经典的IC设计→制造→封装三个小环节)
→下游工控、新能源车、光伏风电等应用。
目前上游的晶片基本被美国CREE和II-VI等美国厂商垄断;国内方面,SiC晶片商天科合达和山东天岳已经能供应2英寸~6英寸的单晶衬底,且营收都达到了一定的规模;SiC外延片:厦门瀚天天成与东莞天域可生产2英寸~6英寸SiC外延片。
目前,美、欧、日厂商在全球碳化硅产业中较为领先,其中美国厂商占据主导地位。
随着中美贸易战的不断升级,半导体芯片领域成为了中美必争之地,伴随着中兴、华为事件,国家越来越重视芯片,高端装备等领域的国产化。此外,SiC材料和器件在军工国防领域的重要作用,也越来越突出。SiC外延设备在推动产业链国产化过程中,意义尤为重大。