导入数位化管理,提升工作效率
2022年3月28日 10:35前言
以传统产业来说,生产数据仍倚靠「人工」抄写及监控工厂稼动率。不管是人工抄写在纸本上,再从纸本纪录key-in 电脑报表,或是由现场工作人员进行巡视确认机台是否正常运转,这些看似简单的工作,对传统产业来说仍是费时费工的程序,无形中也花费许多隐性成本。
Q
面临的挑战与应对
传统产业由于人工操作比例偏高,以机械产业为例,生产数据多以纸本记录,大多仰赖人工操作,缺乏数位化能力。多数工厂为了监控全厂稼动情况,每天透过人工抄写及现场巡厂统计数据,但容易发生纪录遗失和耗费时间在寻找手写资料而造成纪录有所落差,管理者亦无法有效掌握正确的数据情况,难以透过数据进行制程改善。
面对上述问题,解决问题的第一步,从全厂可视化做起,透过「射出机联网」即时管理系统,让资讯即时化且一致,运用机联网科技快速掌握生产周期,同时以这样的基础朝即时生产做展开,收集即时正确的数据并针对问题进行最佳化管理以提升生产效率。
Q
案例分享
以位于淡水的龙祥塑胶股份有限公司为例,厂内有14台跨品牌射出机,因部分机台老旧导致生产效率不佳,想藉由汰旧换新来解决生产效率问题,却没有评估的准则。除此之外,过去工厂尚未建置设备机联网前,巡检及报工皆须倚靠人工巡厂、人工抄写、纸本统计,每天都花超过2 小时以上的时间到现场查看生产进度,费时又费工,不易分析也不易发现问题点。此外,除手抄资料导致资讯取得不即时外,传统射出成型工厂缺乏厂区、设备、模具、人员、排程等系统性的规划与整合,容易造成资讯不透通导致内部流程上出现沟通落差,造成订单交期延迟或流失新订单。
在SMB 智慧机上盒辅导计画的契机下,全厂于2018年透过型创辅导完成机连网基础部署,分别针对机台状态、稼动资讯、生产管理可视化等资讯进行整合分析。例如,主管人员可透过即时看板随时掌握全厂机台即时状态,就算人不在现场也不用担心工厂有状况时会没人处理,所有现场人员能够轻易掌握闲置或异常的机台,收到异常通报的当下就可以立刻处理,透过此机制让设备闲置时间缩短。
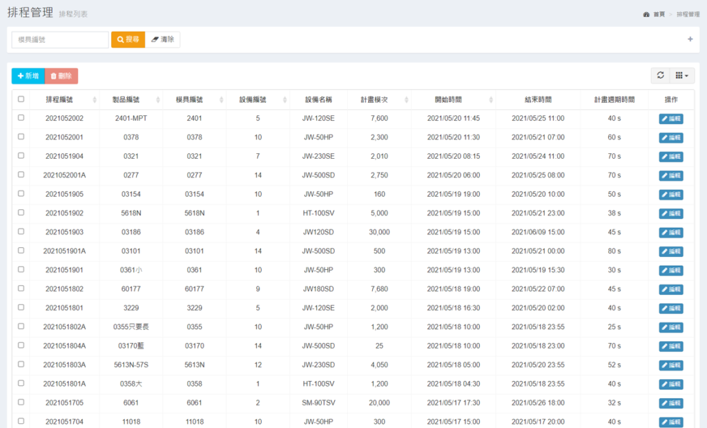
原本依赖人工巡检,排程进度没办法透明化,管理者亦无法即时掌握生产排程。经系统整合后,可透过系统建立排程系统,让模具资料和设备资料都上系统,从系统上能了解是否所有排程项目都有进行制造生产,可以明确知道排程的实际生产状况进而达到排程可视化,除了方便人员操作也能明确掌握即时状态。有别于原本需花费大量时间盯厂的情况,透过系统管理,即时掌握机台实际的生产状况,以避免计画排程与实际生产状况不同,这也让管理者多出更多时间,转而增加许多管理品质的价值,让产品能够如期完成甚至更为提早。
图1:完工计量管理功能图
2:设备稼动管理功能
Q
结果
藉由射出机联网远端监控全厂稼动状态,透过稼动率解析明确厘清生产状态,适时做出决策。透过完工计量的达成率,可以确实比较出产出较低落的设备,或是常故障的设备,可从稼动率真实判断实际情况,有效厘清设备使用率并依此数据来规划设备汰旧换新,带来的效益如下:
• 缩短设备闲置,稼动率提升10%;
• 取代人工抄写稼动率与数据统计,使工作效率提升75%;
• 导入系统进行机台稼动率分析,使管理时间缩短92%。
导入机联网系统后,生产状态从传统人工纸本记录转变成自动化数据采集,并且将14 台超过4 种不同厂牌设备串连在一起,所呈现的数据与看板是原先所做不到的。透过踏出数位转型的第一步,该案例成功提升机台稼动率并且确保了生产周期的稳定性!■
图3:设备历程记录
图4:生产排程应用
图5:导入机联网系统后,使得不论是管理或是工作层面之效率皆大为提升
工程师必备
- 项目客服
- 培训客服
- 平台客服
TOP




















