常见船舶结构特点
2022年12月9日 10:35船体是船舶的基本部分,可分为主体部分和上层建筑部分。船体结构大都用钢材,由板材和型材组合成板架结构。
(1)主体部分:一般指上甲板以下的部分,它是由船壳(船底及船侧)和上甲板围成的具有特定形状的空心体,是保证船舶具有所需浮力,航海性能和船体强度的关键部分,一般用于布置动力装置,装载货物、储存燃油和淡水,以及布置其他各种舱室。为保障船体强度,提高船舶的抗沉性和布置各种舱室,通常设置若干强固的水密横舱壁(或同时包括纵舱壁)和内底,在主体内形成一定数量的水密舱,并根据需要加设中间甲板(一层或数层)或平台,将主体水平分隔成若干层。
(2)上层建筑位于上甲板以上,由左、右侧壁,前、后端壁和各层甲板围成,其内部主要用于布置各种用途的舱室,如工作舱室、生活舱室、贮藏舱室、仪器设备舱室等。上层建筑的大小、层楼和型式因船舶用途和尺度而异,一般都设首楼,而上层建筑的主要部分则位于机(炉)舱区域之上。运输货物船舶的上层建筑长度较短,而客船和科学考察船的上层建筑则是很讲究的。
杂货船通常采用混合骨架式船体结构。在货舱区设有两层以上的甲板,底部为双层底结构。其中,上甲板和双层底是纵骨 架式结构,下甲板和舷侧是横骨架式结构。上甲板和下甲板上开有较大的货舱口,舱口角隅或舱口两端中心线处设有支柱,有的设置半纵舱壁或舱口悬臂梁。
1-船底板;2-中底桁;3-旁底桁;4-内底边板;5-船底纵骨;6-内底板;7-肋板;8-内底纵骨;9-加强筋;10-减轻孔;11-上甲板;12-强横梁;13-横梁;14-甲板纵骨;15-甲板纵桁;16-支柱;17-下甲板;18-梁肘板;19-舱内肋骨;20-甲板间肋骨;21-强肋骨;22-舷侧外板;23-舭肘板;24-舱口端横梁;25-横舱壁;26-舱口围板;27-肘板;28-舷墙;29-扶强肘板;30-舭龙骨
1、单壳体散货船结构
单壳体散货船也是混合骨架式船体结构。只有一层全通甲板,底部为双层底,甲板下面靠两舷有两个顶边舱,双层底舭部处有向上倾斜的底边舱。这样既可以减少平舱工作,又可以防止航行中因横摇过大而危及船舶的稳定性,同时货舱四角的三角形水柜为压载舱,可以用于调节吃水和稳定高度。甲板和舷顶部、双层底和舷侧下部是纵骨架式结构,舷侧中部为横骨架式结构。
1-船底板;2-内底板;3-底边舱;4-内底纵骨;5-中底桁;6-旁底桁;7-肋板;8-船底纵骨;9-舷侧外板;10-肋骨;11-舷侧纵骨;12-肘板;13-甲板;14-甲板纵桁;15-甲板纵骨;16-舱口围板;17-顶边舱;18-横舱壁
2、双壳体散货船结构
双壳体散货船是在单壳体散货船的基础上产生的,舷侧设内壳。舷侧双壳结构可以是横骨架式,可以是纵骨架式。在双壳内部设有水密或非水密的平台,而且内壳与底边舱及顶边舱相交处通常都应设有平台。
1-上甲板;2-顶边舱;3-平台;4、舷侧外板;5-内壳纵壁;6-横隔板;7-底边舱;8-内底板;9-外底板
3、矿砂船结构
矿砂船也属于散货船类型,其结构特点是:装矿砂的货舱容积不大,双层底较高,货舱区有两道纵舱壁,开口边线外强力甲板和双层底为纵骨架式。专线航行的矿砂船可利用舷边的空舱装载石油,设计成矿砂-石油两用船。
1-船底板;2-船底纵骨;3-肋板;4-中底桁;5-旁底桁;6-舷侧外板;7-舷侧纵骨;8-强肋骨;9-撑杆;10-甲板;11-甲板纵骨;12-强横梁;13-舱口围板;14-横舱壁;15-纵舱壁;16-内底板;17-舭龙骨
集装箱船最大的特点是它所装的都是标准规格的集装箱,因此使得它的结构和一般的货船大不相同。它采用垂向直壁式结构,并且它的的货舱口宽度几乎和货舱宽度一样大,舷边只留了很小宽度的甲板边板。集装箱船货舱区域的舷侧都具有双层壳板,其货舱载货的有效宽度和货舱宽度差不多。内舷侧纵壁对甲板大开口造成的总纵强度的削弱做了补偿。此外,舷边舱还能提高船体的抗沉性和用作压载水舱。为了装更多的集装箱,集装箱船通常设计成大的货舱开口和狭长的甲板条船舶,这使得船体的水平弯曲、扭转效应、横向强度在其总纵强度中所占的比例明显上升,舱口角隅处也会有明显的应力集中。集装箱船的艏部线型往往外飘很严重,并且舷侧肋骨与外板夹角也很小。
1-中底桁;2-纵桁;3-集装箱;4-舱口围板;5-甲板纵骨;6-纵舱壁;7-围绕扁钢;8-人孔;9-桁板肋骨;10-平台甲板;11-加强筋;12-舭龙骨;13-旁底桁;14-内底纵骨;15-内底板;16-船底纵骨
1、单壳油船结构
单壳油船的甲板、底部和舷侧均为单层结构,甲板和船底采用纵骨架式,舷侧和纵舱壁可用横骨架式,也可用纵骨架式。大型油船多采用全纵骨架式结构。
1-船底板;2-舷侧外板;3-甲板;4-纵骨;5-强肋骨;6-撑杆;7-纵舱壁;8-中内龙骨;9-甲板纵桁;10-强横梁;11-肋板;12-流水孔;13-横舱壁;14-水平桁;15-垂直扶强材
2、双壳油船结构
双壳油船货油舱由双层底、双壳、隔离空舱和甲板围成,双层底内和双壳内不允许装货油和燃油。根据国际防污染条约规定,为防止海洋污染,单壳油船逐步取消,载重量≥5000T的大、中型油船货油舱区都必须采用双壳结构。
双壳油船典型中剖面
1-甲板;2-甲板纵骨;3-舷侧外板;4-内壳板;5-舷侧纵骨;6-内壳板纵骨;7-开孔平台;8-平台纵骨;9-底边舱;10-外底板;11-内底板;12-内底纵骨;13-船底纵骨;14-箱形中底桁;15-旁底桁;16-槽形纵舱壁;17-底凳;18-顶凳
滚装船做为一种专用船舶,它的结构较为特殊。上层建筑高大,上甲板平整,无舷弧和梁拱,无货舱口,船体内设有多层甲板(一般为2~4层),货仓内支柱极少,一般为纵通甲板。为了便于车辆开进开出及进入各层甲板,货舱区域内不设横舱壁,设置局部舱壁或强横梁和强肋骨保证横向强度。主甲板以下设有双层船壳,两侧船壳之间可作为压载水舱。滚装船的强力甲板和船底一般采用纵骨架式结构,底部为双层底结构。
1-主甲板;2-跳板;3-上甲板;4-提升甲板;5-罩壳式首门;6-货舱;7-机舱;8-偏斜式尾跳板;9-尾门;10-露天甲板;11-主甲板
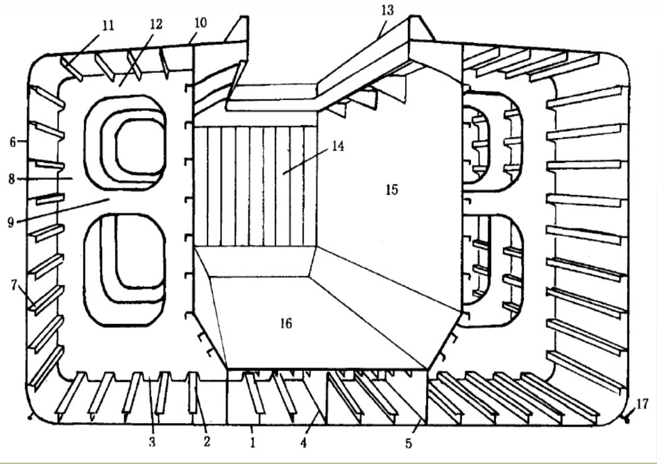
客货船的特点是甲板层次多,房舱多,围壁多,甲板两旁及房舱间设有走廊。旅客和船员舱室大部分设在水线以上。
1-支柱;2-走廊;3-围壁;4-船员舱;5-客舱;6-罗经平台;7-驾驶甲板;8-扶强材;9-艇甲板;10-上甲板;11-下甲板;12-平台甲板
内河船受航道和吃水的限制,船长较短,船型宽而扁平,吃水浅,因此大多数中小型的内河船舶都采用单一横骨架式结构。
1-甲板;2-舷顶列板;3-舷侧板;4-舭列板;5-船底板;6-中内龙骨;7-平板龙骨;8-旁内龙骨;9-梁肘板;10-甲板纵桁;11-肋骨;12-强肋骨;13-舷侧纵桁;14-略;15-横梁;16-横舱壁板
本文来自:海合网
工程师必备
- 项目客服
- 培训客服
- 平台客服
TOP




















