重型花键轴锻件的模具设计与工艺创新实践
2022年12月26日 16:02文/倪金传,胡伟,戚利明,俞华松·万向钱潮传动轴有限公司
重型花键轴(图1)是一种机械传动零件,主要用作重型汽车、大型工程机械上的动力传动轴。基于重型花键轴锻件重量大、柄部长的特点,通常采用对棒料整体加热后,使用1000t 摩擦压力机整体式大模具(图2)锻打成形的生产工艺。按此传统生产工艺,存在人员配置多、模具耗材多、劳动强度大、电力耗用大等诸多难题,造成锻件成本居高不下。
图1 重型花键轴锻件三维图
图2 整体式大模具三维图
工艺创新概况
在激烈的市场竞争环境下,公司内部重点围绕“提质增效,节能降耗”工作,持续降低制造成本,为客户提供满意的产品与服务。针对重型花键轴锻件的制造,重点策划了1000t 电动螺旋压力机生产线,把原先工艺中使用中频加热炉对棒料整体加热改为使用局部加热炉对棒料端部加热,使用1000t 电动螺旋压力机直接锻打成形。按照新的生产工艺方案,依然存在劳动强度大、棒料长且设备行程不够、依靠普通钳子无法搬运、不容易放入模具中等诸多难题。
为此,针对设备行程不够的问题,专门设计制造了开合式机械锁紧装置及自动化电气控制系统;为了减轻员工劳动强度,专门设计制造了单臂行吊和重型花键轴专用自动锁紧钳子;根据重型花键轴锻件的尺寸及机械锁紧装置的内径尺寸,研发出开式模具并将其直接安装在机械锁紧装置内。
通过机械设备与装置、自动化电气控制系统、开式模具设计等诸多创新实践,棒料通过局部加热炉的加热后,操作工使用专用自动锁紧钳子和单臂行吊可以从侧向轻松将棒料送进模具中,然后机械锁紧装置自动闭合锁紧,锻造成形后自动打开,操作工再次使用专用自动锁紧钳子和单臂行吊将锻件取出并放入料筐内,成功实现重型花键轴在1000t 电动螺旋压力机上的生产锻造。
四项技术创新
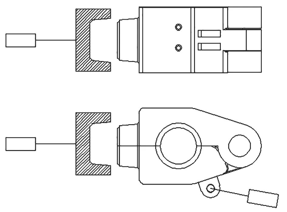
开合式机械锁紧装置及自动化电气控制系统
重型花键轴锻件重量大、柄部长,现有设备行程高度不够,根据1000t电动螺旋压力机工作台面大小,专门设计制造出开合式机械锁紧装置(图3)。
图3 开合式机械锁紧装置结构图
依靠自动化电气控制系统,实现了循环自动锁紧锻打:操作工从侧向将加热后的棒料放进锁紧装置后,气缸自动关闭锁紧;当设备运转制坯完成且滑块回到上死点时,锁紧装置自动解锁松开,此时可以从侧向取出锻件。
通过开合式锁紧装置及自动化电气控制系统的技术创新,彻底解决了设备行程不够,棒料无法整体放入封闭模具,以及锻打完成后锻件难以取出和劳动强度大等难题。
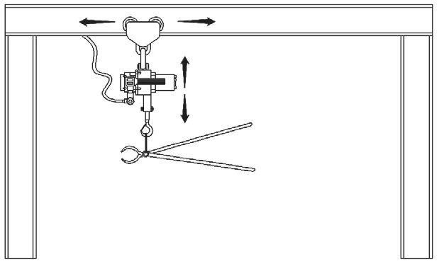
锻造取料的单臂行吊
重型花键轴的下料重量通常在10~40公斤/件,棒料完成局部加热后,单纯依靠人力无法送料到锻造工位。为此,专门设计制造出单臂行吊,具体是由槽钢架子配置可手动控制高度并自动滑动的气动葫芦组成(图4)。
图4 单臂行吊结构图
伴随单臂行吊的投入使用,被夹取着的棒料可以上下调整、前后移动,解决了单纯依靠人力无法送料的难题,锻件的取出入筐也一样轻松。
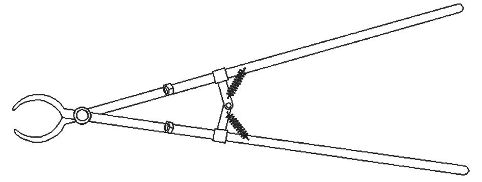
专用自动锁紧钳子
在实际生产过程中,棒料完成局部加热后,传统结构的钳子根本无法夹紧棒料。为此,根据最大下料直径和重量,设计出重型花键轴专用的自动锁紧钳子(图5)。
图5 自动锁紧钳子结构图
通过重型花键轴专用自动锁紧钳子的创新设计,钳子夹住棒料后会自动锁紧,可以轻松地送料到锻造工位,解决了单靠人工无法送料及劳动强度大的难题。
开式模具的设计研发
根据重型花键轴锻件的尺寸及机械锁紧装置的内径尺寸,将开式模具设计成左右二侧均等的两个部分,如图6 所示。
图6 开式模具三维图
通过开式模具上的创新设计,与开合式机械锁紧装置配合,将棒料放进模具后锁紧装置自动闭合,锻打成形后自动打开,不仅解决了设备行程不够的问题,同时大大降低了重型花键轴模具制造的材料成本。
结束语
通过重型花键轴在1000t 电动螺旋压力机上的锻压制造与工艺创新实践,原棒料由整体加热改为只需局部加热,电力成本下降66.5%;原生产人员配置为5 名,现生产人员只需配置2 名,人工成本下降60%;采用整体模具设计,模具材料需要300 公斤/套,而采用开式模具设计,模具材料成本下降83.3%;另外,整体模具需要设计脱模斜度,而采用开式模具后可节约下料重量0.3 ~0.5 公斤/件。通过此次技术改造升级,总共可为公司年节约电费、人工成本、原材料及模具费等成本达79.68 余万元。
—文章选自《锻造与冲压》2022年第19期
工程师必备
- 项目客服
- 培训客服
- 平台客服
TOP




















