看了苹果最新专利,小天才笑而不语 !
本文转载自:创下一个新
话说众所周知,科技公司在规划时,一般都要考虑到未来几年的发展,因此就会提前申请很多的技术专利。
当然,苹果也不例外。比如其有折叠屏的专利,显示了一种具有柔性显示器和新颖铰链系统的电子设备,可确保屏幕不会有折痕,并且,在折叠后背面没有缝隙。
还有一项名为“Keyless Keyboard”的专利,全称为Keyless keyboard with force sensing and haptic feedback,翻译过来也就是:具有力量感应和触觉反馈的无键帽键盘。
简单理解就是,原来的物理键盘和触控板都不用了,而是一块平板取代。
以及,在前段时间还有一个关于Apple Pencil专利,显示了下一代Apple Pencil具有更多的功能,在笔尖内暗藏有光传感器和光发射器,可对现实中物体表面的颜色和纹理进行采样。
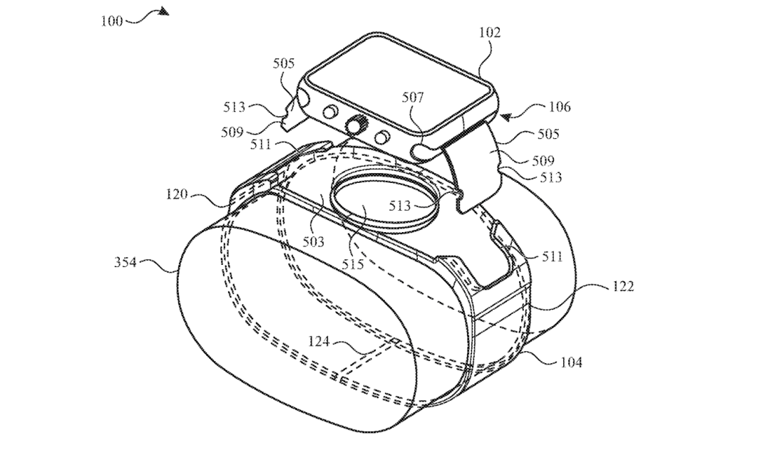
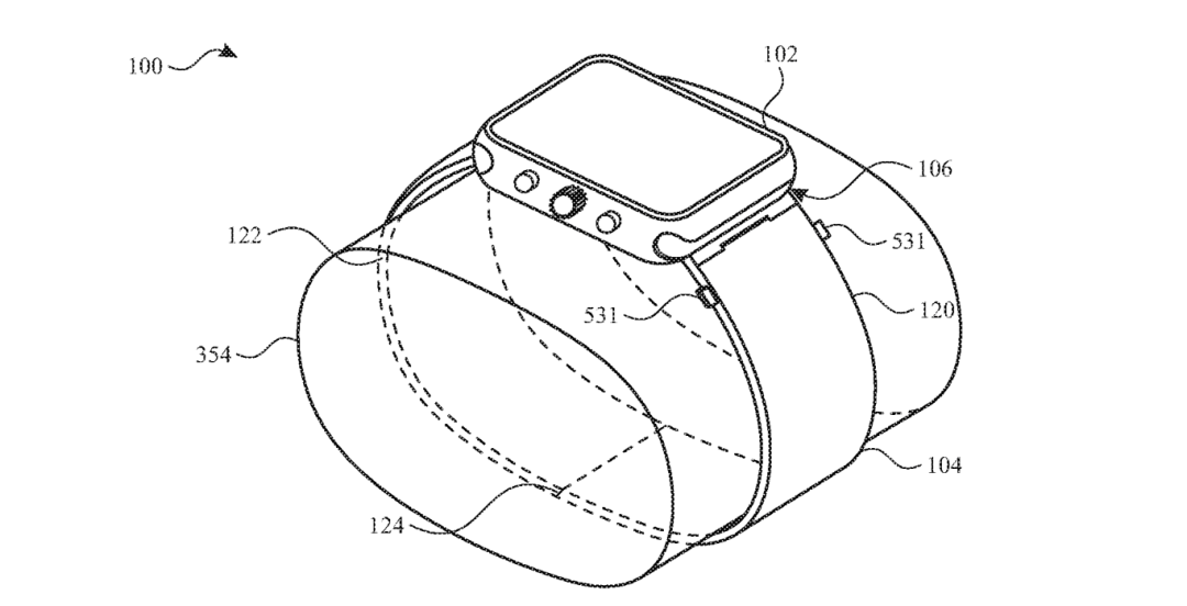
而最近,苹果申请的一项最新专利曝光,证明了其正在考虑改进Apple Watch的设计。
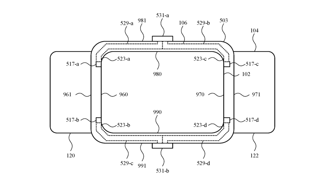
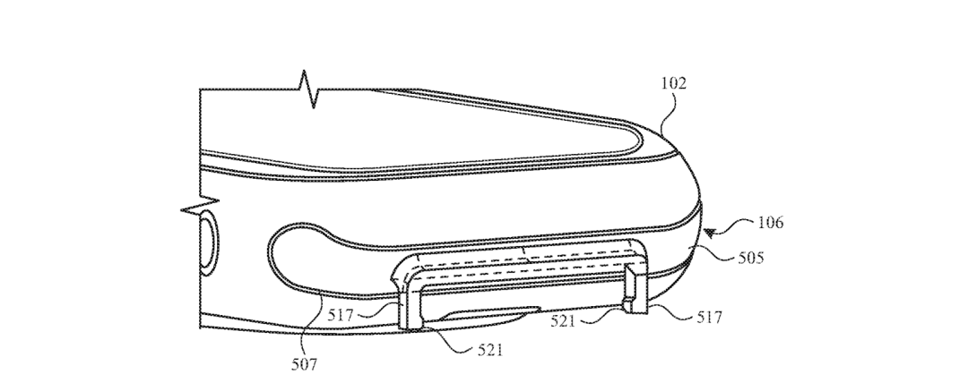
根据专利图片显示,新的苹果手表将采用分离式的设计,也就是说表盘了表链可以自由拆卸。
在表盘外壳有嵌套机构和可释放或固定的连接部件,使用闩锁和磁吸感应器,方便自由拆装,而无需从手腕上取下整个表带。
除此之外,与表链一体的外壳内还配有传感器,可以保证表盘安装到嵌套部分时与开口对准。
怎么样?是不是有点意思。
但其实早些时候,也有消息称苹果会在Apple Watch上配备摄像头,只是在原有表冠的位置上,或者是利用一个可以翻起折叠的摄像头。不过无论哪种方式,带摄像头的苹果手表也迟迟没来。
以至于有人等不急,为Apple Watch做了一个摄像头表带配件,可与手表链接,用来拍照或录像。
甚至,视频通话也没有问题。
但表带上凸起的造型还是有些夸张,显得笨重繁琐。并且价钱也不便宜,售价几乎与苹果手表相当。
如此来看,苹果专利上描述的下一代Apple Watch也许更值得期待一些。
只不过,看到即能拍照录像,又可自由拆卸,小天才表示早已经玩腻了。
— END —
工程师必备
- 项目客服
- 培训客服
- 平台客服
TOP




















