射出模具数字化设计与智能制造技术研究
2023年8月30日 17:22■ 湖南省郴州技师学院 / 李祥伟
(ACMT电子技术月刊No.070)
前言
数字化设计与智能制造技术是管理科学、网络技术、制造技术以及计算机技术等多种先进技术的融合与应用的结果,是制造业向数字化与智能化发展的必然趋势[1]。基于模具制造业发展形势,需要积极研究和应用数字化设计与智能制造技术,将相关技术与现代工业信息化技术的结合,打造模具设计与制造的系统化平台,从而提升模具设计与制造的智能化与数字化水平,以模具数字化设计、智能化制造促进高新技术科学应用,推动模具制造行业的创新与发展[2-4]。
传统工艺流程
传统情况下,精密铣削、精密三坐标测量和精密放电加工都是精密射出模具制造过程的几大部分。制造精密射出模具的过程中,一般从以下几个方面着手。
第一,计算机辅助设计(Computer AssistantDesign, CAD)部门主要负责模具的设计工作。第二,计算机辅助制造(Computer Aided Manufacturing, CAM)部门主要负责工艺制定和数控加工工作[5]。第三,电加工部门主要负责模具主要零件的电火花放电加工工作。
其中,电火花放电加工是精密模具制造的重要环节。电加工过程中,三坐标指定测量点的选择、电极是否偏心、放电间隙是否准确等方面都需要进行严格的质量检测工作。对于电极偏心和放电间隙存在问题的情况,需要基于质量控制(Quality Control, Qc)提供的电极检测报告进行电火花放电加工工作。只有在确定三坐标精密检测的情况下,才能够不断提高整个模具的制造精密度。
在电极偏心量和放电间隙存在偏差的情况下,模具精度会受到严重影响。这种情况下运用手写标签的方式不仅会大大降低整体的生产效率,还无法实现3个工序之间的信息互享,无法达到高效率状态。为了提高检测效率,大多数企业会使用电极抽检的方式进行检测[6]。
电极抽检是选择个别电极之间的偏差来指导电极的补偿,但是这种方式对模具精度的把控还没有达到较为准确的状态,有时甚至会引发模具报废。电极全检是唯一一个可保证模具精度达到标准的方法,但需要加大工作人员检测工作来保证模具的精准度。智能制造技术的出现不仅能克服上述问题,还能够提高电极检测效率。在信息化日益发展的今天,推荐使用智能制造技术完成相应的工作。
模具制造发展状况
对于一些经济发展较快的先进国家来说,模具制造技术正处于快速研究和开发的阶段,越来越多的先进技术以及设备被投入到模具制造业来提高模具开发质量。在模具开发质量提高的情况下,整个国家的经济和社会飞速发展。射出模具包含各种各样的模具,其中有叠层模具、倒装射出模具、三板模具、普通射出模具、高光射出模具以及模内转印射出模具等。中国常用的是从外国进口来的糖塑模具和阴模吸塑模具,但是目前这两种模具无法满足中国生产的需求。为了能够不断促进中国模具制造业的发展,必须重视制造技术的深化和研究工作。
射出模具制造产品的市场基础
射出模具产品存在需求
在实际设计和加工射出模具产品的过程中,需要综合考虑以下几个方面。首先,要注重模具的安全性,这点极其重要。无论从防水、消防,还是站在安全防范方面,都需要严格按照国家的标准规范严格进行。其次,在保证安全性的情况下,可以保证产品更具环保性、经济性和美观性。再次,产品的整体布局以及它们之间的相互联系关系需要进行合理搭配,同时要详细思考分析加工的可靠性和加工难易程度。最后,在实际射出模具产品设计过程中,要通过相关的科学方法选择构建规格和类型,不可随意选择和生产。在满足以上要求后,相关设计人员可以结合自身需求进行合理延伸,使得相关类型的射出模具产品更加多样化和新颖。
射出模具产品的经济性能好
射出模具产品的基本性能与生产效率之间有着密切联系。在实际设计工作中,除了要在基本设计元素和准则上进行考虑之外,产品设计的经济效益也极其重要。目前,生产模具主要是为了帮助产品向着更好的方向发展,而实现这一目标需要不断提高产品质量。所以,在实际生产过程中,要尽可能在保证产品质量的前提下降低生产成本,提高产品竞争力。此外,产品生产效率的提升需要不断进行探索与思考,从以往成功经验的角度分析,需要不断提升射出模具的设计与制造水平。
射出模具数字化设计与智能制造技术要点
智能模具加工岛
智能模具加工岛由多个方面组成,主要包括数控加工中心、工件电极库、六自由度机器人、电子广告牌以及精密型数控电火花成型机床等。加工任务和设备调度都遵守加工岛的要求来完成。在实际使用加工岛进行加工工作的过程中,需要在公建电梯库上放置凹凸模工件毛坯,之后在每个电极和毛坯的料位上放置传感器并扫描相应的信息,通过对读取的信息进行关联得出相应的设备加工顺序。此时,机械手会严格按照指令进行一系列工作,在加工工作完成后重新由机械手放回到工件电极库中。
模具方案设计
在设计射出模具方案的过程中,需要从分型面设计、产品分析、冷却系统、型腔排列等方面入手,其中脱模机构设计的合理性是设计工作的要点。根据模具结构的不同特点设计模具,选取合适的加工工艺提高模具质量,保证加工过程能够顺利进行。对于一些特殊要求,需根据实际情况查看。如果要求不符合相应的数据和参数,那么将会极大地影响最终的产品生产质量。此外,需要在CAD软件上运用图纸设计的方式完成3D建模,以保证模具设计工作的质量达到预期效果。
模具工艺设计
模具型腔和电极加工程序的编制工作基于CAM软件完成,整个模具表的制定和输出工作是在实际生产过程的任务和工作平台上完成的。通过对零件工艺进行编制工作后,在其基础上完成零件加工工艺卡,最终顺利完成模具工艺的设计。
完成智能调试工作
在设置模具设计各项参数的过程中,要综合考虑制造执行系统(Manufacturing Execution System, MES)、数控铣床以及射频识别(Radio Frequency Identification, RFID)、文件管理系统(Electronic Document Managements, EMD)等多个方面,在必要的情况下需要在并网的基础上完成大数据调试工作。这个工作需要保证具有对应的人工位点,保证整个模具生产过程在实现自动化的情况下完成智能化调试工作。
模具成型零件加工
模具成型零件的加工工作是在RFID管理系统的基础上,通过运用MES系统和智能产线来进行整体的零件加工工作。
模具装配
在模具结构图的基础上进行模具的装配工作。只有在图纸上进行不断探讨,才能够得出更加科学合理的射出模全部零件装配工作内容,同时可以选择一些比较先进的电动工具帮助完成相应的装配加工工作。但是,相关工作人员一定要详细了解这些先进的设备和技术,确保顺利完成整个模具装配工作。
试模与修模
在选择射出成型参数的过程中,通常需要合理选择塑料成型工艺。所有的射出工作都需要在射出机的模架上完成。
射出模具数字化设计
设计射出模具时,一般包含有产品分析、分型面设计、型腔排列、模架选用、浇注系统和冷却系统设计等过程。利用传统方法设计时,设计人员凭借经验,在整个设计环节需要进行大量计算,翻阅技术手册,选定技术参数,手工绘制模具相关图如总装图。整个设计过程模具修改频繁,设计效果不佳。运用软件UG和Pro/E对射出模具进行数字化设计,可以实现优化设计。下面以相机面壳的射出模具设计过程为例进行说明。
塑料制件的三维造型
根据提供的相机面壳工程图,通过拉伸、切除、倒圆角、拔模和抽壳等特征造型方法创建相机面壳模型,如图1所示。
图1:相机面壳模型
塑料射出模主要零/部件设计
根据相机面壳所使用的材料(ABS,p=1.05 g·cm-3)设置收缩率为0.5%,在当前文件下建立毛坯工件,利用侧面影像线和裙边曲面建立分型面,利用分型面将工件拆分成射出模型芯和射出模型腔两个体积块。抽取模具元件,采用合适的浇注系统命令完成相机面壳的模具设计。模具开模仿真效果图如图2所示。
图2:模具开模仿真效果图
选择注射机
利用Pro/E软件的模型分析功能求出塑件的体积和质量,从实际注射量应在额定注射量的20%~80%考虑,选择相应的注射成型机。
模架及其他零件设计
运用EMX4.1(模架设计专家),结合射出模型芯、射出模型腔,设计相机面壳模具模架及其他零件,相机面壳模具效果图如图3所示。
图3:相机面壳模具效果图
模具装配图
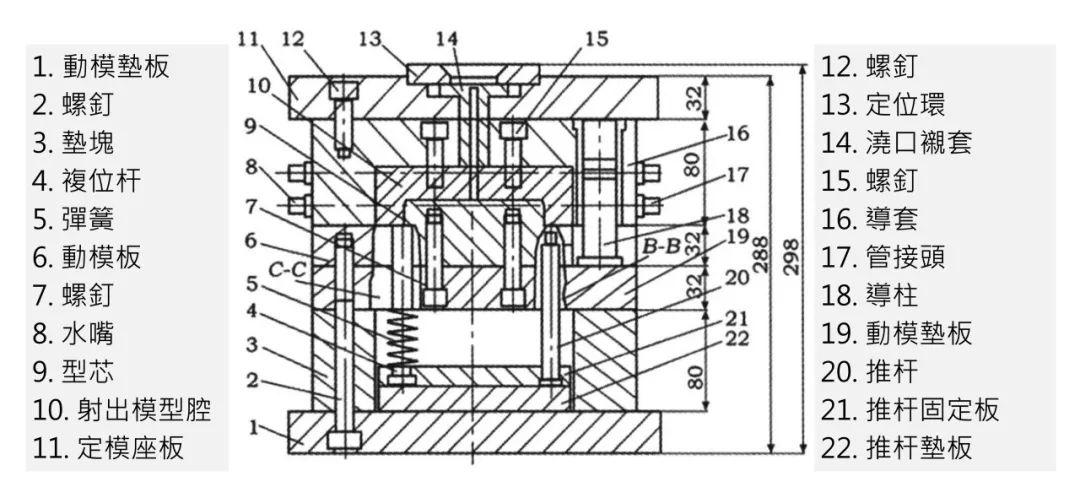
利用Pro/E中的绘图模块和AutoCAD软件生成模具装配图,相机面壳模具(主视图)如图4所示。
图4:相机面壳模具(主视图)(单位:mm)
模具智造技术的应用
随着分析软件的逐渐完善、加工设备和检测设备的快速技术进步,软件可以提前分析并模拟整个制造过程。先进制造设备能够保证加工制造精度,而传统经验在模具设计、制造方面越来越不能满足需求。现代模具技术具有系统数据分析能力,并能够从分析结果中找出规律形成标准。知识经济时代,就要用知识改变模具制造模式。未来模具制造将被淘汰,模具智造才是模具技术发展的未来。
重视前期分析
随着分析软件的发展,前期分析软件逐渐受到重视。
产品设计完成后可以进行强度分析,包括仿真分析和各种使用工况下的软件模拟分析,用分析数据指导产品设计,避免产品制造过程的浪费,缩短产品研发过程,提高产品设计的准确性。
模具设计前的模流分析可以模拟产品的整个充填过程,为模具设计和射出成型提供重要的理论参考数据,有效提高模具开发的成功率。
模具结构仿真分析软件可以分析模具强度、模拟模具在受力和温度等条件下的状况,便于模具开发技术人员提前发现风险,避免后续反复修改模具,甚至造成模具整体失败。
模具零件在实际加工前也可以用软件先模拟加工,确认正确后再实际动刀加工,避免造成实际损失。
重视数据分析和数据分析能力
理论分析完成后要进行实际的制造。模具行业的技术人员要具备系统的数据收集和数据分析能力,利用这些数据有效权衡,不断改善生产。必要时可进行相关的实验和验证,将结果标准化。长期大量重复使用的数据,要考虑利用软件来完成。此外,未来具有系统数据分析能力的模具技术人才将会改变模具行业的制造模式。
重视标准化和模块化
模具设计利用大数据技术,可促使大量的模具零件形成标准化,而标准化的零件将形成各种模块。目前,各个模具企业都有自己的标准,技术水平参差不齐,未来将会出现专门研究标准化零件和模块化模具组件的专业公司。设计模具就像堆积木,标准件和标准化模具件可以直接购买。模具设计只要设计产品成型部分,并把各种标准组件进行合理堆栈。
3D打印技术将在模具制造领域广泛应用
随着3D打印技术的发展,3D金属打印技术将大量应用于模具制造行业。目前,3D打印在模具行业仅仅是打印3D随形冷却水路等,将来很有可能打印精密零件甚至整套模具,从而彻底改变模具加工方式。
结语
研究射出模具数字化设计与智能制造技术,需要在清楚该技术含义、意义与内容的基础上,分析其中的模具方案设计与工艺设计等数字化设计,重视其中的大数据分析调试、模具零件加工、模具装配以及试模修模等模具智能制造工作。未来模具行业将会出现大量专业技术服务公司,为模具企业提供各个方面的专业技术服务。比如,方案公司设计产品、模流分析、仿真结构分析、强度分析、模具设计、编程服务和整套技术解决方案。一般模具企业将会改变小而全的模式,仅仅留下模具零件加工和组装等需要加工设备完成的工作。通过全面分析模具智能制造技术工作流程,射出模具数字化设计与智能制造技术的发展将推动中国制造业不断发展。
参考文献
[1]. 郑立爽,陈芳,王惠芳.射出模具数字化设计与智能制造技术[J].智库时代,2019(29):236—237.
[2]. 孙磊.射出鞋底铝模具的设计及制造技术研究[D].大连:大连理工大学,2018.
[3]. 杨晨朝.基于UG的射出模具快速设计制造关键技术开发[D].南京:南京航空航天大学,2018.
[4]. 何政军.基于实例的射出模具CAD/CAE/CAM技术研究与应用[D].北京:华北电力大学,2018.
[5]. 魏屹立.基于Pro/E和MasterCAM的模具数字化设计制造技术[J].价值工程,2018(12):162.
[6]. 高征兵,秦永法.射出模数字化设计与加工仿真一体化技术研究[J].机床与液压,2018(13):121—124.
[7]. 文章首图引用自https://www.freepik.com/
更多技术内容请扫码观看
扫码观看线上电子月刊
工程师必备
- 项目客服
- 培训客服
- 平台客服
TOP




















