溢流抗气穴阀原理详解(转自液压那些事)
2021年3月6日 12:22浏览:1940
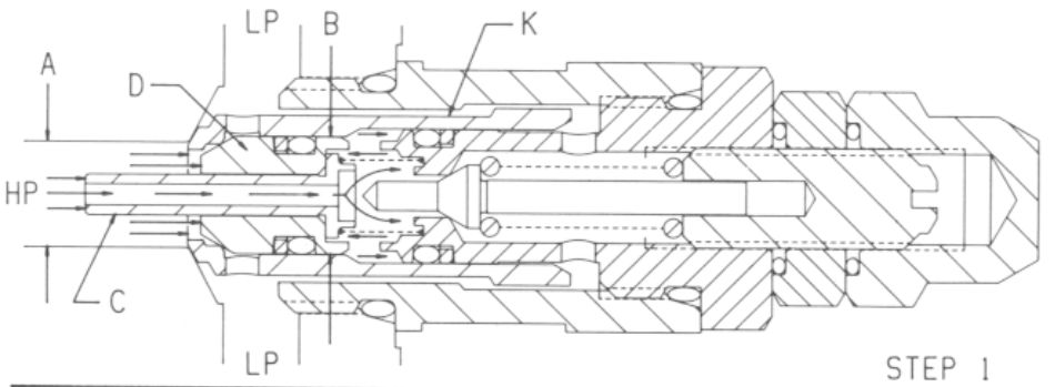
1.溢流阀工况
溢流阀安装在高压口HP和低压口LP之间,高压油通过提升阀芯C上的中心孔,由于直径A和B之间的面积不同,溢流阀阀芯D和单向阀阀芯K仅仅的密封在一起,如图所示.
压力作用在高压口HP,当压力达到先导阀芯弹簧力的设定值时,先导阀芯E被打开,油液通过先导阀芯流动至低压区LP。
由于先导阀芯E的打开,提升阀芯C后的压力降低,使提升阀芯C移动至和先导阀芯E接触密封,这样流向溢流阀阀芯D后面的区域的通道被关闭,这样就在内部形成了低压区域。
内部压力与高压口HP压力的不平衡,迫使溢流阀阀芯D打开,高压口HP的油直接释放到溢流阀低压口LP。
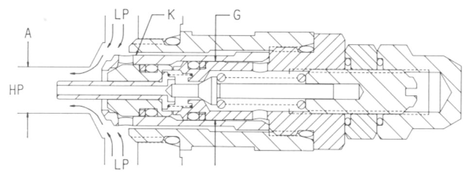
2.仿吸空阀工况
防吸空阀在发生气蚀时,向高压口HP补油。发生气蚀时,与低压口LP相比,HP口存在较低的压力。由于作用在直径A和G之间的面积不同,指导单向阀阀芯K受力不平衡,单向阀阀芯打开,从而使低压口LP中的油进入HP口,实现补油。
点“
技术邻APP
工程师必备
工程师必备
- 项目客服
- 培训客服
- 平台客服
TOP




















