不会区分各类液压阀?动图展示方向阀、压力阀、流量阀原理和区别
2021年5月24日 10:18液压阀是液压传动中用来控制液体压力、流量和方向的元件。按不同的分类方式,液压阀分为很多不同的类型。
常用液压阀:方向阀、压力阀、流量阀
(1)方向阀
方向阀的作用概括地说就是控制液压系统中液流方向的,但对不同类型的阀其具体作用有所差别。方向阀的种类很多,常用方向阀按结构分类如下:
单向阀:分普通单向阀和液控单向阀。
换向阀:分转阀式换向阀和滑阀式换向阀。滑阀式换向阀又可以分为手动式换向阀、机动式换向阀、电动式换向阀、液动式换向阀、电液动换向阀。
手动换向阀↑
液动换向阀↑
(2)压力控制阀
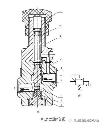
溢流阀:有直动式、先导式溢流阀。
溢流阀↑
减压阀:有直动式、先导式减压阀。
减压阀↑
顺序阀:有直动式、先导式顺序阀。
顺序阀↑
(3)流量控制阀
流量控制阀有节流阀、调速阀等。
换向阀的控制方式,换向阀的通和位
换向阀的控制方式有手动式、机动式、电动式、液动式、电液动式五种。换向阀的通是指阀体上的通油口数,有几个通泊口就叫几通阀。
换向阀的位是指换向阀阀芯与阀体的相互位置变化时,所能得到的通泊口连接形式的数目,有几种连接形式就叫做几位阀。
如一换向阀有4个通油口,3种连接形式,且是电动的,则该阀全称为三位四通电磁(电动)换向阀。
二位二通换向阀↑
三位四通换向阀↑
三位五通换向阀↑
减压阀的性能特点及其应用
减压阀是控制其出口压力为某一常值的,因此希望该值不受其他因素影响为好,然而这是不可能的。
事实上,当通过减压阀的流量或一次压力(入口压力)发生变化时,二次压力(出口压力)都要变化(波动)。
二次压力随流量或一次压力变化而变化的大小,称为减压阀的定压精度。变化小,则定压精度高;反之,则定压精度低。
溢流阀、减压阀、顺序阀作用的区别
简单来说,溢流阀的作用是稳定阀的入口压力,减压阀是稳定阀的出口压力,而顺序阀则是接通(当顺序阀工作时)或切断(当顺序阀关闭时)某一油路。
顺序阀可以做溢流阀使用(只是性能稍差),只要将其入口和液压泵相连,出口连接油箱即可。如直动式顺序阀做直动式溢流阀用即是一例。
90%的人看完这篇文章会
长按关注以下视频号观看各种小视频
十万注塑和模具人都在
关注的模具和注塑视频号
更多精彩内容推荐阅读:
欢迎添加小编私人微信,获得:
1、朋友圈有更多这里看不到的内容
2、可申请进200个行业细分微信群
工程师必备
- 项目客服
- 培训客服
- 平台客服
TOP




















