仪表板专题 & 汽车仪表板大型注塑模具设计
2021年6月1日 14:57
塑件结构分析
塑件为某品牌汽车驾驶室内的仪表板,材料为PP+EPDM-TD20,收缩率取0.95%。其中EPDM能够提高塑件的弹性,而T20是指材料中加上20%的滑石粉,目的是提高仪表板的刚度。
。
塑件特点
模具结构分析
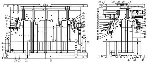
仪表板注塑模采用热流道浇注系统,定、动模均采用一体式结构,模具采用方导柱和分型面定位的导向定位结构,模具的最大外形尺寸2200mm×1100mm×1425mm,模具结构如下图所示。
1.活塞固定块 2.限位块 3.液压缸 4.油嘴 5.动模板 6.拉钩 7.挡块 8.导向块 9.斜滑块 10.弹簧 11.弹簧座 12.弹簧导杆 13.弹簧 14.斜滑块 15.耐磨块 16.锁模块 17.挡块 18.方导柱 19.推板导柱 20.液压缸 21.限位钉 22.支承柱 23.推板 24.推杆固定板 25.定模固定板 26.定模座板 27.定位圈 28.一级热喷嘴 29.热流道板 30.二级热喷嘴 31.液压缸 32.T型扣 33.液压缸固定座 34.斜向抽芯导向块 35.弹簧 36.斜滑块 37.斜滑块导向块 38.拉钩 39.拨块 40.推杆 41.推杆 42.动模固定板 43.定位销 44.动模座板 45.拨块 46.拨块 47.耐磨块 48.限位块 49.导向块 50.斜滑块 51.弹簧 52.弹簧导杆 53.动模镶件 54.斜滑块 55.弯销 56.压块 57.垫块 58.液压缸 59.定模板
1、浇注系统设计
在汽车仪表板模具设计中,浇注系统一般采用热流道。热流道的安装形式有整体式与非整体式2种。
该模具采用整体式热流道,具有以下优点:
★ 可以把热流道整体吊装进行安装,缩短安装和拆卸时间。
★ 对热流道板厚度及其框板尺寸精度要求不高,降低了制造成本。
★ 因热流道是整体装配,没有漏熔料的风险。
★ 热流道的电线全部预装在金属架内,不会因拆装时造成电线损坏,造成发热圈短路烧坏。
★ 因热流道是整体装配,热流道各组件之间的装配是由热流道企业专业人员用专业工具进行装配,可以保证装配精度和可靠性,后续不需要重复拆装。
★ 维护和修理成本低。
仪表板为外观件,设计模具的热流道时要保证熔接痕在非外观面或不影响外观面质量,这是该模具设计的重点和难点。传统的同步多点进料,虽然能使熔体充满整个型腔,但由于熔接痕的存在,很难使塑件质量达到理想状态。为此模具采用了顺序阀浇口技术,通过气缸的驱动来控制6个热喷嘴的开启或关闭,达到塑件表面无熔接痕的效果,注射模热流道板及热喷嘴如下图所示。
2、成型零件设计
成型零件设计的原则是在保证模具强度和使用寿命的前提下尺寸做到最小,以降低模具的制造成本,汽车仪表板模具成型零件设计如图所示,相关尺寸可参考图中参数表。
仪表板属于大型塑件,结构复杂,模具也属于大型注射模,分型面复杂,为了提高模具的刚度和强度,减小模具的整体尺寸,模板和成型零件采用一体式结构。塑件通孔较多,动、定模镶件的插穿角度要大于7°。定模板材料为718,动模板材料为P20。
3、侧向抽芯结构设计
仪表板有7处侧向凹凸结构,需要设计6个侧向抽芯(侧凹S6和S7由同一个侧向抽芯结构完成)。
▲ 塑件中侧凹S1采用斜滑块加弹簧的侧向抽芯结构,由弹簧35、斜滑块36、斜滑块导向块37、拉钩38和拨块39组成,斜滑块36的动力来源为拉钩38和弹簧35。
▲ 侧凹S2则采用弯销加滑块的侧向抽芯结构,由斜滑块54、弯销55、压块56和垫块57组成,斜滑块54的动力来源为液压缸58。
▲ 侧凹S3采用斜滑块侧向抽芯结构,由拨块45、拨块46、耐磨块47、限位块48、导向块49、斜滑块50、弹簧51和弹簧导杆52组成,斜滑块滑槽的倾斜角度为12°,斜滑块50的动力来源为弹簧导杆52和弹簧51。
▲ 侧凹S4采用斜滑块加弹簧侧向抽芯结构,由弹簧导杆12、弹簧13、斜滑块14、耐磨块15和挡块17组成,斜滑块的倾斜角度为12°,动力来源为拉钩和弹簧。
▲ 侧凹S5同样采用斜滑块加弹簧侧向抽芯结构,由拉钩6、挡块7、导向块8、斜滑块9、弹簧10和弹簧座11组成,斜滑块的倾斜角度为12°,动力来源为拉钩6和弹簧10。
▲ 侧凹S6、S7采用液压缸加T型扣的侧向抽芯结构,由液压缸31、T型扣32、液压缸固定座33、斜向抽芯导向块34、挡块、斜向抽芯块和耐磨块组成,抽芯动力来源为液压缸31。
对于汽车仪表板注射模上的斜滑块,不用螺旋弹簧,而用氮气弹簧,因为螺旋弹簧使用时间长会失效,损坏模具,弹簧大小的选择要根据滑块质量而定。
为了使注射成型后塑件容易取出,设计时要求滑块高出分型面越小越好,而且所有斜滑块高出分型面的尺寸要相等。滑块材料下料时要以滑块背面为基准,这样会节省材料。
4、冷却系统设计
均匀合理的冷却系统,对提高塑件成型质量与缩短塑件成型周期有重要影响。汽车仪表板为外观件,在设计成型外观件的模具时,冷却系统要保证熔接痕在塑件的非外观面或消除熔接痕。
模具设计中动模采用12道、定模采用20道直通式冷却水道与水井冷却回路,如图5所示。动、定模水道交叉排布,形成水路网格,这样冷却均匀,保证了塑件的生产效率,避免了塑件翘曲变形,有效保证了塑件的成型质量。
1 水道之间间距取50~60mm,水道离型腔面取20~25mm,水道随型腔面形状布置。
2 由于动模结构较为复杂,设计冷却水道时要考虑水道与推杆、顶块、斜顶块之间的距离,对于热量聚集的地方要重点冷却。
3 各条回路均衡,长短不能相差太大。
4 冷却水道尽量加工成直孔或单一角度的斜孔,斜度小于3°的斜孔,改为直孔。
5、导向定位系统设计
对于大型注射模,导向定位系统直接影响塑件的精度和模具的使用寿命。模具动、定模之间采用4根方导柱18导向,4根方导柱对称布置于定模的四边,注意的是方导柱位置不能妨碍机械手取出塑件。另外方导柱必须比型芯最高点最小高出30mm,以保证合模时方导柱先进入动模,有效保护型芯和型腔。
为了保证塑件能平稳推出,模具的推杆固定板采用了4根推板导柱19导向,还在模具4个角上各设计加工了1个锥面定位结构,锥面倾斜角度为10°。
6、脱模系统设计
模具中塑件的推出由32根ϕ16mm推杆、18根ϕ12mm推杆和21根推管组成。由于塑件大,脱模力和推件板复位力都较大,脱模系统采用2个液压缸作为动力来源。动模型芯表面不平整,所有推杆和推管的固定端都要设计止转结构。
模具工作过程
1
熔体在注塑机注射压力的作用下由模具的一级热喷嘴28进入热流道板29,再由顺序阀控制的6个二级热喷嘴30按规定的顺序进入型腔。熔体充满型腔后,保压、冷却并固化。
2
当固化至足够刚性后,液压缸31和液压缸58启动,通过T型扣32和弯销55分别拉动斜向抽芯块和斜滑块脱离塑件。
3
完成定模斜向抽芯后,注塑机带动模具动模开模,模具从分型面Ⅰ处打开。在拉钩和弹簧作用下,定模斜滑块9、14、36、50作斜向运动脱离塑件,即一边开模一边进行侧向抽芯。
4
完成开模行程800mm后,液压缸3和20的活塞杆推动推板23和推杆固定板24,进而推动推杆,将塑件平稳推离动模型芯,由机械手将塑件取出。
5
液压缸31和58推动斜向抽芯块和斜滑块54复位,液压缸3、20推动推杆40、41复位。最后注塑机推动动模复位,模具接着进行下一次注射成型。
———— / END / ————
更多精彩内容
(点击图片获取全文)
------the end------
期待您的分享!转发到朋友圈是对我们最大的支持!
工程师必备
- 项目客服
- 培训客服
- 平台客服
TOP




















