200万激光点金属“区域3D打印”技术,速度提升1千倍,成本堪比压铸,Seurat获4100万美元B轮融资
2021年7月2日 11:43南极熊导读:又一个伟大的金属3D打印技术来了。颠覆性在于:
200万个激光点,速度比传统激光3D打印技术快1000倍,让单个零件的制造成本大大降低;
更高分辨率和精度,光斑直径可小至10微米;
区域处理速度突破扩展性的限制。
当前SLM金属3D打印的几个痛点
SLM金属3D打印技术现在越来越火,为了加大打印尺寸和打印速度,激光器从2个到4个,再到8个、10个、12个(详见南极熊文章《18款米级超大型金属3D打印机,最多可配20激光器》),甚至中国江苏某公司最新款设备已达20个!但还是存在生产速度低的问题,并且由于飞溅、缺陷和残余应力而产生的严重质量问题。
而Seurat 的新型3D打印机通过区域打印技术进行操作,从而实现激光强度的完全控制。调整热作用可以最大限度地减少飞溅、控制微观结构和降低残余应力。Seurat 区域3D打印技术,使用高速视频,材料分析和多物理场建模,来表征激光和粉末之间相互作用的影响解决基础物理问题,可以很好应用在各个领域,例如轻型车辆、热交换器、新型高性能部件。
200万个激光点!SLM 金属3D打印技术获重大突破
2021年7月1日,南极熊获悉,金属3D打印创业公司Seurat Technologies发明了“区域打印技术”(Area Printing ),最近获得了4100万美元(约2.65亿元人民币)的B轮融资,由投资公司Capricorn基金领投。
△每次3D打印烧结一个15平方毫米的区域
Seurat公司将使用这笔资金继续加速“区域打印工艺”的研发和商业化。这是一种创新的3D打印技术,使用200万个激光点来实现部件的大规模3D打印。这与EOS此前发布的近百万个二极管激光器来融化材料看起来很相似。
△Seurat200万个激光的“区域打印工艺”,可以打印金属件
△EOS的LaserProFusion技术,采用近百万个二极管激光器来熔化材料并逐层制造零件,可以打印尼龙等高分子粉末材料
但是,在技术原理上并不相同,Seurat的这种新技术不是增加激光源的数量,而是使用一种全新的光束处理方法来增加每次的熔化量。常规的金属增材制造系统的光斑直径为100微米,对于单激光系统,就是使用直径100微米的激光进行扫描打印。而Seurat系统将200万个激光点射向15平方毫米的方形区域,每个光点的直径大约为10微米,也就是说一次打印一个区域。
南极熊剖析一下,可能你会更容易理解这个技术的厉害之处:
在激光打印照射效率上,Seurat的光斑面积相当于15平方毫米,而常规单激光100微米直径的光斑面积仅仅为0.0078平方毫米,两者相差近1000倍,也就是说最多可以实现单激光系统1000倍以上的熔融效率;
在激光打印精度分辨率上,Seurat的精度却能达到传统单激光的10倍。200万个光点,每个的功率强度和持续时间都可控可调(不过可能会带来大量数据处理问题)。
△传统单激光、多激光金属3D打印,通过增加激光器数量,可以加快打印速度,但提升得很慢;而Seurat的区域打印技术的速度,提升得非常快
现有的金属增材制造中效率比较高的两种工艺是:电弧熔丝和粘结剂喷射。电弧熔丝使用基于金属丝的焊接工艺来沉积材料。然而,电弧熔丝的打印精度很低,能打印的最小特征尺寸在5-10毫米之间。粘合剂喷射法是基于喷墨打印技术,以高生产速率打印毛坯部件,然而打印之后还需要进行烧结,两步法也使这项技术难以掌握。目前,使用这两种技术方法可以实现400-1,500立方厘米/小时的打印速度。
Seurat的区域打印技术的生产力远远超过任何现有金属3D打印技术。它的打印速度甚至高于电弧熔丝,但它保持了激光粉末床熔融的精度和分辨率,并有可能进一步提高零件表面质量和结构控制灵活性。
△激光粉末床熔融、电弧熔丝、粘结剂喷射、区域打印技术四种工艺在最小特征尺寸和打印效率方面的对比
Seurat公司首席执行官兼联合创始人James DeMuth说:"Seurat正在将一项革命性的技术推向市场,引入新的金融和战略投资者将极大地帮助公司在商业化方面迈出下一步。
自2015年成立以来,Seurat公司一直致力于开发“区域打印工艺”,并打算推广给汽车、消费技术和工业客户。与现有技术相比,"区域打印 "将200多万个激光点聚焦到金属粉末床上,实现快速打印最终用途的部件。
在汽车领域,Seurat公司认为他们的技术可用于生产汽车备件和下一代电动汽车的原型部件。同时,这项技术因为具有可扩展性和无飞溅性,可以成为生产工业应用大尺寸部件的理想选择。
由于Seurat技术的生产效率高,可以帮助用户有效的降低成本。Seurat的区域打印技术突破了每个零件成本的现有障碍,他们的第一代系统与今天的增材制造技术相比,已经可以降低50%的成本。而且将进一步提高效率,未来几代机器的目标是在2030年击败传统压铸工艺的制造成本。这将标志着增材制造作为一种主流技术的突破。
△当前增材制造成本、未来几代区域打印技术的成本、传统制造工艺成本对比
然而,这个工艺已经开发了至少六年,在2017年获得了专利,但目前还未实现商业化。
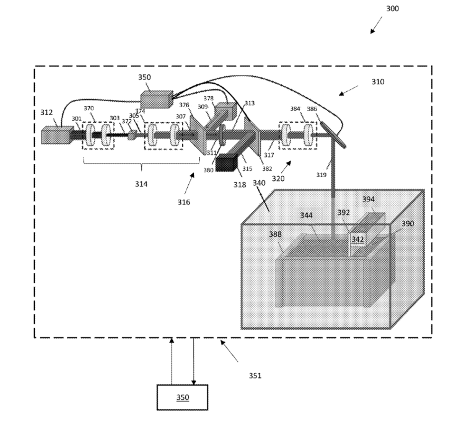
△Seurat Technologies的专利,"一种包括激光器的增材制造系统"
在本轮融资之前,True Ventures于2018年1月投资了Seurat 1350万美元的A轮,截止目前,Seurat的融资总额超过5790万美元(约合人民币3.7亿元)。
本轮融资除了来自Capricorn的资金,Seurat 公司还获得了来自全球移动通信供应商DENSO公司的投资,以及长期支持者True Ventures、GM Ventures、Porsche Automobil Holding SE、西门子能源和Maniv Mobility的持续支持。
核心技术很神秘
Seurat对相关技术很少公开信息,而且这个公司名字也很神秘。Seurat “修拉”是法国著名艺术家乔治·修拉的名字。他开创了一种新的艺术风格,称为“点彩画”或“色光画”。这种风格涉及通过放置一系列复杂的单个色点来描绘图像,当从远处观看时,这些色点在总体上融合成一幅连贯的画面。这就像“点阵”绘画。下面是一个例子:
难道 Seurat Technologies 的金属 PBF 3D 打印系统是同样的逻辑?一个系统,它能够同时向粉末床上的像素大小的小区域提供独立控制的能量!实现区域内的瞬间照射,理论上它可以在一次曝光,完成整个层的打印。
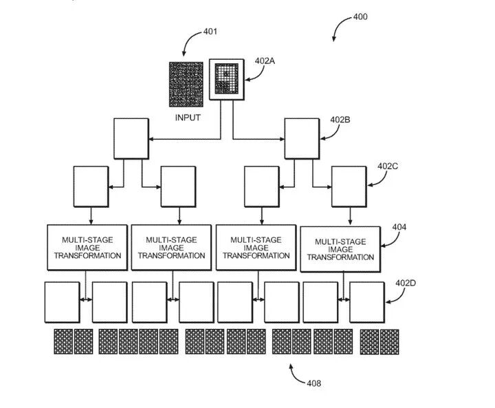
△Seurat 专利 20180326663 描述了一种奇怪的“开关场光束路由”系统,其中激光能量通过多级变换和转向单元级联。这可能是一种使用单个强大的激光,然后分成大量独立可控光束的方法。这可以实现提升高度,然后让激光并行曝光,从而极大地加快打印速度
事实上,Seurat 已经取得数十个非常重要的技术专利,详见中https://www.nanjixiong.com/thread-147596-1-1.html 的列表。
△视频:区烧结金属3D打印技术
备注:
Seurat区域金属3D打印白皮书.pdf 下载,请往南极熊公众号后台回复关键词“ Seurat ”。
南极熊15个3D打印微信小程序
1) 3D打印专业院校库 ;
2)全球3D打印产品库;
6)航空航天军工能源3D打印;
7)汽车船舶交通3D打印;
8)3D打印技术前沿;
9)3D打印软件算法;
10)3D打印行业数据报告;
11)3D打印公司投融资;
12)3D打印产业政策;
13)建筑3D打印;
14)3D打印展会、会议活动预告;
15)全球3D打印新品汇总
工程师必备
- 项目客服
- 培训客服
- 平台客服
TOP




















