电气控制柜中电缆装配工艺讲解

1、概述

电子设备系统、分系统之间电气连接用的连接电缆,是由各种绝缘电线、屏蔽线和电连接器组成。由于很多电缆工作在电子机箱、机柜的外面,没有固定安装,易受各种机械损伤,破坏电气连接,因此,电缆装配有其特殊要求。

2、线扎的加工工艺

2.1 必要性

电子设备的电气连接主要依靠各种规格的导线来实现。在一些较复杂的电子设备中,连接的导线多且复杂,如果不加任何整理,就会显得十分混乱,即不美观也不便于查找。为了简化装配结构,减少占用空间,便于检查、测试和维修等,常常在产品装配时,将相同走向的导线绑扎成一定形状的线扎(又称线把、线束)。采用这种方式,可以将布线和产品装配分开,便于专业生产,减少错误,从而提高整机装配的安装质量。

2.2 线扎的走线要求

a) 不要将信号线和电源线捆绑在一起,以防止信号相互干扰;

b) 输入、输出的导线不要排在一个线束内,以防止信号回授。若必须排在一起时,应使用屏蔽导线。射频电缆不排在线束内,应单独走线;

c) 导线束不要形成回路,以防止磁力线通过环形线,产生磁、电干扰;

d) 接地点应尽量集中在一起,以保证它们是可靠的同位地;

e) 导线束应远离发热体并且不要在元器件上方走线,以免发热元器件破坏
导线绝缘层及增加更换元器件的难度;

f) 尽量走最短距离的路线,转弯处取直角以及尽量在同一平面内走线
2.3 扎制线扎的要领

a) 扎线前,应先确认导线的根数和颜色,以防止扎制时遗漏导线,同时便于检查线扎的错误。

b) 线扎拐弯处的半径应比线束直径大2倍以上。

c) 导线长短要合适,排列要整齐。从线扎分支处到焊点间应有10~30mm的余量,扎制导线时不要拉得过紧,以免因振动将导线或焊盘拉断。

d) 不能使受力集中在一根导线上。多根导线扎制时,如果只用力拉其中的一根线,力量就会集中在导线的细弱处,导线就可能被拉断。另外,当力量集中在导线的连接点时,可能会造成焊点脱裂或拉坏与之相连的元器件。

e) 扎线时松紧要适当。太紧可能损伤导线,同时也造成线束僵硬,使导线容易断裂。太松会失去线扎的效果,造成线束松散或不挺直;

f) 线扎的绑线节或扎线搭扣应排列均匀整齐。两绑线节或扎线扣之间的距离L应根据整个线扎的外径D来确定,见表1。绑线节或扎线扣头应放在线束下面不容易看见的背面。

电气控制柜中电缆装配工艺讲解的图1
表1 绑扎间距

2.4 线扎图

线扎图是按线束比例绘制的,包括线束视图和导线数据表及附加的文字说明等。实际制作时,要按图放样制作胎模具,如图所示。
电气控制柜中电缆装配工艺讲解的图2
图1 制作线扎的配线板

2.5 线扎的分类

线扎有软线扎和硬线扎两种,由产品的结构和性能决定。

1)软线扎

一般用于产品中各功能部件之间的连接,由多股导线、屏蔽线、套管及接线连接器等组成,一般无需捆扎,只要按导线功能进行分组,将功能相同的线用套管套在一起。图2为某软线扎的外形图,图3和表2是图2所示软线扎的接线图和接线表,它们确切地表述出线束的所有参数。

电气控制柜中电缆装配工艺讲解的图3
图2 软线扎外形图

电气控制柜中电缆装配工艺讲解的图4
图3 软线束接线图

电气控制柜中电缆装配工艺讲解的图5
表2 软线束接线线表

2)硬线扎

硬线扎多用于固定产品零部件之间的连接,特别是在机柜式设备中使用较多。它是按产品需要将多根导线捆扎成固定形状的线束,这种线扎必须有实样图,如图4所示,对应的接线线表如表3。

电气控制柜中电缆装配工艺讲解的图6
图4 硬线扎图示例

电气控制柜中电缆装配工艺讲解的图7
表3 硬线扎示例接线线表

3 线束绑扎方法

3.1 线绳捆扎法

线绳捆扎法是指用线绳(如棉线、亚麻线、尼龙线等)将多根导线捆绑在一起构成线束的方法。具体方法见图5所示。线束绑扎完毕,应涂上清漆,有时也只在各线节处涂清漆。
电气控制柜中电缆装配工艺讲解的图8
(a) 起始线节的打结
电气控制柜中电缆装配工艺讲解的图9
(b) 一般中间线节的打结
电气控制柜中电缆装配工艺讲解的图10
(c) 只绕一圈的中间线节打结

对于较粗的线束或带有分支线束的复杂线束,各线节的圈数应适当增加,特别是在分支拐弯处应多绕几圈线绳。如图所示。

电气控制柜中电缆装配工艺讲解的图11
(a) 向接线板处的分支线的打结

电气控制柜中电缆装配工艺讲解的图12
(b) 两分支线合并成一支线的拐弯处的打结

电气控制柜中电缆装配工艺讲解的图13
(c)一分支线拐弯处的打结

3.2 专用线扎搭扣法

专用线扎搭扣法是指用专用线扎搭扣将多根导线绑扎的方法。扣接法捆扎线束,既可以用手工拉紧,也可以用专用工具紧固。常用的线扎搭扣及扣接形式如图7所示。

电气控制柜中电缆装配工艺讲解的图14
图7 线束线扎搭扣的形状及捆扎法

3.3 胶合黏接法

胶合黏接法是指用胶合剂将多根导线黏接在一起构成线束的方法,用于导线数量不多的小线扎绑扎方法。如图8所示。
电气控制柜中电缆装配工艺讲解的图15
图8导线黏接在一起构成线扎

3.4 套管套装法

套管套装法是指用套管将多根导线套装在一起构成线束的方法,特别适合于裸屏蔽导线或需要增加线束绝缘性能和机械强度的场合。使用的套管有塑料套管、热缩套管、玻纤套管等,还有用PVC管来做套管的。现在又出现了专用于制作线束的螺纹套管,使用非常方便,特别适合于小型线束和活动线束。

3.5 塑料线槽排线

有些大中型设备用塑料线槽排线。线槽固定在机箱上,槽两侧有很多出线孔,将准备好的导线一根一根排在槽内,可不必绑扎。导线排完后再盖上盖,也很整齐。参见图9所示。
电气控制柜中电缆装配工艺讲解的图16
图9 塑料线槽排线

3.6 经常活动的线束处理

经常活动的线束应拧成150左右的角度,如图10a所示。这样做的目的是线束弯曲时各导线受力均匀。为了防止磨损,可在线束外加缠聚氯乙烯胶带,也可用尼龙卷槽绕在活动线束上,如图10b所示。
电气控制柜中电缆装配工艺讲解的图17
(a)线束扭成150角

电气控制柜中电缆装配工艺讲解的图18
(b)线束加尼龙卷槽

4 电缆与插头、插座的连接

各导线在焊接到焊片之前所留长短应合适,电缆线束在插头座上不能产生自由松动现象,电缆线束的弯曲半径不得小于线束直径的两倍,在插头座根部的弯曲半径不得小于线束直径的五倍,以防止电缆折断。

4.1 非屏蔽电缆与插头、插座的安装

如图,在3处将绵织套剪去适当一段,用棉纱线绑扎,涂以清漆,再套上橡皮圈2。将插头座拆开,把后环先套在电缆上。将每根导线套上绝缘套管,分别焊接到各焊片上,焊完之后将套管推到焊片上。最后安装插头座外壳,拧紧螺钉,旋好后环。由于橡皮套紧紧卡在线束与后环之间,使线束不宜松动。
电气控制柜中电缆装配工艺讲解的图19
非屏蔽电缆在插头座的安装(1-绝缘套管 2-电缆用橡皮圈 3-用棉纱线绑扎并涂清漆)

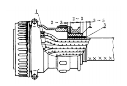
4.2 屏蔽电缆与插头、插座的安装

如图,先剪去适当长度的屏蔽层,用浸蜡棉线或亚麻线、尼龙线等绑扎线束。拆开插头座,将后环套在电缆上,然后将一圈垫纸套过屏蔽层,使屏蔽层端线均匀散开,焊在垫圈上。把绝缘套管套在各导线上,将导线分别焊接在各焊片上。焊完之后把套管推到焊片上,再安装拆下的外壳,紧固好螺钉,将后环拧在一起,最后在后环外缠棉线并涂漆。
电气控制柜中电缆装配工艺讲解的图20
屏蔽电缆在插头座的安装(1-锡焊 2-用棉线绑扎,绑扎宽度不应小于4mm)

4.3 快卸插头座的安装

如图,先将各导线端头处理好。拧下插头座的尼龙套,将每根导线套上套管,把卸下的尼龙套套过导线。在各导线焊接完毕后,把尼龙套拧上,将导线排列整齐,浇注常温熟化有机硅。待有机硅凝固后,放好套管,用棉线绑扎线束,涂上清漆。
电气控制柜中电缆装配工艺讲解的图21
XK型快卸插头座的安装(1-锡焊 2-尼龙套 3-常温熟化有机硅浇注料 4-套管 5-用棉纱线扎紧并
声明

本号所刊发文章仅为学习交流之用,无商业用途,向原作者致敬。因某些文章转载多次无法找到原作者在此致歉,若有侵权请联系小编,我们将及时删文或者付费转载并注明出处,感谢您的支持!

(来源:网络,版权归原作者)

猜您喜欢

◆  低压开关柜的柜体结构和工艺特点

◆  配电柜(箱)装配工艺讲解

分享 · 共赢

电气圈,一个有态度的圈子

登录后免费查看全文
立即登录
App下载
技术邻APP
工程师必备
  • 项目客服
  • 培训客服
  • 平台客服

TOP