脚手架节点做法总结,建议收藏!
2021年9月30日 11:50来源:豆丁施工
如有侵权,请联系删除
正文如下:
脚手架之所以发生安全事故,主要原因是由于脚手架搭设或拆除过程中,违反脚手架相关安全技术规范规定的构造要求造成的。
主要参照规范:
脚手架搭设高度要求
单排脚手架搭设高度不应超过24m
双排脚手架搭设高度不宜超过50m
悬挑脚手架的搭设高度不宜超过20m
满堂脚手架的搭设高度不宜超过36m
满堂支撑架搭设高度不宜超过30m
当满堂支撑架小于4跨时,不宜超过5.2m
盘扣式模板支架搭设高度不宜超过24m
脚手架杆件构造要求
是脚手架的关键部件,主要受力杆件,负责传递和承受力的部件。立杆间距应均匀设置,不能大于设计间距,否则降低立杆承载能力。立杆的搭设应符合以下要求:
1)每根立杆底部宜设置底座或垫板(当脚手架搭设在永久性建筑结构混凝土基面时,立杆下底座或垫板可根据情况不设置)。
2)脚手架必须设置纵横向扫地杆。纵向扫地杆宜采用直角扣件固定在距钢管底端不大于200mm处的立杆上。横向扫地杆亦应采用直角扣件固定在紧靠纵向扫地杆下方的立杆上。
3)立杆必须用连墙件与建筑物可靠连接。
4)当立杆基础不在同一高度上时,必须将高处的纵向扫地杆向低处延长两跨与立杆固定,高低差不应大于lm。靠边坡上方的立杆轴线到边坡的距离不应小于500mm,脚手架底层步距不应大于2m。
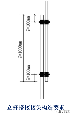
5)立杆接长除顶层顶步可采用搭接外,其余各层各步接头必须采用对接扣件连接。对接可提高承载能力,一个对接接头的承载能力比搭接的承载能力大 2.14 倍。因此在竖立杆时,要注意杆件的长短搭配使用。顶层顶步立杆指顶层栏杆立杆
6)立杆上部应始终高出操作层1.5m,并进行安全防护。立杆顶端宜高出女儿墙上皮lm,高出檐口上皮1.5m。
7)脚手架立杆接长、对接应满足以下要求:
①立杆上的对接扣件应交错布置;两根相邻立杆的接头不应设置在同步内,同步内隔一根立杆的两个相隔接头在高度方向错开的距离不宜小于500mm;各接头中心至主节点的距离不宜大于步距的1/3。
②搭接长度不应小于1m,应采用不少于2个旋转扣件固定,端部扣件盖板的边缘至杆端距离不应小于100mm。
1)纵向水平杆步距不大于1.8m;
2)应设置在立杆内侧,其长度不应小于3跨;
3)纵向水平杆接长应采用对接扣件连接或搭接。
①对接时纵向水平杆的对接扣件应交错布置,两根相邻纵向水平杆的接头不宜设置在同步或同跨内,不同步或不同跨两个相邻接头在水平方向错开的距离不应小于500mm;各接头中心至最近主节点的距离不宜大于纵距的1/3。
②搭接长度不应小于lm,应等间距设置3个旋转扣件固定,端部扣件盖板边缘至搭接纵向水平杆杆端的距离不应小于l00mm。
③当使用冲压钢脚手板、木脚手板、竹串片脚手板时,纵向水平杆应作为横向水平杆的支座,用直角扣件固定在立杆上。
④当使用竹笆脚手板时,纵向水平杆应采用直角扣件固定在横向水平杆上,并应等间距布置,间距不应大于400mm。
1)主节点处必须设置一根横向水平杆,用直角扣件扣接且严禁拆除。主节点处两个直角扣件的中心距不应大于150mm。在双排脚手架中,靠墙一端的外伸长度不应大干0.4Lb,且不应大于500mm。
2)作业层上非主节点处的横向水平杆,宜根 据支撑脚手板的需要等间距设置,最大间距不应大于纵距的1/2。
3)当使用冲压钢脚手板、木脚手板、竹串片脚手板时,双排脚手架的横向水平杆两端均应采用直角扣件固定在纵向水平杆上;单排脚手架的横向水平杆的一端应用直角扣件固定在纵向水平杆上,另一端插入墙内,插入长度不应小于180mm。
4)使用竹笆脚手板时,双排脚手架的横向水平杆两端,应用直角扣件固定在立杆上;单排脚手架的横向水平杆的一端应用直角扣件固定在立杆上,另一端插入墙内,插入长度不小于180mm。
扣件构造要求
(1)扣件规格必须与钢管外径相同;
(2)扣件螺栓拧紧扭力矩不应小于40N·m,并不大于65N·m
(3)在主节点处固定横向水平杆、纵向水平杆、剪刀撑、横向斜撑等用的直角扣件、旋转扣件的中心点的相互距离不应大于150mm;
(4)对接扣件开口应朝上或朝内;
(5)各杆件端头伸出扣件盖板边缘长度不应小于100mm。
脚手板构造要求
脚手板是工人施工操作和堆放物料的平台,它主要承受施工荷载。
(1)作业层脚手板应铺满、铺稳,离开墙面120~150mm;
(2)冲压钢脚手板、木脚手板、竹串片脚手板等,应设置在三根横向水平杆上。当脚手板长度小干2m时,可采用两根横向水平杆支承,但应将脚手板两端与其可靠固定,严防倾翻。此三种脚手板的铺设可采用对接平铺,亦可采用搭接铺设。脚手板对接平铺时,接头处必须设两根横向水平杆,脚手板外伸长应取130~150mm,两块脚手板外伸长度的和不应大于300mm;脚手板搭接铺设时,接头必须支在横向水平杆上,搭接长度应大于200mm,其伸出横向水平杆的长度不应小于l00mm。
(3)作业层端部脚手板探头长度应取150mm,其板长两端均应与支承杆可靠地固定。凡脚手板伸出小横杆以外大于200mm的称为探头板。
脚手板如果不与脚手架绑扎、固定牢固,若遇探头板有可能造成坠落事故,为此必须严禁探头板出现。可采用定型工具式扁钢固定卡固定,如下图所示。当操作层不需沿脚手架长度满铺脚手板时,可在端部采用护栏及立网将作业面限定,把探头板封闭在作业面以外。
连墙件构造要求
连墙件的作用:一是防止因水平外力,如风荷载作用而发生的向内或向外倾翻;二是作为架体的中间约束,减小立杆的计算长度,提高承载能力,保证脚手架的整体稳定性。连墙件设置数量不足构造不符合要求或被任意拆卸,极易造成安全事故,必须保证连墙件的设置构造符合要求。
连墙件的布置应符合下列规定:
1.宜靠近主节点设置,偏离主节点的距离不应大于 300mm。只有连墙件在主节点附近方能有效的阻止脚手架发生横向弯曲失稳或倾覆,若远离主节点设置连墙件,因立杆的抗弯刚度较差,将会由于立杆产生局部弯曲,减弱甚至起不到约束脚手架横向变形的作用。
2.应从底层第一步纵向水平杆处开始设置,当该处设置有困难时,应采用其它可靠措施固定;
3.连墙件必须采用可承受拉力和压力的构造。
4.对高度 24m以上的双排脚手架,必须采用刚性连墙件与建筑物可靠连接
5.开口型脚手架的两端必须设置连墙件,连墙件的垂直间距不应大于建筑物的层高,并且不大于4m。
6.连墙件中的连墙杆或拉筋宜呈水平设置,当不能水平设置时,与脚手架连接的一端应下斜连接,不应采用上斜连接;连墙件必须采用可承受拉力和压力的构造。
剪刀撑构造要求
双排脚手架应设剪刀撑与横向斜撑,单排脚手架应设剪刀撑。
剪刀撑的设置应符合下列规定:
1.每道剪刀撑跨越立杆的根数宜按规定确定。每道剪刀撑宽度不应小于 4跨,且不应小于 6m,斜杆与地面的倾角宜在 45~60 度之间。
2.剪刀撑斜杆的接长应采用搭接或对接。
3.高度在24m及以上的双排脚手架应在外侧全立面连续设置剪刀撑;高度在24m以下的单、双排脚手架,均必须在外侧两端、转角及中间间隔不超过15m的立面上,各设置一道剪刀撑,并应由底至顶连续设置。
剪刀撑的扣件设置
剪刀撑斜杆应用旋转扣件固定在与之相交的小横杆或立杆上,一副剪刀撑旋转扣件数量一般不少于9个
横向斜撑构造要求
双排脚手架横向斜撑的设置应符合下列规定:
1. 横向斜撑应在同一节间,由底至顶层呈之字型连续布置
2.高度在24m 以下的封闭型双排脚手架可不设横向斜撑,高度在24m以上的封闭型脚手架,除拐角应设置横向斜撑外,中间应每隔6 跨距设置一道。
3.开口型双排脚手架的两端均必须设置横向斜撑。开口型脚手架两端是薄弱环节。将其两端设置横向斜撑,并与主体结构加强连接,可提高这类脚手架的整体刚度。
斜道构造要求
斜道或称马道,是作为人员上下通行用的通道。各类人员上下脚手架必须在专门设置的人行通道(斜道)行走,不准攀爬脚手架,通道可附着在脚手架设置,也可靠近建筑物独立设置。
1.斜道处立杆的荷载往往最大,因为层层有脚手架板及挡脚板等重量,因此斜道处的立杆要验算其稳定性,若不足时,可采取增加钢管立杆的方法或局部卸荷的措施。
2.人行并兼作材料运输的斜道的型式宜按下列要求确定
(1)高度不大于6m的脚手架,宜采用一字型斜道。
(2)高度大于6m的脚手架,宜采用之字型斜道
3.斜道的构造要求:
(1)斜道应附着外脚手架或建筑物设置;
(2)斜道两侧、端部及平台外围,必须设置剪刀撑。宽度大于2米的斜道,在脚手板下的小横杆下,应设置之字形横向支撑;
(3)运料斜道宽度不应小于1.5m,坡度宜采用1:6(高:长);人行斜道宽度不应小于lm,坡度宜采用1:3;
(4)拐弯处应设置平台。其宽度不应小于斜道宽度;
(5)斜道两侧及平台外围均应设置栏杆及挡脚板。拦杆高度应为1.2m,挡脚板高度不应小于180mm;
(6)运料斜道两侧、平台外围和端部均应按连墙件的规定设置连墙件。每两步应加设水平斜杆及剪刀撑和横向斜撑。
4.斜道脚手板构造应符合下列规定:
(1)脚手板横铺时,应在横向水平杆下增设纵向支托杆, 纵向支托杆间距不应大于500mm;
(2)脚手板顺铺时,接头宜采用搭接;下面的板头应压住上面的板头,板头的凸棱处宜采用三角木填顺;
(3)人行斜道和运料斜道的脚手板上应每隔250~300mm设置一根防滑木条,木条厚度宜为20~30mm。
满堂脚手架构造要求
( 1 )满堂脚手架应在架体外侧四周及内部纵、横向每6m至8m由底至顶设置连续竖向剪刀撑。当架体搭设高度在8m以下时,应在架顶部设置连续水平剪刀撑;当架体搭设高度在8m及以上时,应在架体底部、顶部及竖向间隔不超过8m分别设置连续水平剪刀撑。水平剪刀撑宜在竖向剪刀撑斜杆相交平面设置。剪刀撑宽度应为6m~8m。
(2)满堂脚手架的高宽比不宜大于3,当高宽比大于2时,应在架体的外侧四周和内部水平间隔6m~9m,竖向间隔4m~6m设置连墙件与建筑结构拉结,当无法设置连墙件时,应采取设置钢丝绳张拉固定等措施。
(3) 当满堂脚手架局部承受集中荷载时,应按实际荷载计算并应局部加固。
(4) 满堂脚手架应设爬梯,爬梯踏步间距不得大于300mm。
满堂支撑架构造要求
(1) 满堂支撑架立杆伸出顶层水平杆中心线至支撑点的长度不应超过0.5m。满堂支撑架搭设高度不宜超过30m。
可调托撑螺杆伸出长度不宜超过300mm,插入立杆内的长度不得小于150mm。
(2) 满堂支撑架应根据架体的类型设置剪刀撑,并应符合下列规定:
① 普通型:在架体外侧周边及内部纵、横向每5m~8m,应由底至顶设置连续竖向剪刀撑,剪刀撑宽度应为5m~8m。
在竖向剪刀撑顶部交点平面应设置连续水平剪刀撑。当支撑高度超过8m,或施工总荷载大于15kN/㎡,或集中线荷载大于20kN/m的支撑架,扫地杆的设置层应设置水平剪刀撑。水平剪刀撑至架体底平面距离与水平剪刀撑间距不宜超过8m。应在支架的四周和中部与结构柱进行刚性连接,水平间距应为6-9m,竖向间距应为2-3m。
②加强型:
1)当立杆纵、横间距为0.9 m×0.9m ~1.2m×1.2m时,在架体外侧周边及内部纵、横向每4跨(且不大于5m),应由底至顶设置连续竖向剪刀撑,剪刀撑宽度应为4跨。
2)当立杆纵、横间距为0.6 m×0.6m~0.9 m×0.9m 时,在架体外侧周边及内部纵、横向每5跨(且不小于3m),应由底至顶设置连续竖向剪刀撑,剪刀撑宽度应为5跨。
3)当立杆纵、横间距为0.4 m×0.4m~0.6 m×0.6m时 ,在架体外侧周边及内部纵、横向每3m~3.2m应由底至顶设置连续竖向剪刀撑,剪刀撑宽度应为3m~3.2m 。
4)在竖向剪刀撑顶部交点平面应设置水平剪刀撑,水平剪刀撑至架体底平面距离与水平剪刀撑间距不宜超过6m,剪刀撑宽度应为3m~5m 。
碗扣式支撑架构造要求
1.模板支撑架应根据所承受荷载选择立杆间距和步距,底层纵、横向水平杆作为扫地杆,距地面高度应小于或等于350mm,立杆底部应设置可调底座或固定底座;立杆上端包括可调螺杆伸出顶层水平杆的长度不得大于0.7m。
2.模板支撑架斜杆设置要求:
①当立杆间距大于1.5m时,应在拐角处设置通高专用斜杆,中间每排每列应设置通高八字形斜杆或剪刀撑;
②当立杆间距小于或等于1.5m时,模板支撑架四周从底到顶连续设置竖向剪刀撑;中间纵、横向由底到顶连续设置竖向剪刀撑,其间距应小于或等于4.5m;
③剪刀撑的斜杆与地面夹角应在45°~60°之间,斜杆应每步与立杆扣接
3.当模板支撑架高度大于4.8m时,顶端和底部必须设置水平剪刀撑,中间水平剪刀撑设置间距应小于或等于4.8m。
盘扣式支撑架构造要求
1、模板支架可调底座调节丝杆外露长度不应大于300mm,作为扫地杆的最底层水平杆离地高度不应大于550mm
2、模板支架可调托座伸出顶层水平杆或双槽钢托梁的悬臂长度严禁超过650mm,且丝杆外露长度严禁超过400mm,可调托座插入立杆或双槽钢托梁长度不得小于150mm。
3、高大模板支架最顶层的水平杆步距应比标准步距缩小一个盘扣间距。
4.模板支架的斜杆或剪刀撑设置要求:
①搭设高度≤8m的满堂模板支架,步距宜≤ 1.5m支架架体四周外立面向内的第一跨每层均应设置竖向斜杆,架体整体底层以及顶层均应设置竖向斜杆,并应在架体内部区域每隔5跨由底至顶纵、横向均设置竖向斜杆或采用扣件钢管搭设剪刀撑。当满堂模板支架的架体高度不超过4个步距时,可不设置顶层水平斜杆;当架体高度超过4个步距时,应设置顶层水平斜杆或扣件钢管水平剪刀撑。
②搭设高度>8m的满堂模板支架,竖向斜杆应满布设置,步距不得大于 1.5m,沿高度每隔4~6个标准步距应设置水平层斜杆或扣件钢管剪刀撑,周边有结构物时,宜与周边结构形成可靠拉结。
③当模板支架搭设成无侧向拉结的独立塔状支架(高宽比较大)时,架体每个侧面每步距均应设竖向斜杆。当有防扭转要求时,在顶层及每隔3-4个步距应增设水平层斜杆或钢管水平剪刀撑。
工程师必备
- 项目客服
- 培训客服
- 平台客服
TOP




















