平面尺寸链计算方法之投影法,微分法综合运用实例分析
2021年12月14日 13:41在计算尺寸链中,我们经常会遇到平面尺寸链的计算问题。平面尺寸链定义为尺寸链各环位于同一平面内,但其中有些环彼此不平行(存在一定的夹角关系)。而投影法的原理是通过某一方向投影,将平面尺寸链转化为直线尺寸链进行求解。为了求解方便和计算准确性,本案例中会沿着封闭环所在的平面进行投影,将平面尺寸链转化为直线尺寸链,然后再寻找封闭环和组成环的函数关系,最后计算封闭环的基本尺寸以及公差。下面以简单的平面孔系尺寸链为例进行推导。
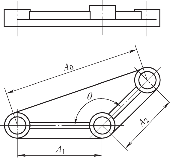
图1多孔零件
通过投影法,我们可以将A1和A2投影到A0的尺寸线上,然后在软件DCC中画出线性尺寸链图,如图2所示:
图2 尺寸链
图3 具体参数
而判断封闭环,从加工顺序我们可以知道,A1和A2是组成环,A0是最后形成的环,为封闭环。从软件中我们也可以设置封闭环A0。为了方便说明三者之间的关系,我们添加一条辅助线,与A0相交于c点。如图4所示:
图4 尺寸链
由图4的图形关系可得:
A0=A1×cosα+A2×cosβ(1)
由于实际尺寸A1和A2会在公差范围内变动,从而角度α和角度β也会随着在一定范围内变动,最终都会对A0的实际尺寸产生影响。这里我们可以采用对公式(1)两端进行微分,可以得到以下方程(2)
将上述数值代入式(1)和式(6),可得:
所以,使用微分法得到具体闭环公差为1.536mm,利用公差对称分布可得:
下面,笔者使用DCC软件进行尺寸链绘制以及计算,如下图:
图5 DCC计算结果
可以知道,计算闭环A0基本尺寸时,结果是一样的(手算中对闭环A0进行四舍五入),而闭环公差值也相差不大。
同时,软件DCC还可以对案例中角度α和β进行求解,从而可以验证手算逻辑思路和软件是否一致,接着,笔者把角度α设置为闭环,应用多闭环进行求解,具体计算过程下图。
图6 多闭环功能展示
图7 α值求解
图8 β值求解
上述分析中,笔者把人工处理尺寸链的逻辑思路写了出来,主要使用投影法和全微分法,我们可以知道处理简单案例就要如此分析,而面对复杂案例时,手工处理的方法和计算过程是相当复杂的。因此,使用软件计算尺寸链的优点就体现出来了,在软件中,只需要找出完整的尺寸链图,输入对应组成环的数据,软件就可以直接分析,直接计算。笔者使用DCC软件计算这个案例,整个计算过程大概花费2分钟,而手工计算需要的时间肯定多得多,具体时间因人而异。总体而言,DCC软件作为二维尺寸链计算工具,开发人员已经把逻辑思路写进软件里面,可以极大帮助工程师提高计算的效率和准确性。
工程师必备
- 项目客服
- 培训客服
- 平台客服
TOP




















