什么是铸造?铸造的6大常用方法,14种缺陷分析及控制
2022年5月16日 14:08浏览:4431 收藏:6
铸造的定义:是将液体金属浇铸到与零件形状相适应的铸造空腔中,待其冷却凝固后,获得具有一定形状、尺寸和性能金属零件毛坯的成型方法。
常见的铸造方法有砂型铸造和精密铸造,详细的分类方法如下表所示。
-
粘土的资源丰富、价格便宜。使用过的粘土湿砂经适当的砂处理后,绝大部分均可回收再用; -
制造铸型的周期短、工效高; -
混好的型砂可使用的时间长; -
适应性很广。小件、大件,简单件、复杂件,单件、大批量都可采用;
-
因为每个砂质铸型只能浇注一次,获得铸件后铸型即损坏,必须重新造型,所以砂型铸造的生产效率较低; -
铸型的刚度不高,铸件的尺寸精度较差; -
铸件易于产生冲砂、夹砂、气孔等缺陷。
-
尺寸精度较高。一般可达CT4-6(砂型铸造为CT10~13,压铸为CT5~7); -
可以提高金属材料的利用率。熔模铸造能显著减少产品的成形表面和配合表面的加工量,节省加工台时和刃具材料的消耗; -
能最大限度地提高毛坯与零件之间的相似程度,为零件的结构设计带来很大方便。铸造形状复杂的铸件熔模铸造能铸出形状十分复杂的铸件,也能铸造壁厚为0.5mm、重量小至1g的铸件,还可以铸造组合的、整体的铸件; -
不受合金材料的限制。熔模铸造法可以铸造碳钢、合金钢、球墨铸铁、铜合金和铝合金铸件,还可以铸造高温合金、镁合金、钛合金以及贵金属等材料的铸件。对于难以锻造、焊接和切削加工的合金材料,特别适宜于用精铸方法铸造; -
生产灵活性高、适应性强熔模铸造既适用于大批量生产,也适用小批量生产甚至单件生产。
-
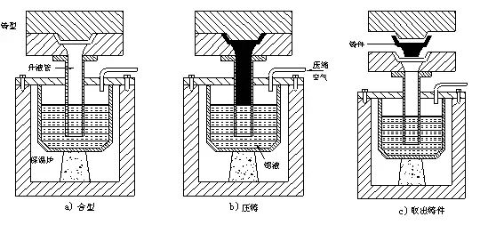
产品质量好。铸件尺寸精度高,一般相当于6~7级,甚至可达4级;表面光洁度好,一般相当于5~8级;强度和硬度较高,强度一般比砂型铸造提高25~30%,但延伸率 降低约70%;尺寸稳定,互换性好;可压铸薄壁复杂的铸件; -
生产效率高。机器生产率高,例如国产JⅢ3型卧式冷空压铸机平均八小时可压铸600~700次,小型热室压铸机平均每八小时可压铸3000~7000次;压铸型寿命长,一付压铸型,压铸钟合金,寿命可达几十万次,甚至上百万次;易实现机械化和自动化; -
经济效果优良。由于压铸件尺寸精确,表泛光洁等优点。一般不再进行机械加工而直接使用,或加工量很小,所以既提高了金属利用率,又减少了大量的加工设备和工时;铸件价格便易;可以采用组合压铸以其他金属或非金属材料。既节省装配工时又节省金属。
-
压铸时由于液态金属充填型腔速度高,流态不稳定,故采用一般压铸法,铸件易产生气孔,不能进行热处理; -
对内凹复杂的铸件,压铸较为困难; -
高熔点合金(如铜,黑色金属),压铸型寿命较低; -
不宜小批量生产,其主要原因是压铸型制造成本高,压铸机生产效率高,小批量生产不经济。
-
复用性好,可“一型多铸”,节省了造型材料和造型工时。 -
由于金属型对铸件的冷却能力强,使铸件的组织致密、机械性能高。 -
铸件的尺寸精度高,公差等级为IT12~IT14;表面粗糙度较低,Ra为6.3m。 -
金属型铸造不用砂或用砂少,改善了劳动条件。
-
浇注时金属液的上升速度和结晶压力可以调节,故可适用于各种不同铸型(如金属型、砂型等),铸造各种合金及各种大小的铸件; -
采用底注式充型,金属液充型平稳,无飞溅现象,可避免卷入气体及对型壁和型芯的冲刷,铸件的气孔、夹渣等缺陷少,提高了铸件的合格率; -
铸件在压力下结晶,铸件组织致密、轮廓清晰、表面光洁,力学性能较高,对于大薄壁件的铸造尤为有利; -
省去补缩冒口,金属利用率提高到90%~98%; -
劳动强度低,劳动条件好,设备简易,易实现机械化和自动化。
-
用离心铸造生产空心旋转体铸件时,可省去型芯、浇注系统和冒口; -
由于旋转时液体金属在所产生的离心力作用下,密度大的金属被推往外壁,而密度小的气体、熔渣向自由表面移动,形成自外向内的定向凝固,因此补缩条件好,铸件组织致密,力学性能好; -
便于浇注“双金属”轴套和轴瓦,如在钢套内镶铸一薄层铜衬套,可节省价格较贵的铜料; -
充型能力好; -
消除和减少浇注系统和冒口方面的消耗。
-
铸件内自由表面粗糙,尺寸误差大,品质差; -
不适用于密度偏析大的合金(如铅青铜)及铝、镁等合金。
-
浇注温度低、浇注速度太慢或断续浇注; -
横浇道、内浇道截面积小; -
铁水成分中碳、硅含量过低; -
型砂中水分、煤粉含量过多,发气量大,或含泥量太高,透气性不良; -
上砂型高度不够,铁水压力不足。
-
提高浇注温度、加快浇注速度,防止断续浇注; -
加大横浇道和内浇道的截面积; -
调整炉后配料,适当提高碳、硅含量; -
铸型中加强排气,减少型砂中的煤粉,有机物加入量; -
增加上砂箱高度。
-
浇包中铁水量不够; -
浇道狭小,浇注速度又过快,当铁水从浇口杯外溢时,操作者误认为铸型已经充满,停浇过早。
-
正确估计浇包中的铁水量; -
对浇道狭小的铸型,适当放慢浇注速度,保证铸型充满。
-
铸件落砂过于剧烈,或在搬运过程中铸件受到冲撞而损坏; -
滚筒清理时,铸件装料不当,铸件的薄弱部分在翻滚时被碰断; -
冒口、冒口颈截面尺寸过大;冒口颈没有做出敲断面( 凹槽)。或敲除浇冒口的方法不正确,使铸件本体损伤缺肉。
-
铸件在落砂清理和搬运时,注意避免各种形式的过度冲撞、振击,避免不合理的丢放; -
滚筒清理时严格按工艺规程和要求进行操作; -
修改冒口和冒口颈尺寸,做出冒口颈敲断面,正确掌握打浇冒口的方向。
-
砂粒太粗、砂型紧实度不够; -
型砂中水分太高,使型砂不易紧实; -
浇注速度太快、压力过大、温度过高; -
型砂中煤粉太少; -
模板烘温过高,导致表面型砂干枯;或模板烘温过低,型砂粘附在模板上。
-
在透气性足够的情况下,使用较细原砂,并适当提高型砂紧实度; -
保证型砂中稳定的有效煤粉含量; -
严格控制砂水分; -
改进浇注系统,改进浇注操作、降低浇注温度; -
控制模板烘烤温度,一般与型砂温度相等或略高。
-
型砂表面强度不够; -
模样上无圆角或拔模斜度小导致钩砂、铸型损坏后没修理或没修理好就合箱; -
砂型在浇注前放置时间过长,风干后表面强度降低; -
铸型在合箱时或搬运过程中损坏; -
合箱时型内浮砂未清除干净,合箱后浇口杯没盖好,碎砂掉进铸型。
-
提高型砂中粘士含量、及时补加新砂,提高型砂表面强度; -
模样光洁度要高,并合理做出拔模斜度和铸造圆角。损坏的铸型要修好后再合箱; -
缩短浇注前砂型的放置时间; -
合箱或搬运铸型时要小心,避免损坏或掉入砂型腔砂粒; -
合箱前清除型内浮砂,并盖好浇口。
-
紧实度不够或不匀; -
面砂强度不够、或型砂水分过高; -
液态金属压头过大、浇注速度太快。
-
提高铸型紧实度、避免局部过松; -
调整混砂工艺、控制水分,提高型砂强度; -
降低液态金属的压头、降低浇注速度。
-
砂箱未紧固、压铁质量不够或去除压铁过早; -
浇注过快,冲击力过大; -
模板翅曲。
-
增加压铁重量,特铁水凝固后再去除压铁; -
降低浇包位置,降低浇注速度; -
修正模板。
-
模样上有深而小的凹槽,同于结构特征或拔模斜度小,起模时将砂型带坏或震裂; -
紧实度不匀,铸型局部强度不足; -
合箱、搬运铸型时,不小心使铸型局部砂块掉落。
-
模样拔模斜度要合适、表面光洁; -
铸型紧实度高且均匀; -
合箱、搬运过程中,操作小心。
-
模样制作不良,上下模没有对准或模样变形; -
砂箱或模板定位不准确,或定位销松动; -
挤压造型机上零件磨损,例如正压板下衬板、反压板轴承的磨损等; -
浇注时用的套箱变形,搬运、围箱时不注意,使上下铸型发生位移。
-
加强模板的检查和修理; -
经常检查砂箱、模板的定位销及销孔、并合理地安装; -
检查挤压造型机的有关零件,及时调整,磨损大的要更换; -
定期对套箱整形。脱箱后的铸型在搬运时要小心。在面浇注的砂型,应该做一排砂型围一排。
-
铁水化学成分不合要求,碳、硅含量过高; -
炉前孕育的铋加入浇包内过早或过迟,或是铋量不足。
-
正确选择化学成分,合理配料,使铁水中碳、硅量在规定范围内; -
增加铋的加入量并严格炉前孕育工艺。
-
铁水中碳、硅含苞欲放量过低,含硫量过高; -
浇注温度过高; -
冒口颈过大、过短,造成局部过热严重,或重口太小,补缩不好; -
铸件在清理、运输过程中,受冲击过大。
-
控制铁水化学成分在规定的范围内; -
降低浇注温度; -
合理设计冒口系统; -
铸件在清理、运输过程中避免过度冲击。
-
小炉料潮湿、锈蚀严重或带有油污,使铁水含气量太多、氧化严重; -
出铁孔、出铁槽、炉衬、浇包衬未洪干; -
浇注温度较低,使气体来不及上浮和逸出; -
炉料中含铝量较高,易造成氢气孔; -
砂型透气性不好、型砂水分高、含煤粉或有机物较多,使浇注时产生大量气体且不易排出。
-
炉料要妥善管理,表面要清洁; -
炉缸、前炉、出铁口、出铁槽、浇包必须烘干; -
提高浇注温度; -
不使用铝量过高的废钢; -
适当降低型砂的水分、控制煤粉加入量,扎通气孔等。
-
铁水中碳、硅含量过低,收缩大; -
浇注速度太快、浇注温度过高,使得液态收缩大; -
浇注系统、冒口设计不当,无法实现顺序凝固; -
冒口太小,补缩不充分。
-
控制铁水的化学成分在规定范围内; -
降低浇注速度和浇注温度; -
改进浇冒口系统,利用顺序凝固; -
加大冒口体积,保证充分补缩。
-
碳、硅含量较高的铁水,含氢量过高; -
炉料中带入的铬等白口形成元素过多; -
元素偏析严重;
-
控制化学成分、碳、硅含量不宜过高; -
炉衬、包衬要烘干;型砂水分不宜过高; -
加强炉料管理,减少带入白口化元素。
技术邻APP
工程师必备
工程师必备
- 项目客服
- 培训客服
- 平台客服
TOP
1
6




















