干货|闸阀、截止阀、蝶阀的检修工艺
2022年7月21日 10:41在阀体内设一个与介质流向成垂直方向的平面闸板,靠这一闸板的升降来开启或关闭介质的通路。
闸阀只作为截断装置之用,或者完全开启或者完全关闭,不能作调整或节流之用,它的应用非常广泛,在机组的给水、主汽、凝结水、抽汽、空气、循环冷却水、轴冷水等系统中,均安装有许多闸阀。
(1)按闸板结构形式分为单闸板和双闸板两种。
(2)根据阀心结构形式又可分为楔式,平行式和弹性三种。
楔式闸板是指闸板的两个密封面成一定角度;平行式闸板的两个密封面平行,弹性闸板在两个平行闸板间加有弹簧。
(3)根据闸杆的结构形式和在阀门开启时闸杆是否伸出阀体又可分为明杆式和暗杆式两类。在阀门开启时阀杆伸出阀体的叫明杆式;不伸出阀体的叫暗杆式。
(4)由上面各种形式的组合,又可构成各种不同形式的结构。
高压电动明杆楔式闸阀结构特点及检修工艺
闸阀虽然有很多种结构形式,但它们的工作原理以及检修工艺标准是一致的,其结构、检修工序大同小异,下面就以高压电动明杆楔式闸阀为例,简要介绍一下闸阀的结构特点及检修工艺。
1
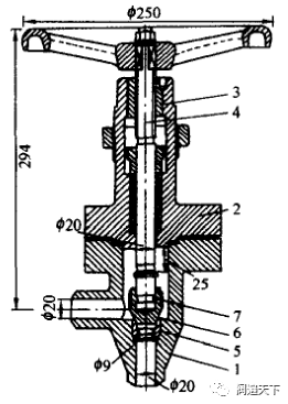
高压电动明杆楔式闸阀构造
1.电动机构;2.丝母;3.阀杆;4.支架;5.压板;
6.密封盘;7.阀体;8.开口止动环;9.阀板
图 2-1 电动明杆楔式单闸板阀
如图 2-1 所示,该阀门的闸板为楔形单闸板,由密封盘、压板、开口止动环、密封圈,共同构成阀盖自密封装置,电动机构内部安有丝母与阀杆配合。当阀门开启时,阀杆向外移动,闸板随着提起,使闸门开启;反之,使闸门关闭。
2
高压电动明杆楔式闸阀检修工艺
1)高压电动明杆楔式闸阀解体。
①办理好检修工作票,确认管道内无存水、无压力后方可开工;
②准备好工器具,搭好脚手架、吊点;
③联系运行人员停电,配电人员拆线;
④手动开启阀门 1-2 扣,以防闸板与阀座卡死;
⑤用导链、钢丝绳,利用电动机构上的吊环,把电动机构吊装好,但不要影响手轮的转动,拆去电动机构与支架之间的紧固螺栓,转动手轮,使电动机构退出的同时平稳吊起,放置在铺好胶皮的地上;
⑥拆去支架与阀座间的连接螺栓,用导链吊下;
⑨做好标记,取出阀体边上的闸板,将阀体口封好。
2)高压电动明杆楔式闸阀检修。
①电动机构的传动性能检查,应保证蜗轮、蜗杆无严重磨损,电动头结合面不漏油,切换手柄灵活不卡涩,根据情况填加或更换润滑油。
②记录阀门原行程和调整情况,以便检修后调整。打开齿轮箱盖,取下蜗轮、蜗杆进行检查,其磨损不应超过齿厚的 1/3,啮合部分不应有裂纹及啮合不良现象。检查轴承有无磨损、转动不灵活或异常响声等,轴承间隙应符合标准。检查与电动机相连的联轴器部分是否完整、可靠,箱体各密封面应清理干净,衬垫应完好,保证严密不漏油。将轴承、箱体清扫干净,依次装复蜗轮、蜗杆等,箱体内加足润滑油(脂),封好箱盖,做电动、手动切换试验,应灵活可靠。
③检查支架、阀座是否有裂纹、砂眼等缺陷,如有,应挖净缺陷后补焊。
④检查压板,应无明显的变形,否则应矫正。
⑥密封盘与阀座配合面,应无拉伤、沟痕,且与阀座配合无卡涩等不良现象。
⑦盘根压盖与门杆及密封盘之间的间隙一般在 0.2-0.25mm 之间。
⑧阀杆螺扣完整、无损伤,与丝母配合良好,无弯曲、腐蚀等现象。螺扣宽度磨损超过 1/5 时,应更换新阀杆。
⑩检查、清扫各紧固螺栓、螺母,涂铅粉油。
3)高压电动明杆楔式闸阀组装。
①回装时必须保证阀体内部及各部件清洁干净;
②更换新密封填料;
③按照与拆卸相反的步骤回装阀门。
截止阀的关闭是依靠阀杆压力,使阀头与阀座紧密压合、实现密封。
其主要用途是关断,也可粗略调节流量,但不能当节流阀使用。截止阀在发电厂中应用十分广泛,特别是在较小的通道中,当要求有较好的关断密封性时,多采用此种阀门。
优点:结构简单,密封性好,制造、维修方便。
缺点:流体阻力大,开、闭力较大,而且随着通路截面积的增大而迅速增加。因此,制成通路截面积较大而又十分可靠的截止阀是很困难的。
截止阀一般有直通式、角式和直流式三种。
(1)直通截止阀。
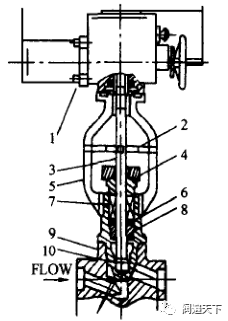
直通截止阀的阀杆与介质通路中心线成 90º角,这种截止阀在电厂中利用最广。如图 2-2 所示。
图 2-2 直通式截止阀
1:电动机构;2.限位滑块;3.阀杆;4.盘根压盏;
5.支架;6.垫片;7.填料;8.备帽;9.阀座;10.阀头
(2)角式截止阀。
角式截止阀的特点是介质在阀内与原来的流向转成 90º,见图 2-3。
图 2-3 高压角式截止阀
1.阀座;2.阀盖;3.丝母;4.阀杆;
5.阀座密封圈;6.阀头;7.开口环
(3)直流式截止阀。
直流式截止阀是阀门的阀杆与介质通路中心线成一角度,见图 2-4。
图 2-4 直流式截止阀
1.手轮;2.丝母;3.阀盖;4.阀杆;5.阀体;6.阀瓣
电动直通式截止阀结构特点及检修工艺
下面以电动直通式截止阀为例,简要介绍一下截止阀的结构特点及检修工艺。
1
电动直通式截止阀构造
电动直通式截止阀的连接形式为承插式焊接,阀门支架与阀座采用螺纹连接,门杆与阀座之间的密封,从内到外,采用的是先用备帽与阀座螺纹连接,其上盖垫片,然后是填料,最后是盘根压盖,密封效果可靠。如图 2-2 所示。
2
电动直通式截止阀检修工艺
1)电动直通式截止阀解体。
①办理好工作票,确认管道系统内无存水、无压力后,方可开工;
②准备好专用工具及其他工器具,搭好脚手架、吊点,联系配电人员拆去电源线;
③手动开启阀门 1-2 扣后,用导链、钢丝绳把电动机构吊装好,拆卸电动机构与支架,连接螺栓,将电动机构平稳地退出、吊下;
④拆去阀门指示滑块螺栓,取下平键保管好;
⑤将支架逆时针方向旋转退出、吊下;
⑥拆卸盘根压盖紧固螺栓,取下盘根压盖,挖出填料;
⑦用专用工具,将备帽旋退,抽出门杆及阀头,将阀口封住。
2)电动直通式截止阀检修。
①检查阀座、阀头密封面,应光滑、无冲蚀、沟痕、麻点等缺陷,如有,应视缺陷程度进行研磨处理或修复后研磨。
②检查阀杆,应无弯曲、磨损、冲蚀等缺陷。与填料密封处,应光滑、无沟痕等缺陷,阀杆上的螺纹无损伤,并与丝母配合良好,转动自如,否则应修复。阀杆弯曲应在 0.1mm以内,磨损腐蚀坑深度不应超过0.1~0.2mm。
③测量阀杆与备帽之间的间隙,应在 0.2~0.25mm 范围内,阀座与盘根压盖之间的间隙,应在0.2~0.3mm 范围内。
④检查支架与阀座间的连接螺纹,应无损伤,配合良好。各紧固螺栓,应与螺帽配合良好。
⑤丝母螺纹磨损程度不应超过丝扣宽度的1/3。
⑥检查传动机构内、蜗轮、蜗杆的磨损情况,其磨损,不应超过齿厚的 1/3,啮合部分不应有裂纹和啮合不良现象。检查轴承有无磨损及转动不灵活等现象,手动、自动切换灵活可靠,传动性能好。
3)电动直通式截止阀组装。电动截止阀的组装过程与解体步骤相反。
蝶阀的阀瓣是圆盘形的,围绕着一个轴旋转,旋角的大小便是阀门的开度。
蝶阀近年来发展较快,在现代发电厂的冷却水系统、凝结水系统以及凝结水除盐系统上,应用十分广泛。
优点:轻巧、开关省劲,结构简单,开、闭迅速,切断、节流均可用,操作、维护、检修方便。
蝶阀按传动方式,主要可分为手动、液动、电动、气动四种类型,见图 2-5。
图 2-5 蝶阀
(a)手动蝶阀;(b)液动蝶阀;(c)电动蝶阀;(d)气动蝶阀
下面就以电动蝶阀为例,简要介绍一下蝶阀的结构特点及检修工序
1
电动蝶阀构造
如图 2-5(c)所示。电动蝶阀主要由阀体、阀轴、阀盘、阀盖、密封环、电动机构等部件构成。
2
电动蝶阀检修工
1)电动蝶阀解体。
主要包括:
①办理好工作票,确认管内无存水、无压力,将该阀置于全关闭位置,拆去电源接头;
②拆电动机连接螺栓,将其吊放在检修场地;
③拆法兰与管道法兰的连接螺栓,吊出阀体,注意不要碰坏阀盘;
④拆盘根压盖,取出填料;
⑤拆卸底部阀盖,取出垫圈和推力轴承;
⑥拆卸轴与阀盘问的固定锥销螺栓,抽出阀轴,带出阀盘,做好流向记号;
⑦拆去阀体上的固定密封环螺栓,取下密封环。
2)电动蝶阀检修。
主要包括:
①清洗阀轴、阀套,检查阀轴弯曲度,应在 0.1mm 以内,检查阀套的磨损情况;
②检查密封环有无划痕、砂眼,用水清洗,切勿与油接触,以防橡胶老化,有必要时,更换新密封环;
③更换填料、“O”型环;
④检查清洗阀盘;
⑤检查传动机构是否灵活,检查传动齿轮磨损情况;
⑥更换润滑油;
⑦测量密封环的尺寸,测出阀轴套与阀轴间隙,应在 0.2-0.3mm 之间;
⑧把所有螺栓涂上铅粉油。
主要包括:
①在阀体上,装上密封环,用压板压住,并用螺栓锁紧;
②清扫密封面,装配阀盘、阀轴,注意流向记号;
③装上下阀套、垫圈和下阀盖;
④装上上阀套和新填料,用盘根压盖压住,锁好上阀盖螺栓;
⑤清扫管道、阀门,应无任何杂物留在管内;
⑥注意管道流向,将阀门处于全关闭位置,把阀门吊装在管道上,注意吊装时,勿碰伤阀体,对角均匀地锁紧螺栓;
⑦装上传动机构,对组装后的阀门做试运行,开关数次,检查灵活性。
---END---
免责声明:本文源自阀门与阀门检修,仅供学习和交流。如有侵权请联系我们删除。
工程师必备
- 项目客服
- 培训客服
- 平台客服
TOP




















