OLED | 三星显示伸缩PC Slideable OLED屏采用双堆栈串联结构
2022年9月30日 14:40CINNO Research产业资讯,9月29日,三星显示在Intel Innovation活动上公开的Slideable OLED是将发光层堆叠成2层的双堆栈串联结构,以及采用将触摸电极应用于面板内的Y-Octa技术等。由于目前还处于原型阶段,预计确保量产技术还需要时间。
三星显示社长崔周善于9月27日(当地时间)在美国圣何塞麦克纳里会议中心举行的“Intel Innovation”活动中,公开了向侧面拉起时,屏幕尺寸从13吋增加到17吋的Slideable PC用OLED屏。正如崔周善社长所说,当天,三星显示在全球首次展示了17吋Slideable PC的原型机,但并没有公开实际驱动该屏幕的画面。
据悉,当天公开的Slideable OLED原型的代表性开发方向是将RGB OLED堆叠成两层的双叠串联(Two Stack Tandem),以及在薄膜封装(从水分、氧气中保护OLED)上形成触摸电极的On-Cell方式技术Y-OCTA、低温多晶氧化物(LTPO)薄膜晶体管(TFT)等。
双堆栈串联 OLED 是两层发光层,与单堆叠(Single Stack)方式相比,发光层是其两倍,使用寿命是其四倍。目前,三星显示正在量产的智能手机和IT产品(平板电脑、笔记本电脑)和汽车用OLED 都是单堆栈产品。三星显示为应对IT用OLED市场的爆发,今年上半年开始开发双堆栈串联OLED。在上个月下旬的“IMID 2022”活动,三星显示也表明,计划在汽车用OLED上也采用双堆栈串联方式。
Slideable OLED的另一个发展方向是在薄膜封装上形成触摸电极的On Cell技术,即Y-OCTA。与将触控膜贴附到面板上的Add on方式相比,On Cell方式由于触控电极在面板内,因此 可以减小面板厚度。但据悉,Y-OCTA很难应用于大尺寸产品上。
Slideable OLED的薄膜晶体管(TFT)的基本概念是三星电子Galaxy S系列和苹果iPhone高端(Pro)机型等旗舰智能手机中使用的LTPO TFT。整机厂商为了在高规格产品中实现低功耗而采用LTPO TFT。LTPO TFT 基于低温多晶硅(LTPS) TFT ,把 LTPS 元件驱动所需的多个晶体管中的开关元件替换为氧化物(Oxide)。氧化物具有减少屏幕电流泄露的优点。
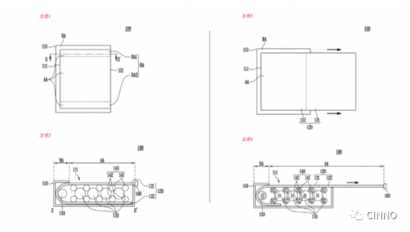
据推测,三星显示为了实现此次Slideable OLED原型,采用了驱动辊和马达等。三星显示在2019年申请专利的“可滑动显示装置”专利说明书中介绍了可滑动驱动技术。三星显示目前向三星电子等供应的可折叠OLED采用铰链折叠屏幕。
另一方面,业界预测称,三星显示要想确保Slideable OLED的量产技术,还需要时间。超薄玻璃(UTG)和透明聚酰亚胺(PI)薄膜等Cover Window材料的选择也是个问题。在可视性方面,UTG固然好,但在耐久性方面,透明PI膜占优势。
另外,Slideable OLED还面临着去除偏光片的COE(Color Filter on Encapsulation)技术的挑战。据悉,三星显示为取代Slideable OLED中的偏光片,计划在低温下在薄膜封装上打印彩色滤光片,并采用黑色PDL(Pixel Define Layer)的COE技术,但据悉,目前存在很多尚未解决的问题。
在现有的OLED中,偏光片起到阻止面板外部的光,在像素之间与电极接触反射的作用,从而提高显示可视性,当光通过不透明的塑料片-偏光片时,亮度降低50%以上,造成光效率降低。在OLED中去除偏光片,使用彩色滤光片可以更清晰地呈现颜色,降低功耗。三星显示为去年推出的三星电子可折叠手机Galaxy Z Fold3供应了业界首个无偏光片的OLED屏。
三星显示在2019年申请的专利“可滑动显示装置”(SLIDABLE DISPLAY DEVICE)技术的专利说明书中表示:“通过采用驱动辊和马达等,可以将产品画面像右图一样滑动。”
第一章:中国市场折叠手机发展概述
一. 中国市场折叠手机发展概述
二. 中国市场已上市折叠手机产品清单
第二章:中国折叠手机市场发展趋势分析
一. 中国市场折叠手机季度销量趋势分析
二. 中国市场折叠手机按机型季度销量排名分析
三. 中国市场当季上市折叠新机发展趋势分析
四. 中国市场折叠手机技术发展趋势分析
第三章:中国折叠手机市场品牌竞争格局分析
一. 中国市场主流品牌折叠手机季度销量排名分析
二. 中国市场主流品牌折叠手机市场份额分析
三. 中国市场主流品牌折叠手机品牌策略分析
推荐阅读
更多商务合作,欢迎与小编联络!
扫码请备注:姓名+公司+职位
我是CINNO最强小编, 恭候您多时啦!
CINNO于2012年底创立于上海,是致力于推动国内电子信息与科技产业发展的国内独立第三方专业产业咨询服务平台。公司创办十年来,始终围绕泛半导体产业链,在多维度为企业、政府、投资者提供权威而专业的咨询服务,包括但不限于产业资讯、市场咨询、尽职调查、项目可研、管理咨询、投融资等方面,覆盖企业成长周期各阶段核心利益诉求点,在显示、半导体、消费电子、智能制造及关键零组件等细分领域,积累了数百家大陆、台湾、日本、韩国、欧美等高科技核心优质企业客户。
工程师必备
- 项目客服
- 培训客服
- 平台客服
TOP




















