基于AMESim的电磁微型精密比例阀迟滞性优化分析
|研究推荐|
本栏目旨在不拘泥于内容的限制,以点带面,介绍流控领域不同的研究方向、课题以及优秀的作者和团队,为广大读者及研究人员提供新鲜的研究思路,为作者及团队提供展示平台。
本期为各位读者推荐《基于AMESim的微型精密比例阀迟滞性优化分析》,并向各位读者介绍该课题的研究背景、取得成果以及研究团队。
点击下方“阅读原文”可阅读及下载本文。
基于AMESim的微型精密比例阀迟滞性优化分析
Hysteresis Optimization Analysis of Miniature Precision Proportional Valve Based on AMESim
叶鑫宇,胡竣翔,胡小雄,刘文,曹建波,章苗英,刘丽娇
(浙江万里学院信息与智能工程学院;杭州华澜微电子股份有限公司;星宇电子(宁波)有限公司;国家气动产品质量监督检验中心)
YE Xin-yu, HU Jun-xiang, HU Xiao-xiong, LIU Wen, CAO Jian-bo, ZHANG Miao-ying, LIU Li-jiao
(School of Information and Intelligent Engineering, Zhejiang Wanli University;Sage Microelectronics Co., Ltd.;Xingyu Electron Ning Bo Co., Ltd.;National Quality Supervision and Inspection Center of Pneumatic Products)
针对微型比例阀流量控制精度低的问题,在结构设计上采用阻尼弹簧组件,分析比例阀系统的工作原理,利用AMESim建立了系统仿真模型,分析了线圈匝数、弹簧刚度、弹簧预紧力等参数对微型比例阀流量迟滞特性的影响。利用序列二次规划(NLPQL)优化算法,以线圈匝数为主变量,目标输出流量及最低迟滞性为优化目标,确定3组较优理论参数,将理论参数进行仿真,确定最优参数并进行实验验证。结果表明,带有阻尼弹簧组件的微型比例阀的输出流量平稳,流量迟滞性低,控制精度高。
Aiming at the problem of low flow control accuracy of the miniature proportional valve, damping spring assembly is designed in the structure. By analyzing the working principle of the system of proportional valve, establishing the system simulation model by AMESim. And analyze the influence of parameters such as the number of coil turns, spring stiffness, and spring preload on the hysteresis characteristics of the flow rate of the miniature proportional valve. Using the NLPQL optimization algorithm, regarding the number of coil turns as the main variable, the target output flow and the lowest hysteresis as the optimization objectives. Choosing three sets of better theoretical parameters and simulate them to determine the optimal parameter, experiment the verification. The results show that the output flow of the miniature proportional valve with damping spring assembly is stable, the flow hysteresis is low, and the control accuracy is high.
■ 阻尼弹簧组件;AMESim;迟滞性;快速优化设计
■damping spring assembly, AMESim, flow characteristics, rapid optimization design
研究背景
新冠疫情爆发以来,呼吸机(如图1所示)作为各大医院必备的抢救设备之一,是延长患者生命,为进一步治疗争取宝贵时间的重要工具,在临床急救和辅助治疗中发挥着极其重要的作用。因此,国内外对呼吸机的需求量猛增,现全球呼吸机需求至少1500万台,各国都在抢购中国生产的呼吸机。
图1 呼吸机结构爆炸示意图(圈注为微型精密比例阀)
中国尽管手握巨额海外订单,但由于疫情导致的全球物流不畅、往返中国航班锐减等问题,中国呼吸机制造商扩容增产并不容易,并且面临着供应链断裂的风险。为此,浙江省国防科技工业办公室下发了“关于紧急寻找有关零部件生产企业的通知”,如图2,通知上所列零部件中就包括比例流量阀。
图2 相关文件
精密微型比例阀是呼吸机等需流量控制相关设备必不可少的关键元器件。我国呼吸机用精密微型比例阀几乎全依赖进口。精密微型比例阀的研发和产业化,满足呼吸机生产的配件需求,有助于打破国外对精密微型比例阀的技术垄断,提升我国气动产品的整体水平,具有重大的经济和社会效益。
研究成果
微型比例阀的迟滞除了电磁铁本身存在的滞环外,还受电磁力、摩擦力、弹簧力等诸多因素影响。目前世界上高端微型精密比例阀的迟滞性为15%,而国内产品难以达到该精度。因此本研究以流量迟滞性作为研究对象,探究一种基于阻尼弹簧(即片簧)的精密控制方法及快速设计方法,为微型精密比例阀的设计及优化提供一种新的思路。
本团队与星宇电子(宁波)有限公司合作研发及生产微型精密比例流量阀,联合承担国家重点研发计划(2020科技助力经济):微型精密比例阀关键技术开发及产业化示范(项目编号:SQ2020YFF0417369)。目前已完成样件试制及系列化开发,相关内容如图3~图7所示。
项目至今已申请3项发明专利,分别为《呼吸机用双碟簧式精密比例阀》,《呼吸机用双碟簧式精密比例阀的比例控制方法》,《一种直动式微小流量比例阀》其中前2项已授权。
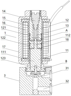
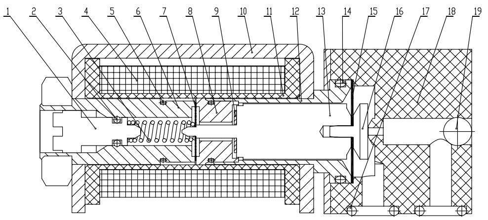
1.调节杆 2,5,14,17.O形圈 3.圆柱弹簧 4.线圈绕组 6.上静铁芯 7.副片簧 8.下静铁芯 9.隔磁片 10.线圈导磁架 11.线圈骨架 12.套管 13.动铁芯 15.主片簧 16.密封组件 18.主阀体 19.工艺孔堵塞钢珠
图3 微型精密比例阀模型
图4 技术路线
图5 研究内容
图6 阻尼弹簧结构设计
图7 基于阻尼弹簧微型精密比例流量阀整体结构设计
研究团队
数字化智造联合创新实验室研究团队现有教师6人,研究生11人。团队以流体传动与控制技术在海洋工程装备、塑性成形领域的应用研究为重点,主要研究方向包括精密液压/气动阀及系统开发、先进塑性成形、高端装备及人工智能、数字化设计与制造等。
团队负责人
刘文,男,博士毕业于北京交通大学,浙江万里学院副教授,硕士生导师,香港理工大学访问学者,宁波市拔尖人才,获宁波市“科技追梦人”称号。主要围绕精密流控技术、先进塑性成形、智能装备及人工智能等方面开展研究和产业化推广。先后主持和参与国家重点研发计划1项、应急攻关项目1项、浙江省自然科学基金2项,宁波市科技创新2025重点专项2项,承担企业委托课题30余项。先后发表论文20余篇,申请国家专利60余项;科研成果转化3项,实现年销售3000余万元。
部分主要团队成员
胡小雄,男,高级工程师,中国气瓶标准化技术委员会气瓶附件分会技术委员会委员,中国五金交电化工商业协会团体标准技术委员会委员,宁波液气密协会副秘书长,宁波市企业技术创新团队带头人,宁波市五一劳动奖章获得者,宁波市奉化区劳动模范。主要从事机械设计、电磁线圈及电磁阀的优化设计和创新,设计的“片式摩擦打滑机”获技术创新奖;主持研发的产品获中国液压件密封件协会“行业进步”和“新产品”,参与多部国家和行业标准的修订工作,浙江制造标准《低压阀用电磁线圈》的主要起草人。先后主持和参与国家重点研发计划1项、宁波市科技创新2025重点专项2项,奉化市工业科技计划项目2项。
严翔,男,博士毕业于北京交通大学,浙江万里学院讲师。主要从事工业控制网络智能化、智能检测技术、智能成型工艺与装备技术、高端数控装备技术等方面的工作,先后主持和参与国家自然科学基金1项、国家重点研发计划1项、应急攻关项目1项、浙江省自然科学基金2项,宁波市自然科学基金1项,承担企业委托课题10余项。先后发表论文10余篇,申请专利10余项。
文章来源:液压与气动
工程师必备
- 项目客服
- 培训客服
- 平台客服
TOP




















