基于微软专利的带蝴蝶出瞳扩展的光波导结构
摘要
在为增强和混合现实(AR&MR)应用设计光波导设备的过程中,所提供的视场(FOV)等参数是主要的兴趣所在。为了突破可实现的最大视场的极限,人们研究了各种方法,例如在从入射耦合到出射耦合的传播过程中分割视场的系统。一个非常流行的方法是所谓的 "蝴蝶出瞳扩展",即在FOV的正负部分使用两个独立的EPE光栅区域,这也被应用于微软的Hololens2。在这份文件中,我们展示了在VirtualLab Fusion中实现这样一个EPE概念,它基于微软的US9791703B1专利。
建模任务:基于专利US9791703B1的方法
任务描述
光导元件
有了光导组件,可以很容易地定义具有复杂形状的区域的系统。此外,这些区域可以配备理想化的或真实的光栅结构,作为入射器、出射器和扩瞳器发挥作用。
输入耦合和输出耦合的光栅区域
为了简单起见,我们在圆形区域使用了两个一维周期性入射耦合光栅(一个在第一表面,一个在第二表面)。这将导致FOV的左右部分的行为略微不对称,但可以通过将两个光栅组合成一个单一的二维周期结构(位于第一或第二表面)来克服这个问题。
为了重新组合和耦合光线,一个一维周期性的出射耦合器被应用,有一个矩形的区域。这是一个特殊的配置,为了使设计有更大的灵活性,可以用一个二维周期的出射耦合器来代替它。
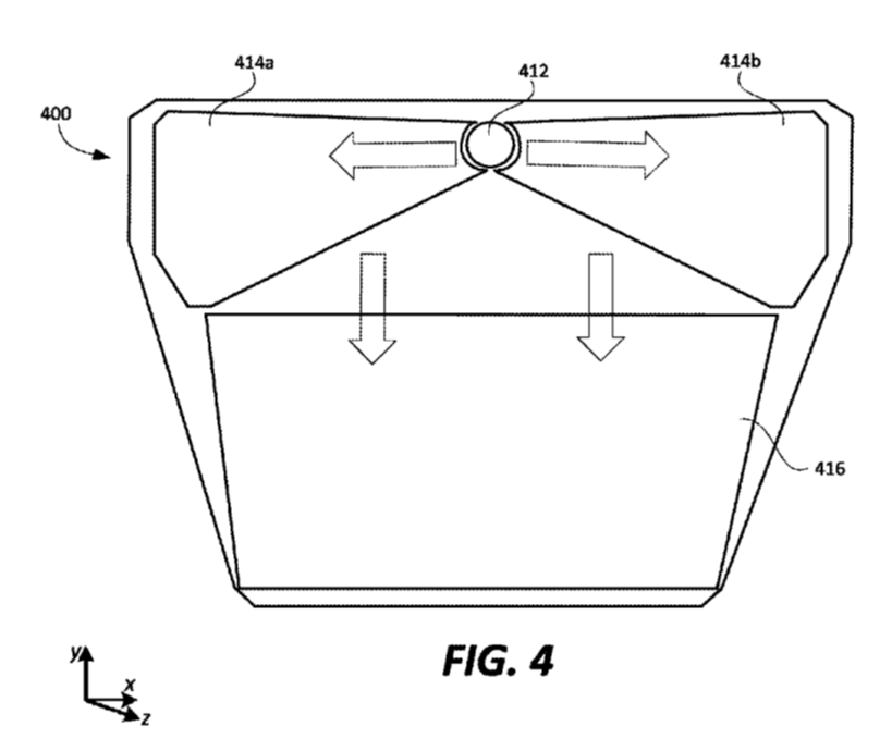
出瞳扩展器(EPE)区域
每个区域的形状可以使用不同的方法和定义策略来非常灵活地定义。在这个例子中,两个EPE都是由多边形区域与两个椭圆体结合起来定义的,以切割内部部分。这些光栅是一维周期性的,旋转角度为±35°(分别为左侧和右侧)。更多关于区域定义的信息在下面:
设计&分析工具
VirtualLab Fusion提供了一系列的工具来帮助 光学工程师设计和分析光导系统的任务。分析光导系统的任务,包括。
- 光导布局设计工具:
设计一个具有1D-1D光瞳扩展的光导。它可以作为您系统的基础。
- k域布局工具。
分析你的设计的耦合条件。
- 尺寸和光栅分析工具。
检测您的系统中的足迹,以确定 你的区域的大小和形状。
总结-元件
结果:系统中的光线
只有光线照射到 "眼盒"(摄像机探测器)上:
所有在光导内传播的光线:
FOV:0°×0°
FOV:−20°×0°
FOV:20°×0°
VirtualLab Fusion技术
工程师必备
- 项目客服
- 培训客服
- 平台客服
TOP




















