【精冲技术专辑】薄壁厚板零件精冲工艺与模具设计
零件冲压工艺分析
图1所示的互锁板是重型卡车变速箱上的重要零件。通过拨叉轴、互锁板等组成变速箱挡位互锁装置,实现各个挡位互锁功能,有效防止汽车行使过程中因颠动产生掉挡、乱挡的现象,增加行驶的安全性。该零件材料为16MnCr5,料厚为9mm,材料在球化退火后,实测抗拉强度为405MPa,屈服强度为326MPa。
该零件的使用要求是:以中心方孔定位,双点画线表示的轮廓面与拨叉配合,要求配合面有较低的表面粗糙度及较高的尺寸精度。然而两侧凸出悬臂的宽度仅为10mm,小于精密冲裁件结构工艺性标准的推荐值1.5~2t(t为零件厚度),且方孔与零件外形边缘仅为0.5t,远小于冲裁件工艺性中推荐值最小孔边距大于2t(必要时取1~1.5t)的要求,属于典型的薄壁厚板精冲件。如果仅仅从冲压件的工艺性来分析,该零件并不适合冲压生产,宜采用机加工方式生产,然而机加工生产方式,生产效率低下,生产成本极大。如果采用冲压生产,可以极大的提高效率,降低成本。由于零件壁厚太薄,采用冲压生产工艺,模具零件的工作寿命是一个难点。
为了满足冲压工艺要求,提高凸凹模强度和寿命,我们采取了局部增加零件壁厚尺寸,然后再通过二次修边达到零件要求尺寸的工艺措施。最终确定落料工序尺寸如图2所示,冲压生产工艺为:复合精冲(精冲外形和方孔)→一次修边→二次修边→去毛刺。

图1 互锁板零件图

图2 精冲工序外形简图
复合精冲模具结构设计
图3为互锁板复合精冲模结构简图,根据零件形状、尺寸及材料性能,计算出所需的冲裁力、压边力、反压力的大小和模具封闭高度及其外形尺寸,选用650t精冲压力机。复合精冲模具的工作过程如下:
⑴材料送进后,精冲压力机的下工作台升起,模具中的齿圈压板、反压板、退料块首先压紧板料,形成精冲所需的三向压应力。下工作台继续上行,模具刃口切入板料直至材料分离。
⑵冲裁完毕,模具开启,精冲压力机压边缸向下推动压边杆、退料杆,使齿圈压板和退料块将带料和冲孔废料从凸凹模中推出。精冲压力机反压缸向上推反压杆,使反压块将制件从凹模中顶出,然后用气将零件吹走。
⑶此后,带料通过送料机构送料,继续重复进行精冲。
复合精冲模设计要点:
⑴凸凹模及凹模是精冲模具的关键零件,它们的形状和尺寸直接影响精冲模具的刃口间隙和精冲零件剪切面的表面粗糙度值,它们的强度直接影响精冲模具的寿命。根据零件结构特征及精冲复合模的结构特点,凸凹模结构形式可以制作成两种,直通式(图4)和台阶式(图5)。直通式结构的优点是可以直接采用慢走丝线切割加工,加工比较简单,成本较低;但其强度及刚性较差,且难以固定在凸凹模固定板上。台阶式结构局部增加了凸凹模零件壁厚,提高了零件的刚度与强度,且由于凸凹模零件有更多的空间可以布置螺钉,因此简化了凸凹模固定方式。但此结构增加了模具加工难度,台阶孔需要采用坐标磨床来加工,增加了单个凸凹模零件加工成本。由于台阶式结构可以大大的提高模具寿命,故我们采用了这种结构形式的凸凹模。

图3 复合精冲模具结构简图
1-上模座 2-压边杆 3-退料杆 4-上模垫板 5-凸凹模固定板6-退料板 7-凸凹模 8-齿圈板固定板 9-齿圈板 10-导料机构11-滚动导向组件 12-下模座 13-反压杆 14-下模垫板15-冲头固定板 16-方孔冲头 17-反压块 18-凹模
图4 直通式凸凹模结构

图5 台阶式凸凹模结构
凹模与凸凹模之间的单边间隙均取为0.04mm,凸凹模与方孔冲头之间的单边间隙取为0.07mm。为了得到较好的精冲件剪切面光亮带,凹模刃口应倒R0.5mm的圆角。方孔冲头刃口倒半径为R0.2mm的圆角。
在冲击载荷作用下,模具要承受高压和瞬时高温。在高压和瞬时高温下,刃口工作表面和制件的剪切面之间产生相对滑动摩擦,因此要选用硬度高、耐磨性好、强度大及韧性佳的模具材料。凹模、凸凹模及冲头都选用高铬工具钢Cr12MoV,凹模及凸凹模的热处理硬度均为60~62HRC,冲头为58~60HRC。
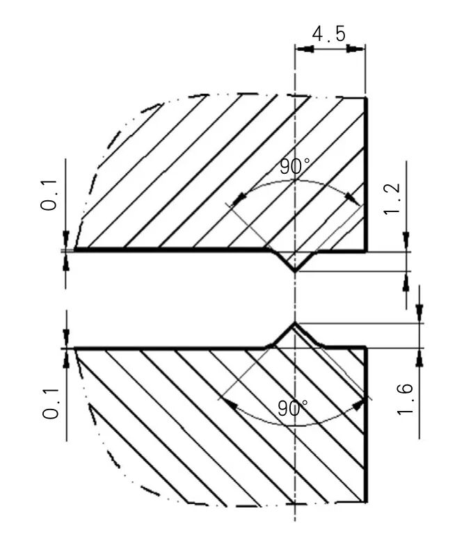
⑵齿圈结构。精冲模与普通冲模的最显著区别之一是采用了V形齿圈,以达到防止材料产生撕裂的目的。由于互锁板零件的厚度达9mm,宜采用双齿圈结构,即齿圈压板与凹模都做环形齿圈。双齿圈结构的设计如图6所示。

图6 双齿圈结构设计尺寸
其他零件如上、下模座、垫板、导向组件、定位销、压边杆、反压杆等与普通冲裁模设计方法相同。
修边模结构设计
为了保证复合精冲模具结构强度及寿命,零件局部增加了5mm的壁厚,一次修边没有办法得到比较好的冲裁剪切面,我们需要进行两次修边,一次修边后留下余量0.15mm,进行二次修边得到成品。一、二次修边模具结构简图如图7所示。
该模具在60t冲床上使用,其工作过程如下:
⑴将前工序冲孔后工件放在凹模上,由凹模上口进行初定位。

图7 修边模具结构简图
1-模柄 2-上模座 3-导套 4-上模垫板 5-凸模固定板6-方孔定位销7-凸模 8-限位挡块 9-凹模10-下模垫板 11-下模座 12-导柱
⑵启动冲床使其滑块下行,方孔定位销向下行走,穿入零件方孔,防止方孔变形,滑块继续下行,通过凸模与凹模对零件进行修边。
⑶冲床滑块上行后,工件在方孔与方孔定位销的摩擦力小于工件与凹模的型腔摩擦力,工件留在凹模内,废料用气槍从凹模刃口吹出。
⑷通过往复工作,上次修边制品从凹模型腔依次顶出到冲床工作台板。
修边模设计要点:
⑴必须设计限位挡块及方孔定位销,防止在修边过程中方孔产生变形,造成产品不合格。
⑵凸、凹模装配单面间隙为0.05mm。
⑶方孔定位销的长度高出凸模t+3mm(t为零件厚度),前端3~4mm做出一定锥度,便于导入方孔。
结束语
经生产实践验证,通过复合精冲与两次修边,所得互锁板能满足产品使用性能要求及生产数量需求。对于类似的薄壁厚板精冲件的生产具有一定的参考价值。
作者简介 肖振沿,技术部部长,助理工程师,主要从事精冲模具设计与精冲件生产工艺方案实施,参与申请专利2项,其中一项发明专利,一项实用新型专利,实用新型专利已授权,参与修订一项行业标准。
《薄壁厚板零件精冲工艺与模具设计》摘自《锻造与冲压》杂志第20期
工程师必备
- 项目客服
- 培训客服
- 平台客服
TOP




















