5.5米焦炉烘炉方案
2021年5月20日 13:24第一章 1号焦炉烘炉方案简述
XX公司1×65孔ZHJL5552D型焦炉,由北京XX公司设计,其特点为:双联火道、废气循环、焦炉煤气下喷、空气侧入.炭化室长15.98米,宽520mm,高5.5米。
烘炉就是把已经安装了护炉设备的冷态焦炉由常温逐步加热到能够装煤的温度.烘炉是焦炉投产前重要而复杂的工艺过程,其质量的优劣对焦炉的寿命有着至关重要的影响。因此对烘炉工作必须给予高度重视。烘炉前制定烘炉升温曲线,严格按计划升温,保持焦炉砌体的严密性。烘炉干燥阶段的基本原则是要在保障灰缝严密性和砌体完整性的前提下有效地排出水分。干燥期(100℃)前选定15 天,100℃后的升温期的确定是根据厂方提供的焦炉硅砖膨胀率及采用最大日安全膨胀率(0.030﹪-0.035﹪)计算而得,经计算,升温期为59.5天,烘炉时间共计 74.5天(天然气热值是焦炉煤气的三陪多,900度转正常加热,更换孔板等工作相当麻烦,而且天然气和煤气不宜混合,建议直接升温到装煤开工,启动风机,煤气回炉改正常加热,然后停用天然气并拆除天然气管道设备)。
本方案采用天然气及带炉门烘炉,炉温达到850℃-900℃后开始转为正常加热.由于本方案采用气体燃料带炉门烘炉。因此采用不砌外部小灶、不砌封墙、装上炉门、在炉门下部专设烘炉孔引入天然气进行烘炉。
从常温到转为正常加热前,使用高精度的热电偶及计算机系统进行温度检测和烘炉升温管理.转正常加热后,采用高温计测温并拆除烘炉测温设备。
为顺利完成烘炉工作,参加烘炉人员应事先进行岗位培训和安全教育。
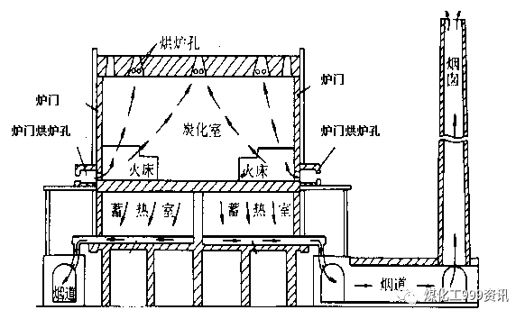
第二章 烘炉气体流程
在烘炉过程中砌体各部分遵循一定的升温曲线升温,砌体在一定的负荷下膨胀,避免升温过程中损坏焦炉砌体,破坏砌体的完整性和严密性。
如图所示:烘炉时加热气体的流向为:
炉门烘炉孔→炭化室→烘炉孔→立火道→斜道→蓄热室→小烟道→分烟道→总烟道→烟囱,最后排入大气。
第三章 烘炉图表制定
1.硅砖的膨胀率
本方案所采用砖样的热膨胀率数值是烨达耐火材料有限公司提供的。
2.烘炉图表制定原则
3.1根据经验,干燥期确定为15 天,在保证不熄火的前提下,适当增加吸力和空气过剩系数以保证炉体水分的有效排出。
3.2 升温期的膨胀率
确定升温期最大日安全膨胀率采用:300℃以前采用0.025%,300℃以后采用0.030%。
3.3 炉体高向各区段温度比例
烘炉阶段 |
温度比(﹪) |
烘炉初期 |
T蓄热室∕T燃烧室=0.90~0.95 |
T小烟道∕T燃烧室=0.55(0.7~0.8为宜) |
|
烘炉末期 |
T蓄热室∕T燃烧室=0.80~0.85 |
T小烟道∕T燃烧室=0.35(0.6为宜) |
3.4 烘炉图表
各个区域砖样在计划温度下的膨胀率(%)分别见表:
燃烧室砖样在计划温度下的膨胀率表(%)(表一)
计划温度(℃) |
砖号G021 |
砖号G030 |
砖号G034 |
砖号G041 |
||||
累计膨胀 |
间隔膨胀 |
累计膨胀 |
间隔膨胀 |
累计膨胀 |
间隔膨胀 |
累计膨胀 |
间隔膨胀 |
|
20-50 |
0.05 |
0.05 |
0.04 |
0.04 |
0.03 |
0.03 |
0.04 |
0.04 |
50-75 |
0.11 |
0.06 |
0.09 |
0.05 |
0.08 |
0.05 |
0.08 |
0.04 |
75-100 |
0.20 |
0.09 |
0.17 |
0.08 |
0.16 |
0.08 |
0.16 |
0.08 |
100-125 |
0.35 |
0.15 |
0.32 |
0.15 |
0.34 |
0.18 |
0.34 |
0.18 |
125-150 |
0.47 |
0.12 |
0.44 |
0.12 |
0.45 |
0.11 |
0.46 |
0.12 |
150-175 |
0.57 |
0.10 |
0.54 |
0.10 |
0.54 |
0.09 |
0.57 |
0.11 |
175-200 |
0.67 |
0.10 |
0.64 |
0.10 |
0.63 |
0.09 |
0.68 |
0.11 |
200-225 |
0.79 |
0.12 |
0.79 |
0.15 |
0.79 |
0.16 |
0.83 |
0.15 |
225-250 |
0.86 |
0.07 |
0.88 |
0.09 |
0.86 |
0.07 |
0.89 |
0.06 |
250-275 |
0.90 |
0.04 |
0.91 |
0.03 |
0.89 |
0.03 |
0.93 |
0.04 |
275-300 |
0.93 |
0.03 |
0.94 |
0.03 |
0.92 |
0.03 |
0.96 |
0.03 |
300-350 |
0.99 |
0.06 |
1.00 |
0.06 |
0.98 |
0.06 |
1.02 |
0.06 |
350-400 |
1.04 |
0.05 |
1.04 |
0.04 |
1.03 |
0.05 |
1.07 |
0.05 |
400-450 |
1.08 |
0.04 |
1.08 |
0.04 |
1.07 |
0.04 |
1.11 |
0.04 |
450-500 |
1.10 |
0.02 |
1.11 |
0.03 |
1.10 |
0.03 |
1.14 |
0.03 |
500-550 |
1.12 |
0.02 |
1.13 |
0.02 |
1.13 |
0.03 |
1.17 |
0.03 |
550-600 |
1.15 |
0.03 |
1.15 |
0.02 |
1.16 |
0.03 |
1.19 |
0.02 |
600-650 |
1.17 |
0.02 |
1.17 |
0.02 |
1.18 |
0.02 |
1.21 |
0.02 |
650-700 |
1.19 |
0.02 |
1.18 |
0.01 |
1.20 |
0.02 |
1.22 |
0.01 |
700-750 |
1.21 |
0.02 |
1.21 |
0.03 |
1.22 |
0.02 |
1.24 |
0.02 |
750-800 |
1.23 |
0.02 |
1.23 |
0.02 |
1.24 |
0.02 |
1.26 |
0.02 |
800-850 |
1.24 |
0.01 |
1.23 |
0 |
1.24 |
0 |
1.26 |
0 |
850-900 |
1.24 |
0 |
1.24 |
0.01 |
1.25 |
0.01 |
1.26 |
0 |
900-1000 |
1.25 |
0.01 |
1.24 |
0 |
1.25 |
0 |
1.26 |
0 |
斜道砖样在计划温度下的膨胀率表(%)(表二)
计划温度℃ |
砖号F008 |
砖号F093 |
砖号F173 |
|||
累计膨胀 |
间隔膨胀 |
累计膨胀 |
间隔膨胀 |
累计膨胀 |
间隔膨胀 |
|
20-50 |
0.04 |
0.04 |
0.04 |
0.04 |
0.04 |
0.04 |
50-75 |
0.10 |
0.06 |
0.10 |
0.06 |
0.09 |
0.05 |
75-100 |
0.18 |
0.08 |
0.18 |
0.08 |
0.18 |
0.09 |
100-125 |
0.35 |
0.17 |
0.35 |
0.17 |
0.34 |
0.16 |
125-150 |
0.47 |
0.12 |
0.46 |
0.11 |
0.45 |
0.11 |
150-175 |
0.57 |
0.10 |
0.55 |
0.09 |
0.55 |
0.10 |
175-200 |
0.67 |
0.10 |
0.65 |
0.10 |
0.65 |
0.10 |
200-225 |
0.83 |
0.16 |
0.78 |
0.13 |
0.81 |
0.16 |
225-250 |
0.89 |
0.06 |
0.84 |
0.06 |
0.87 |
0.06 |
250-275 |
0.93 |
0.04 |
0.87 |
0.03 |
0.91 |
0.04 |
275-300 |
0.96 |
0.03 |
0.90 |
0.03 |
0.94 |
0.03 |
300-350 |
1.02 |
0.06 |
0.96 |
0.06 |
0.99 |
0.05 |
350-400 |
1.07 |
0.05 |
1.01 |
0.05 |
1.04 |
0.05 |
400-450 |
1.11 |
0.04 |
1.05 |
0.04 |
1.08 |
0.04 |
450-500 |
1.14 |
0.03 |
1.08 |
0.03 |
1.11 |
0.03 |
500-550 |
1.16 |
0.02 |
1.10 |
0.02 |
1.14 |
0.03 |
550-600 |
1.19 |
0.03 |
1.13 |
0.03 |
1.17 |
0.03 |
600-650 |
1.21 |
0.02 |
1.15 |
0.02 |
1.19 |
0.02 |
650-700 |
1.23 |
0.02 |
1.17 |
0.02 |
1.21 |
0.02 |
700-750 |
1.24 |
0.01 |
1.19 |
0.02 |
1.23 |
0.02 |
750-800 |
1.25 |
0.01 |
1.20 |
0.01 |
1.25 |
0.02 |
800-900 |
1.26 |
0.01 |
1.21 |
0.01 |
1.25 |
0 |
900-1000 |
1.26 |
0 |
1.22 |
0.01 |
1.26 |
0.01 |
蓄热室砖样在计划温度下的膨胀率表(%)(表三)
计划温度℃ |
砖号E008 |
砖号E010 |
砖号E013 |
|||
累计膨胀 |
间隔膨胀 |
累计膨胀 |
间隔膨胀 |
累计膨胀 |
间隔膨胀 |
|
25-50 |
0.03 |
0.03 |
0.04 |
0.04 |
0.03 |
0.03 |
50-75 |
0.09 |
0.06 |
0.09 |
0.05 |
0.09 |
0.06 |
75-95 |
0.148 |
0.058 |
0.17 |
0.08 |
0.16 |
0.07 |
95-110 |
0.22 |
0.072 |
0.22 |
0.05 |
0.22 |
0.06 |
110-125 |
0.34 |
0.12 |
0.32 |
0.10 |
0.33 |
0.11 |
125-150 |
0.45 |
0.11 |
0.42 |
0.10 |
0.44 |
0.11 |
150-165 |
0.508 |
0.058 |
0.48 |
0.06 |
0.50 |
0.06 |
165-180 |
0.556 |
0.048 |
0.52 |
0.04 |
0.54 |
0.04 |
180-200 |
0.63 |
0.074 |
0.64 |
0.12 |
0.64 |
0.10 |
200-215 |
0.70 |
0.07 |
0.72 |
0.08 |
0.73 |
0.09 |
215-225 |
0.77 |
0.07 |
0.81 |
0.09 |
0.80 |
0.07 |
225-250 |
0.85 |
0.08 |
0.88 |
0.07 |
0.89 |
0.09 |
250-265 |
0.875 |
0.025 |
0.887 |
0.007 |
0.90 |
0.01 |
265-275 |
0.88 |
0.005 |
0.91 |
0.023 |
0.93 |
0.03 |
275-285 |
0.90 |
0.02 |
0.92 |
0.01 |
0.94 |
0.01 |
285-300 |
0.91 |
0.01 |
0.94 |
0.02 |
0.96 |
0.02 |
300-325 |
0.95 |
0.04 |
0.96 |
0.02 |
0.99 |
0.03 |
325-350 |
0.97 |
0.02 |
0.99 |
0.03 |
1.01 |
0.02 |
350-400 |
1.01 |
0.04 |
1.04 |
0.05 |
1.06 |
0.05 |
400-450 |
1.05 |
0.04 |
1.08 |
0.04 |
1.10 |
0.04 |
3.5 烘炉天数计算与确定.
烘炉天数计算与确定表(表四)
各区间计划温度 |
各区间最大间隔膨胀率 |
最大间隔膨胀率 |
计算天数 |
采用天数 |
累计天数 |
||||
燃烧室 |
斜道 |
蓄热室 |
燃烧室 |
斜道 |
蓄热室 |
||||
20-100 |
20-75 |
25-50 |
0.09 |
0.09 |
0.04 |
0.09 |
3.6 |
15 |
15 |
100-125 |
75-100 |
50-75 |
0.18 |
0.08 |
0.09 |
0.18 |
7.2 |
7 |
22 |
125-150 |
100-125 |
75-95 |
0.12 |
0.17 |
0.08 |
0.17 |
6.8 |
7 |
29 |
150-175 |
125-150 |
95-110 |
0.11 |
0.12 |
0.072 |
0.12 |
4.8 |
5 |
34 |
175-200 |
150-175 |
110-125 |
0.11 |
0.10 |
0.12 |
0.12 |
4.8 |
5 |
39 |
200-225 |
175-200 |
125-150 |
0.15 |
0.10 |
0.11 |
0.15 |
6 |
6 |
45 |
225-250 |
200-225 |
150-165 |
0.09 |
0.16 |
0.06 |
0.16 |
6.4 |
6 |
51 |
250-275 |
225-250 |
165-180 |
0.04 |
0.06 |
0.048 |
0.06 |
2.4 |
3 |
54 |
275-300 |
250-275 |
180-200 |
0.03 |
0.04 |
0.12 |
0.12 |
4.8 |
4 |
58 |
300-350 |
275-300 |
200-215 |
0.06 |
0.03 |
0.09 |
0.09 |
3 |
3 |
61 |
350-400 |
300-350 |
215-225 |
0.05 |
0.06 |
0.09 |
0.09 |
3 |
3 |
64 |
400-450 |
350-400 |
225-250 |
0.04 |
0.05 |
0.09 |
0.09 |
3 |
3 |
67 |
450-500 |
400-450 |
250-265 |
0.03 |
0.04 |
0.025 |
0.04 |
1.3 |
2 |
69 |
500-550 |
450-500 |
265-275 |
0.03 |
0.03 |
0.03 |
0.03 |
1 |
1 |
70 |
550-600 |
500-550 |
275-285 |
0.03 |
0.03 |
0.02 |
0.03 |
1 |
1 |
71 |
600-650 |
550-600 |
285-300 |
0.02 |
0.03 |
0.02 |
0.03 |
1 |
1 |
72 |
650-700 |
600-650 |
300-325 |
0.02 |
0.02 |
0.04 |
0.04 |
1.3 |
1 |
73 |
700-800 |
650-700 |
325-350 |
0.03 |
0.02 |
0.03 |
0.03 |
1 |
0.5 |
73.5 |
800-900 |
700-750 |
350-400 |
0.01 |
0.02 |
0.05 |
0.05 |
1.6 |
0.5 |
74 |
900-1000 |
750-800 |
400-450 |
0.01 |
0.02 |
0.04 |
0.04 |
1.3 |
0.5 |
74.5 |
3.6升温计划表(表五)
天数 |
温度℃ |
日升温℃ |
天数 |
温度℃ |
日升温℃ |
天数 |
温度℃ |
日升温℃ |
1 |
25 |
5 |
27 |
142 |
4 |
53 |
266 |
9 |
2 |
30 |
6 |
28 |
146 |
4 |
54 |
275 |
6 |
3 |
36 |
6 |
29 |
150 |
5 |
55 |
281 |
6 |
4 |
42 |
6 |
30 |
155 |
5 |
56 |
287 |
6 |
5 |
48 |
6 |
31 |
160 |
5 |
57 |
293 |
7 |
6 |
54 |
5 |
32 |
165 |
5 |
58 |
300 |
16 |
7 |
59 |
5 |
33 |
170 |
5 |
59 |
316 |
17 |
8 |
64 |
5 |
34 |
175 |
5 |
60 |
333 |
17 |
9 |
69 |
5 |
35 |
180 |
5 |
61 |
350 |
17 |
10 |
74 |
5 |
36 |
185 |
5 |
62 |
367 |
17 |
11 |
79 |
5 |
37 |
190 |
5 |
63 |
384 |
16 |
12 |
84 |
6 |
38 |
195 |
5 |
64 |
400 |
16 |
13 |
90 |
5 |
39 |
200 |
4 |
65 |
416 |
17 |
14 |
95 |
5 |
40 |
204 |
4 |
66 |
433 |
17 |
15 |
100 |
4 |
41 |
208 |
4 |
67 |
450 |
25 |
16 |
104 |
4 |
42 |
212 |
4 |
68 |
475 |
25 |
17 |
108 |
3 |
43 |
216 |
4 |
69 |
500 |
50 |
18 |
111 |
3 |
44 |
220 |
5 |
70 |
550 |
50 |
19 |
114 |
3 |
45 |
225 |
4 |
71 |
600 |
50 |
20 |
117 |
4 |
46 |
229 |
4 |
72 |
650 |
50 |
21 |
121 |
4 |
47 |
233 |
4 |
73 |
700 |
200 |
22 |
125 |
3 |
48 |
237 |
4 |
74 |
900 |
100 |
23 |
128 |
3 |
49 |
241 |
4 |
74.5 |
1000 |
|
24 |
131 |
3 |
50 |
245 |
5 |
|||
25 |
134 |
4 |
51 |
250 |
8 |
|||
26 |
138 |
4 |
52 |
258 |
8 |
3.7 烘炉升温曲线
第四章 焦炉烘炉前必须完成的主要工作项目
护炉设备
1 炉柱、弹簧
(1) 安装就位并调整完毕。
(2) 编号牌就位。
(3) 蓄热室小炉柱安装就位。
(4) 各组弹簧按编组表安装就位,并按规定负荷调整到位。(见第八章弹簧负荷管理表)
(5) 检查蓄热室小保护板与钢柱点焊处是否断开(小弹簧加压前)。
(6) 检查保护板与炉柱是否接触良好。
2 纵、横拉条
纵、横拉条安装就位,并调整到规定高度,两端丝扣加油。
3保护板、炉框
(1)保护板就位调整完毕。
(2)测量保护板与顶丝间距离。
(3)保护板顶灌浆孔上铺设保护层。
(4)炉门框就位调整完毕。
(5)保护板与炉体间(肩部)缝隙用专用泥浆密封。
(6)磨板就位。
4 炉门
(1)主体调整完毕。
(2)安装前烘炉火床砌筑完毕。
(3)调整刀边及炉门上下门闩。
(4) 吊装炉门就位。
(5)拆下烘炉孔盲板保存好,安装好燃烧器。
(6)烘炉前将上下门闩油杯注满黄油。
(7)机焦侧平台施工完毕,拦焦机轨道已安装。
5 废气导出系统
(1)烟囱和总、分烟道施工完毕。
(2)分烟道、总烟道翻板安装就位。调试验收合格。
(3)检查总烟道自流排水沟畅通。
(4)将烟道内的膨胀缝、沉降缝清理干净。
(5)机、焦侧分烟道翻板上方土建处理结束,检查后交安装。
(6)烟道内所有杂物、积水清理干净。
(7)烟道内所有测温、测压点仪器埋设部分安装就位。
(9)烘炉临时用测温、测压点配置就位。
(9)轴承注满黄油,翻板动作灵活,开关核对刻印。
(10)废气开闭器,按设计安装就位。
(11)小烟道承插部位临时用散石棉绳密封。
(12)废气开闭器与烟道弯管间置入石棉绳。
(13) 废气杆提起高度为300㎜(木支撑30×30,L=150㎜)。
(14)箅子砖正面测温孔置入塞子砖临时固定。
(15)废气开闭器翻板按规定的开度固定好。
6 炉顶部分
(1)集气管主体安装就位。
(2)桥管水封阀安装就位。
(3)上升管安装就位,上升管底部密封用橡胶石棉板就位。
(4)所有炉盖均用废火泥密封(烘炉前10天)。
(5)炉顶表面清理干净(烘炉前10天)。
(6)看火孔盖涂抹黄油(烘炉前10天)。
(7)燃烧室干砌临时小炉头
7 烘炉设备设施
(1)烘炉天然气管道安装完毕(盲板、清扫口、测压管、水封桶,冷凝液排放管等就位)。
(2)拆下烘炉孔盲板保存好,安装好燃烧器。
(3) 支管上所有小孔板均按点火要求安装就位。
(4) 烘炉天然气管道系统试压合格,各种测量仪表安装完毕。
(5) 烘炉火床砌筑完毕。
(6) 两端墙烘炉燃烧器、炉顶烟囱砌筑完毕。
(7) 烘炉用材料和工具准备齐全。
(8) 烘炉用劳动防护用品备齐。
(9) 烘炉用台账、表格准备齐全。
(10) 烘炉用升温膨胀曲线绘制、烘炉计划编制完成。
8 外部条件
焦炉烘炉用电具备外部供应条件,照明符合要求。
第五章 烘炉点火前的准备工作
(1)在烘炉的前十五天,对烟囱进行点火烘烤.前五天点火烘分烟道。
(2)当总烟道吸力达到120Pa以上时,方可点火烘炉。
(3)点火烘炉前将废气盘的进风口用石棉板盖严,废气翻板全部开到中间位置,废气砣用木支撑支起。(石棉板盖不平,且容易破损!应将风门盖板卸掉一处销轴,使风门盖板盖严!)
(4)全部烘炉口一次、二次进风口全部打开。
(5)小灶点火时,机、焦侧逆向进行,机侧点单数,焦侧点双数.当炉温升至70-80℃左右时,将其余小灶点燃,两天后抵抗墙小灶点燃。
(6)燃烧室、炭化室、蓄热室编号完毕(调火组)。(烘炉期间建议将调火,热修.铁件编为一组为宜)
(7)炉长、炉高、曲度、弹簧等测点冷态标记(铁件)。
(8)炉端墙30mm膨胀缝作测点标记(铁件)。
(9)抵抗墙垂直度作测点标记.(调火)。
(10)作好抵抗墙倾斜测点标记 (调火)。
(11)测量冷态炉柱和保护板间隙并作好测点标记(铁件)。
(12)弹簧负荷调至预定数值(铁件)。
(13)测线架挂线标记全部完成(铁件)。
(14)炉长、炉柱曲度冷态测量完成(铁件)。
(15)炉高冷态测量及其它冷态测量完成 (调火)。
(16)压保护板顶丝调至全部一致,即距离保护板间隙为20mm (铁件)。
(17)炉柱地脚螺栓松放用手拧紧的状态(铁件)。
(18)与炉体膨胀有关的金属结构、管道应断开(烘炉膨胀结束后再连接)(机电)。
(19)掌握弹簧负荷与高度对照表(铁件)。
(20)纵横拉条提起高度核准(按设计),纵横拉条负荷到位(铁件)。
(21)横拉条可调丝扣长度核准(铁件)。
(22)作好各种滑动标记、操作台四角、操作台与支柱、炉柱底、废气盘插口处(调火)。
(23)交换开闭器废气砣用已准备好的木支撑支起(调火)。
(24)交换开闭器进风口橡胶石棉板已安装完毕(调火)。
(25)废气翻板全部开到中间位置,全开的标记要明显(调火)。
(26)搞好烘炉操作技术培训以及安全教育(指挥部)。
(27)工具表格全部准备齐全(指挥部)。
第六章 焦炉烘炉组织体系与人员配置
1 、烘炉组织体系
1.1 烘炉组下设技术组、测温组、铁件组、调火组、热修组、电气仪表人员及统计人员等。
1.2 各项规章制度、岗位规程按实际情况编制完毕,经审批后方可供实施。
2、烘炉人员配置及上岗要求。
2.1 岗位人员配置齐全。
2.2 岗位人员必须经过岗前技术和安全培训,能正确、熟练、独立地操作。经考核取得上岗操作证后方可上岗。
3、 烘炉人员组织
4、用人计划表
烘炉用人计划表(表六)
序号 |
岗 位 |
白班人数 |
倒班人数 |
合 计 |
1 |
烘炉总负责人 |
l |
1 |
|
2 |
技术组 |
1 |
3X1=3 |
4 |
3 |
热修组 |
6 |
6 |
|
4 |
铁件组 |
8 |
8 |
|
5 |
烧调火组(包括废气取样) |
3×6=18 |
18 |
|
6 |
测温组 |
|||
测温工 |
3×10=30 |
30 |
||
7 |
电气仪表(含电工) |
3×1=3 |
3 |
|
8 |
统计员 |
1 |
1 |
|
合 计 |
17 |
54 |
71 |
第七章 烘炉点火
7.1烘烟囱操作
烘烟囱的目的是赶走烟囱砌体中的水分,使其产生一定的吸力,以作为炭化室点火烘炉初期气体流动的动力。在炭化室点火前15天点火。
(1)烟囱点火前总烟道、机焦侧分烟道翻板全关并固定。
(2)废气开闭器翻板全关并固定。
(3)废气开闭器进风口全部盖上。
(4)废气砣全部落下。
(5)炉体全部点火后烟囱吸力达到150Pa以上时,停止烘烟囱。
7.2烘分烟道操作
(1)烟囱吸力达到150Pa时,开始烘分烟道。
(2)点燃分烟道前,将总烟道翻板,分烟道翻板打开。
(3)分烟道吸力达到80Pa时才具备炭化室烘炉点火条件。
7.3炭化室点火
分烟道吸力达到80-100Pa时,进行炭化室小灶点火。
操作步骤:
(1)点火前放置燃烧器孔板。
(2)确认点火前烘炉配管机、焦侧的压力。
(3)确定废气开闭器翻板开度,全炉沿纵方向按要求分段开度.开度分别为:根据据烟囱远近,端台全开,10个为一组,逐组向间台递减一格。
(4)将废气砣全部用准备好的木支撑支起并用铁丝捆绑固定,高度一致。
(5)烘炉初期进风口全开,开度一致,随着炉温升高逐渐关小。
(6)点火时先将点火用的燃烧器(火源)插入到炭化室内部燃烧器的端部,然后再开烘炉用的燃烧器的天然气阀点火,先点火后开天然气。
(7)从炉子机侧一端的双数(或单数)炭化室、焦侧的单数(或双数)炭化室开始点火,同时将已点火和未点火的小炉灶一、二次进风口全部打开。
(8)点火过程中,保持800Pa烘炉天然气管道压力.点火结束后,用天然气压力调节阀将压力调节至规定值。
(9)全炉温升到70-80℃时,将其余炭化室全部点火。
(10)全炉点火2-3天后,将焦炉四角抵抗墙烘炉小灶点火。注意炉端墙小炉灶的燃烧情况,其温度应略低于炉端燃烧室的温度。
第八章 烘炉管理
一. 烘炉技术要求
1.管理火道计划升温允许波动范围(表七)
温度范围(℃) |
允许波动(℃) |
0-250 |
±1 |
250-400 |
±2 |
400-600 |
±3 |
>600 |
±5 |
在温度较低的阶段,要求炉温波动小,随着炉温的升高,其炉温波动允许值逐步增大。
2.焦炉上下温度比例
蓄热室温度在烘炉初期要求达到燃烧室温度的90℅-95℅,在烘炉末期达到燃烧室温度的80℅-85℅。
小烟道温度在烘炉初期要求达到燃烧室温度的50℅-55℅(太低!)。在烘炉末期要求达到燃烧室温度的35℅-45℅(不相匹配!)。至正常加热前,小烟道温度必须小于450℃。
二. 烘炉温度及吸力管理
1. 温度管理
1.1:升温管理要求:
(1) 升温必须严格按计划进行,同时还必须加强与膨胀管理人员的联系,以检查温度与膨胀的对应性。
(2) 升温偏离计划后,严禁急剧追赶计划,应慢慢的接近计划值。
(3) 若升温超过计划,应保温到符合计划温度的日期,绝不允许采用降温的方式。
(4) 对火道温度的管理应力求做到直行温度均匀。
(5) 注意刮风下雨等天气对升温造成的影响。
(6) 除更换孔板外燃烧器不得停电.停气。
(7) 遇全面停火时,必须采取保温措施,并尽快恢复加热。
<1> 直行温度
影响因素:小孔板堵塞、支管积水、吸力异常、风向变化、温度测量不准确、孔板尺寸错误等,要针对具体原因进行调节。
<2> 横墙温度:
此温度一般不能调节,边火道温度最低,烘炉孔附近温度较高,出现个别温度低时应考虑如下因素:
炉门刀边是否密封、吸力过大、炉顶严密情况、小炉头及保护板密封情况、火道调节砖等情况.
<3>边燃烧室温度:
边燃烧室温度因散热较多,供热也较多,另外边燃烧室受抵抗墙温度的影响较大, 边燃烧室温度偏高可以调节天然气供给量。
<4> 蓄热室、箅子砖、小烟道温度
温度偏低时应检查炉体各部位的密封情况,在不同烘炉阶段调整焦炉上下温度比例.调节方法一般是:调节烟道吸力、调节废气盘翻板,调节风门等。
<5> 抵抗墙温度
调节方法:更换孔板、调节风门、调节小烟囱高度
2 吸力控制:
<1> 空气量的调节方法是增减吸力、调节风门开度。
<2>烟道吸力的大小直接影响空气量的供给,从而影响炉温的变化,在烘炉过程中,烟道的吸力应保持相对稳定,并视炉温分布稍作调整,正确控制炉体上下部的温度分配比例。
<3> 增加天然气流量,烟道吸力相应调节。
<4> 干燥期直至150℃阶段采用大吸力烘炉,以利于砌体有效脱水。
<5> 炉温达180~200℃时,烟道吸力需进行调整,使看火孔转为正压。
<6> 烘炉末期要控制α值偏小,以免小烟道出现高温。
3 天然气压力、流量的调节
<1> 调节烘炉配管的天然气压力是烘炉的关键。
<2> 天然气压力的调节由压力调节执行机构控制。
<3>原则上燃烧器的阀门全开,天然气流量用天然气压力进行细调。
<4> 机焦侧火道温度由机焦侧分烟道吸力调节。
<5> 每小时记录天然气压力,随时观察压力变化,如有异常必须及时向负责人报告。
三 烘炉中的各种测定工作
温度测定、压力测定和废气分析的内容、测点、频度等见下表
烘炉期间温度监测项目表(表八)
序号 |
监测项目 |
工具 |
监测点 |
监测位置 |
监测频度 |
说明 |
1
|
直行温度 |
热电偶、光学高温计 |
全炉第8、25火道 |
距炉顶面2米 |
每2小时测一次 |
检查控制全炉温度的均匀性 |
2 |
管理火道温度 |
热电偶、光学高温计 |
1、2、6、11、16、21、26、31、36、41、46、51、56、61、65.66号燃烧室的1、3、8、13、20、25、30、32火道 |
距炉顶面2米 |
每2小时监测一次 |
用作升温控制 |
3 |
横墙温度 |
热电偶 |
33、34号燃烧室的所有火道 |
距炉顶面2米 |
每2小时监测一次 |
检查焦炉横向温度 |
4 |
蓄热室顶部温度 |
热电偶 |
1、2、6、11、16、21、26、31、36、41、46、51、56、61.65.66号蓄热室的机焦俩侧 |
距封墙表面1.5米(蓄热室测温孔) |
每2小时监测一次 |
检查焦炉高向温度分布 |
5 |
篦子砖温度 |
热电偶 |
1、2、6、11、16、21、26、31、36、41、46、51、56、61.65.66号蓄热室的机焦俩侧 |
距封墙表面1.5米(蓄热室测温孔) |
每2小时监测一次 |
检查焦炉高向温度分布 |
6 |
小烟道温度 |
500℃温度计 |
1、2、6、11、16、21、26、31、36、41、46、51、56、61.65.66号蓄热室的机焦两侧 |
小烟道两叉部 |
每2小时监测一次 |
|
7 |
总、分烟道温度 |
500℃温度计 |
总、分烟道测温孔 |
烟道中心附近 |
每2小时测一次 |
检查焦炉温度分布 |
8 |
抵抗墙温度 |
500℃温度计 |
抵抗墙顶部测温孔 |
距炉顶面1.5~2米 |
每2小时测一次 |
检查焦炉温度分布 |
9 |
大气温度 |
玻璃温度计 |
不受炉温及阳光辐射影响的地方 |
烘炉期间压力监测项目表(表九)
监测项目 |
所用仪表 |
监测地点 |
监测次数 |
说明 |
总、分烟道吸力 |
U型压力计 |
总、分烟道测压点 |
每2小时测一次 |
保持规定值 |
天然气压力 |
U型压力计 |
总管及机、焦侧测点 |
连续 |
四 炉体膨胀与护炉铁件的测量、调节
膨胀测定各项目的原始点和尺寸必须准备完毕.测线架应在点火前两周完成。
工作要点 :
1 炉高膨胀:按标准号燃烧室的机、中、焦看火孔砖打测点标记,点火前由测量队测定作为炉高值。
2 炉长膨胀测量: 其一线在上横铁处.二线在下横铁处.三线在箆子砖处。
3 炉柱曲度:采用三线法进行测量。
计算公式如下:
A=a-c+(b-a)e/E
式中, A———炉柱曲度 毫米
a———上部钢丝线至炉柱正面的距离 毫米
b———下部钢丝线至炉柱正面的距离 毫米
c———中部钢丝线至炉柱正面的距离 毫米
e———上、中部钢丝线间的距离 毫米
E———上、下部钢丝线间的距离 毫米
4 保护板垂直度:采用二线法进行测量.
5 操作平台支柱垂直度:在支柱上部、下部打上油漆标记,用托盘和线垂测定(上部为固定距离)。
6 操作平台、蓄热室走台及炉柱底部和废气开闭器两叉部的滑动的测定方法:在冷态时,先打好测定标记,测定预留距离的尺寸,烘炉中测定的距离与冷态时的差值,即是他们的滑动量。
7 抵抗墙垂直度:冷态作好测点标记,测定冷态原始数据,升温后按标记测量。
8 炉长的测量工具采用钢板尺.为防止钢板尺的弯曲而影响测量精度,可将钢板尺固定在木棒上.炉长测量时,读数统一规定在钢线的外侧。
9 膨胀测量.弹簧测量与调节作业的工作内容、测点、频度见下表
护炉设备及炉体膨胀监测项目表(表十)
监测项目 |
监测位置 |
监测时间及频度 |
说明 |
炉柱曲度 |
上横铁.下横铁; 蓖子砖 |
炉温700℃前每两天测一次,700℃后酌减 |
用三线法测定 |
炉长测量 |
上横铁、下横铁;蓖子砖 |
炉温700℃前每两天测一次,700℃后酌减 |
用三线法测定 |
大弹簧负荷 |
按固定测点进行测量 |
每天测一次并调节 |
测量用临时走台拆除后减少测量次数 |
纵拉条弹簧负荷 |
按固定测点进行测量 |
每周一次 |
|
小弹簧负荷 |
按固定测点进行测量 |
点火前及125、200、300、500、700℃时测量并调节一次 |
|
顶丝调节及炉门炉框(保护板)上移检查 |
炉框底部缝隙 |
顶丝与炉框接后每天调整一次 |
如何控制? 如何放松? |
纵拉条托架松放 |
每100℃测调一次 |
根据高向膨胀情况调节 |
|
机焦侧走台支柱垂直度及滑动情况检查 |
支柱相对滑动点标记处 |
每100℃测定一次 |
滑动良好时可不测垂直度 |
抵抗墙垂直度测量 |
抵抗墙外侧测点固定并标记 |
每100℃测定一次 |
使用托盘及线垂 |
抵抗墙顶部外移测量 |
每100℃测定一次 |
||
炉高测量 |
炉顶看火孔座砖(机,机中、中、焦中,焦) |
每100℃测定一次 |
1、2、6、11、16、21、26、31、36、41、46、51、56、61.65.66燃烧室取测点 |
工程师必备
- 项目客服
- 培训客服
- 平台客服
TOP




















