什么是快速接头?它如何提高软管的安全性?
2022年8月2日 11:27按照所连接管路的形式,管接头分为硬管接头、软管接头、快速管接头和旋转管接头。
液压快速接头是为液压系统中负载而设计的,一般液压快速接头原材料为碳钢镀锌。生产定制快速接头,通常根据工作需求,在接头公头与母头及锁套都会进行二次热处理,从而保证快速接头使用寿命。
液压快速接头内部阀由接头体、单向阀阀芯、锁套、钢球、弹簧和快速接头密封件组成,分为两端开闭式液压接头和两端开放式快速接头。关注公众号“液压说”,获取更多液压知识。
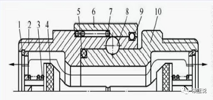
1挡圈,2、10接头体,3弹簧,4单向阀阀芯,5O形圈,6外套,7弹簧,8钢球,9弹簧圈
两端开闭式快速接头结构图
母接头剖面图
快速接头体内采用钢球锁紧,工作时锁套在弹簧的作用下,把钢球压在接头体的凹形槽里,从而保证对接体对接后的牢固性。
2.两端开放式液压快速接头工作原理
与两端开闭式液压快速接头工作原理的区别,在于接头体内没有单向阀。当两个接头体分开时不能封闭通路,接头的两端分别与胶管相连,胶管接头的接头芯直接插入快速接头内。关注公众号“液压说”,获取更多液压知识。
快速接头是为特别的重负载设计的,可以确保液压软管的安全性。在极高压液压应用中,泄漏或意外断开会导致严重的人身伤害或机器损坏。快速接头通常具有单向套筒,以便在安装夹式联轴器时使用工具分离。双向套筒允许单手断开。在双向设计中,扭转和拉动两端会断开连接。
单向快速接头
双向快速接头
最常见的设计之一是平面设计,有推入式、螺纹式或旋入式。它们消除了流体可以停留的任何空腔,从而消除了被困压力和泄漏的机会。平面接头提供高流量和低压降,其套筒锁定功能减少了意外连接的机会,消除了泄漏的风险。
牢记安全设计请记住:选择软管接头组件时,最低额定组件是实际安全系数。因此,如果您有一个额定压力为 5000 psi 的软管但有一个 4000 psi 的接头,则组件的安全系数为 4000 psi。关注公众号“液压说”,获取更多液压知识。
高压液压系统存在喷油伤害的危险,因此液压高压快速接头需要的不仅仅是普通的密封,使用的压力越高,所需要的密封就越牢固,根据情况选择密封效能更好的密封件,如橡胶金属密封件、铜密封件或全金属密封件。
正确选用快速接头的方法:
1.根据流体的种类和温度确定接头的材质。流体的种类和温度对接头的使用质量有很大影响,因此在选用时要因地制宜。如果流体是液体,可选用黄铜的或者不锈钢材质的快速接头。
3.安装的形状、尺寸。确定快速接头的型号,并指定相应于配管特性的装配形状及尺寸。
4、确认选择的快速接头连接螺纹要一致。在有不同品牌产品的使用过程中,最好是同一品牌的阴头和阳头配合使用,如果一定要交叉使用,最好使用前咨询产品供应方的技术人员,确认好之后再使用。
工程师必备
- 项目客服
- 培训客服
- 平台客服
TOP




















